Студопедия

КАТЕГОРИИ:


Архитектура-(3434)Астрономия-(809)Биология-(7483)Биотехнологии-(1457)Военное дело-(14632)Высокие технологии-(1363)География-(913)Геология-(1438)Государство-(451)Демография-(1065)Дом-(47672)Журналистика и СМИ-(912)Изобретательство-(14524)Иностранные языки-(4268)Информатика-(17799)Искусство-(1338)История-(13644)Компьютеры-(11121)Косметика-(55)Кулинария-(373)Культура-(8427)Лингвистика-(374)Литература-(1642)Маркетинг-(23702)Математика-(16968)Машиностроение-(1700)Медицина-(12668)Менеджмент-(24684)Механика-(15423)Науковедение-(506)Образование-(11852)Охрана труда-(3308)Педагогика-(5571)Полиграфия-(1312)Политика-(7869)Право-(5454)Приборостроение-(1369)Программирование-(2801)Производство-(97182)Промышленность-(8706)Психология-(18388)Религия-(3217)Связь-(10668)Сельское хозяйство-(299)Социология-(6455)Спорт-(42831)Строительство-(4793)Торговля-(5050)Транспорт-(2929)Туризм-(1568)Физика-(3942)Философия-(17015)Финансы-(26596)Химия-(22929)Экология-(12095)Экономика-(9961)Электроника-(8441)Электротехника-(4623)Энергетика-(12629)Юриспруденция-(1492)Ядерная техника-(1748)

Ремонт креплений труб и змеевиков




Длинные элементы поверхностей нагрева современных котлов закрепляют за неподвижные детали каркаса котла или за специальные крепежные детали, которые перемещаются вместе струбами при их тепловом удлинении. И в том, и в другом случае крепления не должны препятствовать тепловым перемещениям труб.

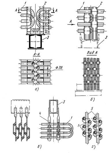
Типовые крепления экранных труб показаны на рис. 6.16, а–г. Трубы закрепляют в двух-трех местах по высоте, предохраняя их от прогиба в сторону топки, но не препятствуя тепловым перемеще­ниям в вертикальном направлении.

Повреждения креплений экранных труб происходят главным образом при нарушениях нормальных режимов эксплуатации котла и выражаются в обрыве или короблении элементов креплений. Увеличенный прогиб труб в сторону топки свидетельствует об об­рыве креплений.

Чтобы отремонтировать крепления, снимают обшивку, разбира­ют обмуровку и восстанавливают или заменяют изношенные дета­ли. Одновременно с ремонтом и регулировкой креплений рихтуют трубы, добиваясь их правильного положения. Прогибы труб в сто­рону топки способствуют отложе­нию шлака на стенах и снижают надежность работы котла из-за повреждений покоробленных труб струей пара из обдувочных аппаратов.

Рис. 2.16. Крепление экранных труб:

а – кбалке каркаса котла, б, в – к горизонтальной балке, перемещающейся вместе с тру­бами, г – к балке каркаса с обеспечением некоторой свободы для перемещения труб относительно друг друга (треугольником указаны места сварки);

1 – тяга, 2, 6 – балки каркаса, 3 – скоба, 4 – экранные трубы, 5 – планка, приваренная к экранным трубам

При ремонте и замене крепле­ний экранных труб обеспечивают свободу для их температурных удлинений. Вырезы в скобах 3 должны быть определенной дли­ны. Скобы приваривают к трубам так, чтобы обеспечить возмож­ность перемещения скоб относи­тельно тяг 1 без их изгибания.

Типовые крепления элементов пароперегревателя изображены на рис. 2.17, а – е. Условия работы деталей этих креплений значи­тельно тяжелее, чем креплений экранных труб, так как послед­ние защищаются от воздействия высокой температуры топочных газов самими экранными труба­ми, а крепления пароперегрева­телей находятся в среде газов. Крепления радиационной части пароперегревателя, состоящей из отдельных трубных панелей, расположенных на стенах топки, вы­полняют по типу креплений экранных труб. Крепления потолочных труб, ширм и змеевиков пароперегревателя также не препятствуют их свободному тепловому удлинению.

Детали подвесок и креплений пароперегревателя изготовляют из жаропрочных сталей. Тяжелые условия работы этих деталей и необходимость их частой замены обусловили появление конструк­ций ширм, в которых подвески и крепления выполняются в виде охлаждаемых паром труб.

Рис. 2.17. Крепление вертикальной (а), горизонтальной (б) и пото­лочных труб (в)пароперегрева­теля (треугольником указаны места сварки):

1 – обвязочная труба, 2, 3 – детали крепления труб ширм

Пароперегреватели имеют не только подвески и крепления, соз­дающие жесткость, но и дистанционирующие устройства. Для кон­вективных пароперегревателей они изготовляются из жаропрочных сталей или чугуна, имеют вид гребенок, надеваемых на нижние петли труб нескольких соседних змеевиков, и предназначены для того, чтобы змеевики находились на определенном расстоянии друг от друга. Уменьшение расстояния между змеевиками вызывает быстрое шлакование и изменение условий их омывания топочными газами, что значительно снижает надежность работы.

Ремонт подвесок, креплений и дистанционирующих устройств пароперегревателей заключается в их проверке и замене поломан­ных и сгоревших деталей. Одновременно регулировкой длины под­весок и установкой дистанционирующих деталей выравнивают змеевики.

Змеевики водяных экономайзеров крепят на стойках различных конструкций, а также на подвесках из труб. Стойки 2 и под­вески 4 (рис. 2.18, а – в)присоединяют к горизонтальным опорным балкам 3, охлаждаемым воздухом, или к находящимся в газоходе сборным камерам водяного экономайзера. Крепежные детали эконо­майзера работают в тяжелых условиях, поэтому его змеевики подвешивают на охлаждаемых водой трубах (рис. 2.18, г).


 

 

Рис. 2.18. Крепление змеевиков водяных экономайзеров на стойках из уголков (а), штампованных полос (б), на подвесках из полос (в) и труб (г):

1 – труба змеевика,

2 – стойка, 3 – опорная балка, 4, 5 – подвески из полос и труб.


Восстановление и замену поврежденных стоек и подвесок эко­номайзера выполняют после демонтажа змеевиков. Во время ре­монта котла без замены змеевиков все стойки и подвески тщатель­но проверяют. Выявленные разрывы по сварке, отрывы от балок и коробления устраняют, чтобы не допустить больших повреждений, требующих демонтажа экономайзера.




Поделиться с друзьями:


Дата добавления: 2014-11-16; Просмотров: 2079; Нарушение авторских прав?; Мы поможем в написании вашей работы!


Нам важно ваше мнение! Был ли полезен опубликованный материал? Да | Нет



studopedia.su - Студопедия (2013 - 2025) год. Все материалы представленные на сайте исключительно с целью ознакомления читателями и не преследуют коммерческих целей или нарушение авторских прав! Последнее добавление




Генерация страницы за: 0.007 сек.