Студопедия

КАТЕГОРИИ:


Архитектура-(3434)Астрономия-(809)Биология-(7483)Биотехнологии-(1457)Военное дело-(14632)Высокие технологии-(1363)География-(913)Геология-(1438)Государство-(451)Демография-(1065)Дом-(47672)Журналистика и СМИ-(912)Изобретательство-(14524)Иностранные языки-(4268)Информатика-(17799)Искусство-(1338)История-(13644)Компьютеры-(11121)Косметика-(55)Кулинария-(373)Культура-(8427)Лингвистика-(374)Литература-(1642)Маркетинг-(23702)Математика-(16968)Машиностроение-(1700)Медицина-(12668)Менеджмент-(24684)Механика-(15423)Науковедение-(506)Образование-(11852)Охрана труда-(3308)Педагогика-(5571)Полиграфия-(1312)Политика-(7869)Право-(5454)Приборостроение-(1369)Программирование-(2801)Производство-(97182)Промышленность-(8706)Психология-(18388)Религия-(3217)Связь-(10668)Сельское хозяйство-(299)Социология-(6455)Спорт-(42831)Строительство-(4793)Торговля-(5050)Транспорт-(2929)Туризм-(1568)Физика-(3942)Философия-(17015)Финансы-(26596)Химия-(22929)Экология-(12095)Экономика-(9961)Электроника-(8441)Электротехника-(4623)Энергетика-(12629)Юриспруденция-(1492)Ядерная техника-(1748)

Н-1 н-6 н-4 Н-2 н-7




 

Рис. 6. Схема установки термического крекинга:

П-1 – печь тяжелого сырья, П-2 – печь легкого сырья, К-1 – выносная реакционная камера, К-2 – испаритель высокого давления, К-3 – ректификационная колонна, К-4 – испаритель низкого давления, К-5 – стабилизатор, ХК-1-3 – конденсаторы-холодильники, Т-1-Т-3 – теплообменники, Т-2 – кипятильник, Е-1 - Е-3 – рефлюксные емкости, Н-1-Н-7 – насосы;

I – сырье, II – газ, III – головка стабилизации, IV – стабильный бензин, V – керосино-газойлевая фракция, VI – крекинг-остаток

 

Тяжелое исходное сырье подается в коксовую печь и нагревается до высоких температур при низком давлении с целью предотвращения преждевременного коксования в трубах нагревателя, производя частичное выпаривание и мягкий крекинг. Смесь жидкости/пара откачивается из нагревателя к одному или большему числу барабанов – установок для коксования, где горячий материал находится приблизительно 24 часа (замедление) при низком давлении до тех пор, пока он не расщепляется на более легкие продукты. После того как кокс достигает заранее определенного уровня в одном барабане, поток ответвляется к другому барабану для сохранения непрерывного процесса. Пары из барабанов возвращаются в установку фракционирования для разделения газа, нафты и газойлей и для рециркулирования более тяжелых углеводородов через печь. Полный барабан стерилизуется водяным паром для отпаривания некрекированных углеводородов, охлаждается посредством вбрызгивания воды и механически очищается от нагара с помощью сверла, поднимающегося со дна барабана, или гидравлически – путем разрыва пласта кокса с помощью высокого давления воды, выброшенной от вращающегося резца. Непрерывное (контактное или жидкое) коксование – процесс с движущимся слоем, который функционирует при более низких давлениях и более высоких температурах, чем замедленное коксование. При непрерывном коксовании термический крекинг происходит путем использования тепла, передаваемого от частиц горячего оборотного кокса к исходному сырью в радиальном смесителе, называемом реактором. Газы и пары берутся из реактора, охлаждаются с целью остановки дальнейшей реакции и фракционируются. После реактора кокс входит в барабан и поднимается к подающему устройству, где большие частицы кокса удаляются. Оставшийся кокс спускается в подогреватель реактора для рециркуляции вместе с исходным сырьем. Процесс является автоматическим, имеется непрерывный поток кокса и исходного сырья, а коксование происходит как в реакторе, так и в барабане.

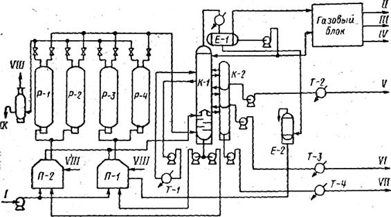
Технологическая схема установки замедленного коксования дана на рис. 7. Нагре­тое в печах сырье поступает в нижнюю часть ректификационной ко­лонны на верхнюю каскадную тарелку. Под нижнюю каскадную тарелку подаются пары продуктов коксования из коксовых камер. Обогащенное рециркулятом и дополнительно нагретое сырье с низа колонны поступает в реакционные змеевики печей, а затем в камеры на коксование. Для предотвращения образования кокса в змеевиках печей в сырье подается турбулизатор – водяной пар. На установке имеются четыре камеры, работающие попарно. Пары продуктов из камер, работающих в режиме коксования, направляются в колонну. В верхней части, над «глухой» тарелкой, происходит разделение продуктов коксования на фракции. С верха уходят газ и пары бензина, в качестве боковых погонов – фракция 180-350 °С, фракция 350-450 °С, фракция выше 450 °С.

После конденсации и охлаждения верхний продукт поступает в газосепаратор. Здесь происходит сепарация воды и отделение газа от бензина. Нестабильный, содержащий легкие углеводороды бензин и газ самостоя­тельными потоками направляются в газовый блок, где в результате применения процессов абсорбции и стабилизации выделяются сухой газ, содержащий в основ­ном углеводороды С12, головка стабилизации, содержащая углеводороды С34, и стабильный бензин. Боковые погоны поступают в секции отпарной колонны, где из них удаляются легкие фракции, а затем через соответствую­щие теплообменники и холодильники выводятся с установки. Реакционные камеры установки работают по циклу: реакция - охлажде­ние кокса - выгрузка кокса - разогрев камеры.

Кокс из камеры удаляется при помощи гидравлической резки подачей струи воды под высоким давлением. Удаленный из камеры кокс попадает в дро­билку, где измельчается на куски размером не более 150 мм. Раздробленный кокс обезвоживается и элеватором подается на двухситовый грохот, с помощью которого сортируется на три фракции: 150-25; 25-6 и 6-0 мм. Камеру, из которой выгружен кокс, опрессовывают и прогревают сначала острым водяным паром, а затем горячими продуктами коксования из работающей камеры. Переключение камеры на режим реакции проводится, когда тем­пература в ней повысится до 360 °С.

Продолжительность операции (в ч); подача сырья – 24; переключение камер, пропаривание камер водяным паром и охлаждение кокса водой – 9; бурение отверстий в коксе, удаление кокса гидрорезаком – 6; испытание и разогрев камеры – 9.

Разновидность термического крекинга нефтяных остатков при невысоком давлении – деструктивная перегонка – на­правлена на получение максимального выхода соляровых фрак­ций при минимальном количестве тяжелого жидкого остатка. Коксование и деструктивную перегонку проводят при температуре 450-550 °С.

 

 

 

Рис. 7. Схема установки замедленного коксования:

Р-1-Р-4 – коксовые камеры; П-1, П-2-печи; К-1 – ректификационная колонна} К-2 – отпарная колонна; Т-1-Т4 – теплообменники; ХК-1 – конденсатор-холодильник; Е-1 – газосепаратор; Е-2 – емкость для воды;

I – сырье; II – сухой газ; III – головка стабилизации; IV – стабильный бензин; V – керосино-газойлевая фракция; VI – легкий газойль; VII – тяжелый газойль; VIII – водяной пар; IX – вода

Пиролиз — наиболее жесткая форма термического крекинга нефтя­ного и газового сырья, осуществляемая обычно при 700-900 °С с целью получения углеводородного газа с высоким содержанием непредельных. Режим может быть направлен на получение макси­мального выхода этилена, пропилена или бутиленов и бутадиена. Наряду с газом образуется некоторое количество жидкого про­дукта – смолы, содержащей значительные количества моноциклических (бензол, толуол, ксилолы) и полициклических ароматиче­ских углеводородов (нафталин, антрацен). Долгое время, пока не был разработан процесс каталитического риформинга, пиролиз яв­лялся практически единственным промышленным методом получе­ния ароматических углеводородов из нефти.

В настоящее время целевым продуктом пиролиза является газ, богатый непредельными, из которых основная роль принадлежит этилену. Области использования этилена весьма разнообразны. Более 40 % этилена расходуется на производство полиэтилена; значительную долю занимают производства этилового спирта и стирола (сырье для производства синтетического каучука). Все большее значение приобретают и другие газообразные не­предельные углеводороды. Пропилен используют для получения полипропилена, высокоокта­нового компонента бензина (алкилированием изобутана), жидких полимеров С6—С12, используемых в качестве топливных компонен­тов (полимербензин), моющих средств и др. Бутадиен (дивинил), используемый в производстве синтетического каучука, получают не только путем пиролиза жидких нефтепродуктов, но и каталитиче­ским дегидрированием н-бутана. Однако в последние годы доля бутадиена, вырабатываемого пиролизом, возросла, так как эконо­мически этот процесс более благоприятен.

Выход смолы пиролиза тем больше, чем тяжелее сырье. Сырье для пиролиза весьма различно. Пиролизу подвергают газообразные углеводороды (этан, пропан, бутан и их смеси) и жидкие (низкооктановые бензины, керосино-газойлевые фракции, нефтяные остатки). Выбор сырья определяется в первую очередь целью пиролиза. Для производства этиленсодержащего газа при­годно любое сырье, но наибольший выход этилена дает этан. Для получения высокой концентрации пропилена в газе пиролиз этана непригоден, так как этан в основном дегидрируется до этилена. Соответственно, для получения высоких выходов бутадиена не используют ни этан, ни пропан.

При выборе сырья учитывают также его ресурсы, связанные с направлением и уровнем развития нефтеперерабатывающей и га­зовой промышленности данной страны. Известно, что в США из-за большого парка легковых автомашин по­требление бензина наиболее значительно, поэтому преобладающим сырьем пиролиза в этой стране являлись природные газы. В это же время в России и странах Западной Европы глубина переработки нефти значительно ниже. Повышение требова­ний к моторным качествам бензинов дало возможность использо­вать как сырье пиролиза и газовый бензин, и низкооктановые бен­зины прямой гонки. Одновременно в качестве сырья использовали и газообразные углеводороды природных и заводских газов. Пиро­лиз газообразного сырья (особенно этана) дает более высокие вы­ходы этилена, чем пиролиз жидкого сырья.

С середины 70-х годов в связи с повсеместным углублением пе­реработки нефти и ростом цен на бензин возникает интерес к пи­ролизу более тяжелого сырья – керосино-газойлевых фракций, вакуумного газойля. Был также разработан пиролиз сырой нефти с использованием перегретого до 2000 °С водяного пара в качест­ве теплоносителя.

Наиболее распространенная форма промышленного процесса – пиролиз в трубчатых печах. Совершенствование конструкций печей позволило расширить фракционный состав сырья. Одновременно возвращаются к не получившим вначале широкого распростране­ния термоконтактным процессам пиролиза остаточного сырья и к пиролизу сырой нефти.

Следует иметь в виду, что наряду с максимальными выходами этилена использование газообразного сырья по­зволяет работать с рециркуляцией, т. е. с возвратом непревращен­ного этана или пропана (после установки газоразделения) в зону реакции. Для жидкого сырья это неприменимо, так как смола пи­ролиза является высокоароматизированным продуктом глубокого превращения, частично совпадающим по фракционному составу с сырьем, возврат ее на повторный пиролиз вызвал бы закоксовывание труб печи.

Теоретические основы процесса. Пиролизу присуще глубокое преобразование исходного сырья, при­водящее к образованию легких газообразных углеводородов, ароматических моно- и полициклических углеводородов, а также продуктов глубокого уплотнения (кокса и сажи). Реакции образования ароматических углеводородов при пиролизе весьма многообразны. В результате термической сополимеризации непредельных образуются циклоолефины, которые далее дегидрируются до ароматических углеводородов. Так протекает, например, взаимодействие бутадиена и этилена с образованием бензола:

 

НС

//

НС СН2

I + II →

НС СН2

\\

НС

 

Эта и подобные ей реакции, относящиеся к так называемому ди­еновому синтезу, свойственны пиролизу и обусловливают аромати­зированный состав смолы.

Результаты пиролиза оценивают по выходу целевого продукта, например этилена. Поскольку основными факторами пиролиза яв­ляются температура и длительность реакции, каждой температуре соответствует некоторое оптимальное время контакта, при кото­ром выход целевого продукта максимален.

Сравнительные данные по пиролизу различного газообразного сырья показывают, что выход ароматических углеводородов наибо­лее высок при пиролизе олефинов; это подтверждает их роль в об­разовании ароматических углеводородов. Аналогичное явление можно наблюдать и при пиролизе бензинов, содержащих непредельные углеводороды.

Наличие ароматических углеводородов в сырье пиролиза сни­жает газообразование из-за высокой термической стабильности этих углеводородов, однако их состав может изменяться за счет термического деалкилирования при углублении процесса.

В связи с переходом на пиролиз утяжеленного сырья представ­ляет интерес влияние би- и полициклических ароматических углеводородов, присущих керосино-тазойлевым фракциям на процесс. Установлено, что эти углеводороды тормозят образование легких олефинов, причем тормозящее действие бициклических углеводородов слабее, чем полициклических. При частичном удалении полициклических углеводородов повышается выход этилена и суммы газообразных олефинов.

Для каждого вида сырья существует оптимальное сочетание температуры и продолжительности пиролиза. Выбор температуры на промышленной установке опреде­ляется и аппаратурным оформлением. Термоконтактный пиролиз можно осуществлять при более высоких температурах, а в трубчатых печах применение высоких температур (1000 °С и более) затрудняется из-за необходимости подбора жароупорных материалов, забивания труб сажей и коксом, а также сохранения малого времени контакта. Кроме того, имеет значение концентрация нежелательных компо­нентов в получаемом газе. Так, пиролиз углеводородного газа с получением этилена при 1000 °С сопровождается заметным обра­зованием ацетилена; избежать этого можно при более мягком режиме.

«Этиленовому» режиму пиролиза соответствует пониженный выход пропилена, так как он при этом частично превращается в этилен. Наиболее мягкие «бутиленовый» и «бутилен-бутадиено­вый» режимы из-за наименьшей термической стабильности этих уг­леводородов.

Значительное газообразование при пиролизе жидкого сырья и образование более легких, чем сырье, компонентов при пиролизе газообразного сырья вызывают большое увеличение (обычно в 1,5-2 раза) удельного объема паровой (газовой) фазы. Известно, что реакциям, протекающим с увеличением объема, способствует низкое давление в реакционной зоне или низкое парциальное давление продуктов. Для уменьшения роли реакций уплотнения пиролиз ведут при максимально низком давлении. В случае применения трубчатых реакционных аппаратов на входе в змеевик приходится поддерживать некоторое избыточное давление, чтобы преодолеть гидравлическое сопротивление в трубах печи и в последующей аппаратуре (обычно на выходе из печи давление 0,2-0,25 МПа).

Для компенсации отрицательного влияния давления, общего улучшения показателей процесса практикуется подача в печь вместе с сырьем перегретого водяного пара, снижающего парциальное давление паров продуктов пиролиза и препятствующего реакциям уплотнения.

На материальный баланс пиролиза благоприятно влияет легкий газообраз­ный разбавитель, поэтому было предло­жено проводить процесс в присутствии водорода. Он не только является разба­вителем, при увеличении концентрации он активно взаимодейст­вует с компонентами реакционной смеси, что объясняется смеще­нием равновесия реакции в сторону соединений, богатых водородом. До­стоинство водорода как разбавителя – повышение выхода этилена, снижение выхода ацетилена, тяжелой части смолы и кокса; недостатки процесса - увеличение объема газа и снижение выхо­да пропилена.

Промышленное оформление процесса пиролиза и закалки продуктов. В настоящее время промышленный пиролиз осуществляется почти исключительно в трубчатых печах (рис. 8). Этот способ имеет ряд существенных преимуществ: он хорошо изучен, его технология и аппаратурное оформление относительно просты и на­дежны, процесс легко поддается управлению и регулированию. Основные аппа­раты пиролизной установки: трубчатая пиролизная печь, состоящая из радиантной и конвекционной камер; закалочно-испарительный аппарат, в котором продукты пиролиза охлаждаются с большой скоростью; ряд аппаратов типа промывных колонн, в которых продукты подвергаются дальнейшему охлаждению, а тяжелая часть продукта конденсируется и отделяется от газообразной части, поступающей на компримирование и далее на газоразделение.

Основные трудности, связанные с промышленным оформлением пиролиза, таковы:

- необходимость четкого регулирования продолжительности реакции, которая при высоких температурах обычно составляет доли секунды;

- отложение кокса и сажи в реакционной зоне и при быстром
охлаждении газа пиролиза (в «закалочном» аппарате);

- необходимость применения жароупорных материалов;

- ограничение пропускной способности установки вследствие
значительного удельного объема реакционной смеси, обусловленного высокой температурой, низким давлением и разбавлением сырья водяным паром. Последнее заставляет на установках средней и высокой пропускной способности использовать несколько (иногда 8-10 печей).

Технологическая схема установки пиролиза бензина дана на рис.9.Бензин из емкости подается насосами через теплообменник в трубчатую печь на пиролиз. В теплообменнике бензин нагревается до 80-110 °С за счет теплоты циркулирующего тяжелого масла (продукт пиролиза). Бензин разделяется перед печью на несколько потоков (на рис.- четыре потока). В каждый из потоков подается пар. Разбавление сырья паром используется для уменьшения скорости вторичных реакций и количества тяже­лых жидких продуктов и кокса, образующихся в результате протекания этих реакций. Смесь бензина и пара поступает в конвекционную камеру печи, где нагревается за счет теплоты дымовых газов. Смешение углеводородного сырья и пара осуществляется перед входом в печь. Однако может быть предусмотрено предварительное раздельное испарение не более 80 % сырья и перегрев пара в конвекционной камере, дальнейший нагрев смеси сырья и пара до 520-600 °С проводится в той же конвекционной камере. В некоторых печах в отдельных змеевиках конвекционной камеры ведется подогрев питательной воды для закалочно-испарительных аппаратов и перегрев пара высокого давления, получаемого в этих аппаратах. Нагретая смесь паров бензина и воды поступает в змеевик радиантной части печи, где происходит ее дополнительный подогрев и при температуре 810-870 °С проводится пиролиз. Теплота в радиантный змеевик подводится за счет сжигания газового топлива в горелках беспламенного горения, расположенных вертикально в стенках печи. На выходе из зоны радиации змеевики объединяются попарно, и пирогаз поступает на охлаждение в закалочно-испарительные аппа­раты. Теплота пирогаза используется в аппаратах для выработки пара давлением 11-13 МПа. Питательная вода подается в пароводяной сепаратор, а отсюда самотеком поступает в ЗИА. Пар высокого давления из барабана сепа­ратора направляется в конвекционную секцию печи или через регули­рующий клапан непосредственно в линию пара высокого давления.

 

 

 

Рис. 8. Печь для высокотемпературного пиролиза:

1 – газоходы; 2 – конвекционная камера и пароперегреватель; 3 – «закалочно»-испаритель­ные аппараты и паросборники; 4 – каркас; 5 – реакционный змеевик; 6 – металлический кожух и термоизоляция; 7 – радиантная камера; 8 – горелки; 9 – подвесные стены из ша­мотного кирпича

 

 

Рис. 9. Схема установки пиролиза бензина:

Е–1 – емкость; Н-1-Н-5 – насосы; Т-1-Т-3 – теплообменники; П-1 – печь; А-1 – закалочно-испарительный аппарат; А-2 – аппарат дозакалки; А-3 – испаритель; А-4 – отстойник; С-1 – сепаратор; К-1 – колонна первичного фракционирования; К-2 – колонна водной промывки; Ф-1 – фильтр

I – бензин со склада; II – пар-разбавитель; III – дымовые газы; IV – питательная вода; V – пар высокого давления; VI – пирогаз на компримирование; VII –паровой конденсат; VIII – вода на охлаждение; IX – пироконденсат с установки; X – вода в канализацию; XI – масло с установки; XII – пар; XIII – конденсат

 

Продукты пиролиза из аппаратов ЗИА поступают в колонну первичного фрак­ционирования после дополнительного охлаждения в аппарате дозакалки до температуры 180-200°С. В колонне первичного фракционирования продукты пиролиза разделяются на тяжелые жидкие продукты (пиролизное тяжелое-масло), выходящие из куба колонны, и газообразные продукты (пирогаз).

Пиролизное масло насосами через фильтры и теплообменники подается на охлаждение пирогаза в аппарат дозакалки, часть пиролизного масла после теплообменников направляется на подогрев бензина в теплооб­менники, затем поступает на верх кубовой части колонны. Теплота, отдаваемая циркулирующим пиролизным маслом в теплообменниках, исполь­зуется в испарителе для выработки пара, расходуемого на разбавление, недостающее количество теплоты подводится паром через теплообменники. Избыток пиролизного масла после фильтров поступает в сборник.

Пирогаз с верха колонны с температурой 95-100 °С направляется в колонну водной промывки, где охлаждается циркулирующей водой до 30-38 °С. Циркуляционная вода вместе с выпавшим из пирогаза конденсатом (пиробензин) поступает в отстойник. Вода насосами через холодиль­ник вновь подается на колонну. Пиробензин вместе с избытком воды перетекает в разделительный отсек отстойника, откуда вода откачивается в канализацию, а пироконденсат подается на верх колонны первичного фракционирования. Избыток пиробензина отводится в емкости.

Выход жидких продуктов в основном зависит от качества сырья, при пиролизе керосино-газойлевых фракций около половины сырья превращается в жидкие продукты, поэтому только рациональное и полное их использование обеспечит рентабельность установок пиролиза.

Качество жидких продуктов зависит и от сырья, и от жестко­сти режима. Фракционный состав жидких продуктов изменяется с утяжелением исходного сырья. После перегонки жидких продуктов с установки уходят четыре фракции: С5 (до 70 °С), 70-130 °С (бензольно-толуольная), 130-190 °С(С8—С9) и >190 °С (тяжелая смола).

Фракция С5 более чем наполовину представлена непредельными: из них примерно 50 % приходится на циклопентадиен и изопрен. Циклопентадиен - весьма реакционноспособный углеводород, используемый в ряде синтезов (получение пестицидов, пластификаторов и т.д.). Изо­прен – исходное сырье для производства синтетического каучука. Фракцию 70-130 °С подвергают гидрированию (для насыщения непредельных углеводородов), экстракции или адсорбции (для вы­деления бензола и толуола) и последующему разделению ректи­фикацией. Потребность в бензоле все возрастает, поэтому для увеличения его выхода толуол иногда подвергают дегидроалкилированию.

Фракция 130-190 °С содержит некоторое количество ксилолов и этилбензола (10-12 % масс.), но главными ее компонентами являются стирол (до 40 %) и другие алкенилароматические углеводороды, а также инден и дициклопентадиен. Из тяжелой части смолы отгоняют фракцию190-230 °С с целью выделения нафталина. Тяжелая часть смолы содержит САВ и используется как сырье для производства сажи или беззольного кокса.

Вопросы для самопроверки:

1. Каково назначение термического крекинга и какое используют сырье для его получения?

2. Какие существуют модификации термического крекинга?

3. Что представляет собой процесс замедленного коксования?

4. Какое сырье используется в процессах пиролиза?

5. Какое оборудование используется в технологическом оформлении процессов пиролиза?

6. Каков состав жидких продуктов пиролиза?

 




Поделиться с друзьями:


Дата добавления: 2014-11-18; Просмотров: 1927; Нарушение авторских прав?; Мы поможем в написании вашей работы!


Нам важно ваше мнение! Был ли полезен опубликованный материал? Да | Нет



studopedia.su - Студопедия (2013 - 2025) год. Все материалы представленные на сайте исключительно с целью ознакомления читателями и не преследуют коммерческих целей или нарушение авторских прав! Последнее добавление




Генерация страницы за: 0.012 сек.