Студопедия

КАТЕГОРИИ:


Архитектура-(3434)Астрономия-(809)Биология-(7483)Биотехнологии-(1457)Военное дело-(14632)Высокие технологии-(1363)География-(913)Геология-(1438)Государство-(451)Демография-(1065)Дом-(47672)Журналистика и СМИ-(912)Изобретательство-(14524)Иностранные языки-(4268)Информатика-(17799)Искусство-(1338)История-(13644)Компьютеры-(11121)Косметика-(55)Кулинария-(373)Культура-(8427)Лингвистика-(374)Литература-(1642)Маркетинг-(23702)Математика-(16968)Машиностроение-(1700)Медицина-(12668)Менеджмент-(24684)Механика-(15423)Науковедение-(506)Образование-(11852)Охрана труда-(3308)Педагогика-(5571)Полиграфия-(1312)Политика-(7869)Право-(5454)Приборостроение-(1369)Программирование-(2801)Производство-(97182)Промышленность-(8706)Психология-(18388)Религия-(3217)Связь-(10668)Сельское хозяйство-(299)Социология-(6455)Спорт-(42831)Строительство-(4793)Торговля-(5050)Транспорт-(2929)Туризм-(1568)Физика-(3942)Философия-(17015)Финансы-(26596)Химия-(22929)Экология-(12095)Экономика-(9961)Электроника-(8441)Электротехника-(4623)Энергетика-(12629)Юриспруденция-(1492)Ядерная техника-(1748)

Устройство и принцип действия станков




Общие сведения

ИЗУЧЕНИЕ КОНСТРУКЦИЙ, МАШИН И БУРОВОГО ИНСТРУМЕНТА УДАРНО-ВРАЩАТЕЛЬНОГО ДЕЙСТВИЯ

Лабораторная работа №4

 

1. Цель работы

Изучить конструктивные особенности и принцип работы машин ударно-вращательного действия на примере станков НКР-100М, БМН-ЗА, ППС-ЗА, а также ознакомиться с работой погружных пневмоударников и типами бурового инструмента.

 

 

Назначение, область применения и классификация.

Машины ударно-вращательного действия предназначены для бурения шпуров и скважин в породах средней крепости и крепких. Бурение этими машинами основано на комбинированном способе разрушения породы, объединяющие основные свойства ударного и вращательного взаимодействия на породу. Основными преимуществами ударно-вращательных буровых машин является сохранение энергии удара на буровой коронке погружного пневмрударника независимо от глубины скважины и возможность приложения к буровому инструменту большого крутящего момента, хотя при этом пневмоударник, непрерывно вращающийся в скважине, подвержен значительному износу, и вращательного воздействия на породу.

Исходя из этого машины ударно-вращательного действия обычно применяют дня бурения глубинных эксплуатационных и разведочных скважин.

Машины ударно-вращательного действия классифицируют по признакам:

по частоте ударов бурового инструмента - с частотой ударов в сек. 84-116 и 42-67;

по энергии удара - с энергией удара до 50 и 60 - 85 Дж;

по конструкции привода вращателя - на одно-, двух- и трех- скоростные;

по конструкции привода податчика - с автоматическим регулированием
осевого усилия и без регулирования осевого усилия.

 

 


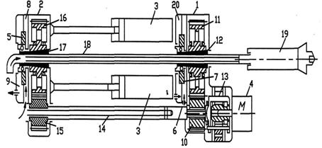
Буровой станок (Рис. 41.) состоит из корпуса 4, оборудованного вращательным и подающим механизмами, погружного пневмоударника 6, уходящего в скважину, буровых штанг 3 с сальником 13, автомасленки 1, грузоподъемной лебедки 7, распорной колонки 5. Основными узлами станка (Рис. 42.) также являются подающий патрон 8, перемещающийся по направляющим штангам 14, неподвижный патрон с редукторами и пневмозахватом 9, двигатель 10, пульт управления 11, податчик с пневмоцилиндрами 15, щит 12, рама с салазками 2. Подвижный подающий патрон 2 представляет собой редуктор с шестернями 15, 16 и пневмозахватом 17 и может перемещаться по двум направляющим штангам, расположенным параллельно оси станка.

 

 

Рис. 41. Буровой агрегат со станком НКР-1ООМ

 


Рис. 42. Кинематическая схема станка НКР-1 ООМ

 

Неподвижный патрон 1 представляет собой одноступенчатый редуктор с шестернями 10 - И и пневмозахватом 12, к корпусу которого крепится двигатель 4. Крутящий момент от двигателя передается через планетарный редуктор 13 на шлицевой вал 14, а затем через шестерни 10 - 11 к пневмозахвату 12 и через шестерни 15, 16 подвижного патрона 2 - к пневмозахвату 17. Таким образом крутящий момент от двигателя 4 к штангам 18 и пневмоударнику 19 может передаваться как через пневмозахват неподвижного патрона, так и через пневмозахват подвижного. Податчик выполнен в виде в виде двух пневмоцилиндров 3, штоки которых подсоединены к подвижному патрону 2. Пневмозахват оборудован зажимными плашками, которые, благодаря конусной поверхности при перемещении могут захватывать буровой инструмент. Диафрагмы 7 и 5 аналогично поршню перемещают зажимные плашки под действием сжатого воздуха, подающегося с одной или с другой стороны диафрагмы.

Автоматическая подача штанг при бурении осуществляется с помощью специального воздухораспределительного устройства, которое дублируется рукоятками ручного управления. При рабочем ходе, когда ведется бурение, сжатый воздух поступает в камеры 8 и 20. При этом захват 17 подвижного патрона 2, зажимая буровые штанги 18 передает им крутящий момент и осуществляет подачу на забой под действием цилиндров 3, а пневмозахватом 12 ослабляется и свободно пропускает штанги. По мере того как исчерпывается величина хода подачи и подвижной патрон приходит в переднее крайнее положение, он подключает воздухораспределитель и сжатый воздух начинает поступать в полости 6 и 9, а также во второе полости цилиндров пневмоподатчика. При этом буровые штанги зажимаются захватом 12, который удерживает их от осевого перемещения и передает им крутящий момент, а захват 17 ослабляется и подвижной патрон перемещается податчиком назад. В заднем крайнем положении опять переключается воздухораспределительное устройство в исходное положение и бурение продолжается с передачей усилия и крутящего момента через задний патрон.

Станок НКР100МА выпускает завод горного оборудования «Коммунист» (Кривой Рог) и имеет несколько модификаций. Техническая характеристика станков типа НКР приведена в табл. 1.

 

Техническая характеристика станков типа НКР

 

Таблица 1

Тип станка НКРЮОМА НКР100МВА НКРЮОМПА НКРЮОМПВА
Диаметр буровых скважин, мм.  
Глубина бурения скважин, м        
Усилие подачи кН        
Ход подачи, м 0,365
Тип двигателя Электричес кий4А!00 Электрический 4М05 Пневматичес кийДАР14М
Частота вращения бурового става, с*1 1,3 1,3    
Крутящий момент, Н*м  
Длина штанги, м 1,2
Расход воздуха,м3/мин.        
Расход воды л/мин 1,8
Длина станка, м 0,7
Масса кг 425 450 420 445

 



 

Рис 43. Схема устройства станка ЛПС – ЗА Рис44. Буровой агрегат БМН-ЗА

 

2.3. Устройство и принцип работы погружных пневмоударников.

 

При ударно-вращательном бурении буровой машиной используется погружной пневмоударник, которому через штанги передается вращение и подача на забой от установленных вне скважин вращателя и податчика.

Погружные пневмоударники по принципу работы аналогичны погружным перфораторам, но выполняются без встроенного повторного устройства и работают на воздушно-водяной смеси, что значительно упрощает их конструкцию.

Это позволяет исключить один из важнейших недостатков погружных перфораторов - малый крутящий момент и дает возможность бурить скважины меньшего диаметра и с помощью специальных буровых станков, обеспечивающих вращение и подачу пневмоударника.

Согласно ГОСТ 13879-73 погружные пневмоударники выпускаются четырех основных типов разрезов (I, II, III, IV) соответственно для бурения скважин диаметром 105, 125, 160, 200 мм. Наружный диаметр пневмоударника обычно выполняется на 10-25 мм меньше диаметра буровой коронки и должен быть не более 92, 110, 140 и 175 мм. Первые два типо-

 
 

размера пневмоударников рассчитаны на бурение пород с коэффициентом крепости f = 6+20, а вторые два с коэффициентом f= 12+20.

Рис. 45. Погружной пневмоударник П1-75

 

Пневмоударник состоит из цилиндра 2 (рис 45), в котором перемещзается поршень 3 передней головки 5, в которую вставляется буровая коронка 4, закрепляемая шпонкой 6, и задней головки 1. Воздухораспределение в пневмоударниках осуществляется также, как в перфораторах. При холостом ходе поршня 3 сжатый воздух поступает через полость 13 цилиндра. Из задней полости цилиндра 7 в это время происходит выхлоп по проточке 11 и выхлопным отверстием 10. При рабочем ходе поршня выпуск сжатого воздуха в заднюю полость цилиндра происходит по каналам 9, в то время как из передней полости происходит выхлоп. Продувка скважин осуществляется отработанным воздухом благодаря расположению выхлопных отверстий под углом оси пневмоударника. Для выноса шлама при забуривании и лучшей продувки коронки имеется продувочное отверстие 8.

Конструкция пневмоударников, применяемых в зарубежной горной промышленности, аналогична отечественным. Отличительными чертами являются-большая длина и более тяжелые поршни-ударники с большим ходом и низкой частотой ударов (до 1000 уд. в мин.). Диаметр буримых скважин v составляет 60+300 мм.

За рубежом пневмоударники выпускают в Швеции, США, Франции, ФРГ, Канаде, Японии, Великобритании, Бельгии.

В США пневмоударники выпускает фирма «Ингерсол Рэнд», «Гарден Денвер», «Мишн», «Джой».

Фирма «Ингерсол Рэнд» производит серию пневмоударников для бурения скважин диаметром 85-762 мм. Все пневмоударники этой фирмы имеют сходную инструкцию. Они рассчитаны на давление сжатого воздуха в сети 0,703; 0,815, 1,76МПа.

Фирма «Мишн» выпускает пневмоударники., работающие при давлении 0,7; 1,7; 3,4 Мпа. Воздухораспределение осуществляется поршнем. Отличительной особенностью является наличие центрального воздухоподводящего стержня с системой каналов и окон.

Шведская фирма «Атлас Копко» освоила выпуск пневмоударников под индексом СОР-42; СОР-62; СОР-6МК2; СОР-4МК2. Этими механизмами бурят скважины диаметром 105-216 мм. Особенностью пневмоударников зарубежных фирм является применение повышенного давления сжатого воздуха. Для этих условий выпускаются пневмоударники, работающие по схеме «зодотник на поршне».

2.4. Долото для пнемударников.

 

Долото для пневмоударников представляет собой короткий стержень, который служит для передачи силового импульса от ударника к забою скважины. Различают следующие элементы долота (рис. 46): корпус 2, который несет в себе хвостовик 1, хвостовик имеет плоскую грань и воспринимает удары поршня. Корме того, он отделяет внутреннюю полость цилиндра от атмосферы. Головная часть долота 3 армируется пластинками твердого сплава 4, которые вместе с передними гранями головки 5 заканчиваются лезвием. Лезвие, таким образом, есть линия пересечения двух граней.

Типы долот определяются числом и расположением лезвий. Различают однолезвийное долото, крестовое, с тремя боковыми лезвиями и центральным опережающим. Появились долота с центральным отстающим лезвием. Армируются долота пластинками твердого сплава или штырями. Наибольшее распространение для подземных работ получили долота с тремя боковыми лезвиями и центральным опережающим.

 

 

 
 

Рис. 46. Пневмоударные долота.

 

 

Для бурения на карьерах применяется Х-образное долото с отстающей центральной частью. Долото армированное штырями твердого сплава, показано на рисунке 47. Материал корпуса долота подбирается таким образом, чтобы по мере износа штырей изнашивалась и рабочая поверхность долота, обнажая штыри. Периодически головку штырей шлифуют для удаления микротрещин.

По роду удаления бурового шлама из забоя скважины долота подразделяют на долота с центральной, в нецентральной и внешней продувкой. При внешней продувке долото не имеет внутренних каналов. Первые две системы предусматривают наличие каналов.

Крепят долота в корпусе пневмоударников с помощью шпонок или шариков (байонетное соединение). Шпоночное соединение применяют для долот малого диаметра, для долот большого диаметра предпочтительнее байонетное соединение. Сведения о серийнсгввнтускаемых долотах приведены в таблице 2.

 



 

Рис.47. Штыревое долото Рис 48. Пневмоударный расширитель

1-хвостовик; 2-корпус; 3-штифты;

4-коронка; 5-фонарь

 

 




Поделиться с друзьями:


Дата добавления: 2014-11-18; Просмотров: 8856; Нарушение авторских прав?; Мы поможем в написании вашей работы!


Нам важно ваше мнение! Был ли полезен опубликованный материал? Да | Нет



studopedia.su - Студопедия (2013 - 2025) год. Все материалы представленные на сайте исключительно с целью ознакомления читателями и не преследуют коммерческих целей или нарушение авторских прав! Последнее добавление




Генерация страницы за: 0.011 сек.