Студопедия

КАТЕГОРИИ:


Архитектура-(3434)Астрономия-(809)Биология-(7483)Биотехнологии-(1457)Военное дело-(14632)Высокие технологии-(1363)География-(913)Геология-(1438)Государство-(451)Демография-(1065)Дом-(47672)Журналистика и СМИ-(912)Изобретательство-(14524)Иностранные языки-(4268)Информатика-(17799)Искусство-(1338)История-(13644)Компьютеры-(11121)Косметика-(55)Кулинария-(373)Культура-(8427)Лингвистика-(374)Литература-(1642)Маркетинг-(23702)Математика-(16968)Машиностроение-(1700)Медицина-(12668)Менеджмент-(24684)Механика-(15423)Науковедение-(506)Образование-(11852)Охрана труда-(3308)Педагогика-(5571)Полиграфия-(1312)Политика-(7869)Право-(5454)Приборостроение-(1369)Программирование-(2801)Производство-(97182)Промышленность-(8706)Психология-(18388)Религия-(3217)Связь-(10668)Сельское хозяйство-(299)Социология-(6455)Спорт-(42831)Строительство-(4793)Торговля-(5050)Транспорт-(2929)Туризм-(1568)Физика-(3942)Философия-(17015)Финансы-(26596)Химия-(22929)Экология-(12095)Экономика-(9961)Электроника-(8441)Электротехника-(4623)Энергетика-(12629)Юриспруденция-(1492)Ядерная техника-(1748)

Универсальная характеристика




Действительная характеристика насоса.

Характеристика на­соса, определяющая зависимость между его напором Н и пода­чей Q при п = const, существенно отличается от его теоретиче­ской характеристики - наклонной прямой. Если допустить, что поправка на конечное число лопастей не зависит от подачи, то зависимость Hт = f(Qк) также является прямой линией. По данным экспериментов, эта прямая практически параллельна прямой HТ∞ = f(Qк).

Рис.3 Рис.4

 

Кривая действительного напора H = f{Q) строится, исполь­зуя зависимость Hт = f(Q) и учитывая суммарные гидравли­ческие потери, растущие пропорционально квадрату скорости жидкости или квадрату подачи насоса (рис. 4). Минимальными будут потери при расчетном режиме с безударным входом жид­кости на лопатки и минимальными потерями в отводе. Если учесть утечки, то все точки кривой напоров сместятся влево на значение утечек qK, соответствующих данному напору.

Теоретическое построение кривой H = f{Q) затруднительно вследствие невозможности достаточно точного учета гидравли­ческих потерь. Действительная характеристика с достаточной точностью может быть построена только на основании резуль­татов испытаний.

При эксплуатации иногда целесообразно исследовать изменения напора насоса, его по­дачи и КПД при изменении частоты вращения рабочего колеса.

С этой целью строят универсальные характеристики центро­бежных насосов, представляющие собой семейство характерис­тик в системе координат Q, Н. Каждая характеристика по­строена для постоянной частоты вращения - номинальной nн - и более низких частот с интервалами 10—20 % от номинальной.

На рис.5, а показана универсальная характеристика на­соса в системе координат Q, Н для номинальной частоты вра­щения п = 960 об/мин и меньших частот, последовательно отли­чающихся от предыдущих на 80 об/мин. На рис.5, б для каждой характеристики построены кривые КПД η = f(Q). Для удобства анализа и наглядности значения КПД наносят на соответствующие характеристики H = f{Q). Если разделить интервал значений КПД 60—80 % через каждые 2 % горизонтальными прямыми, то, например, значение КПД 70 % в точке пересечения А и В с кривой КПД при п = 640 об/мин мож­но перенести пунктирными вертикальными прямыми на харак­теристику насоса при той же частоте вращения в точки А1 и В1. Так же можно перенести любые точки пересечения горизонтальных прямых с линиями КПД на соответствующие по частотам вращения характеристики на­соса.

Соединяя одинаковые значения КПД на характеристиках насоса, получают семейство ли­ний КПД: 60, 70, 75, 78 %. Участки характеристик насоса, попавшие в кольцо линий КПД 78%, соответствуют наиболее экономичным режимам работы насоса, а в середине кольца отмечена точка наибольшего значения КПД - 79%.

Рис.5

 

Так как универсальная харак­теристика дает возможность оце­нить эксплуатационные качества насоса и определить область егооптимальных режимов работы, она обязательно включается в техническую документацию на­соса.

 

 

 

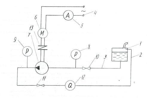
Схема лабораторной установки

 

1 – бак

2 – нагнетательный трубопровод

3 – всасывающий трубопровод

4 – источник питания

5 – амперметр

6 – электродвигатель

7 – центробежный насос

8 – мановакуумметр

9 – манометр

10 – всасывающий клапан

11 – нагнетательный клапан

12 – расходомер

13 – муфта.

 

 


5. Лабораторная работа 5.

Испытание шестерённого насоса и определение его характеристик

 

Цель работы.

Изучение конструкции и принципа работы шестеренного насоса, экспериментальное определение его рабочих характеристик (зависимость основных параметров насоса от режима работы).

Краткие сведения о шестеренных насосах.

Шестеренные насосы (ШН) широко применяются в судовых системах и установках для перекачивания вязких жидкостей с подачей до 10 м3/час при давлении до 1 МПа. эти насосы выполняют с внешним и внутренним заполнением. Привод насосов осуществляется непосредственно от ДВС или от электродвигателей. Наибольшее распространение на морских рыбопромысловых судах получили двухроторные нереверсионные шестеренные насосы с внешним зацеплением, общее устройство таких насосов показано на рис. 1.

Действие насоса ясно из поперечного разреза А-А. при вращении шестерен в направлениях, указанных стрелками, в приемной камере Б шестерни выходят из зацепления, объем камеры увеличивается и ней создается разрежение, жидкость поступает в насос, заполняет впадины между зубьями шестерен, которые переносят ее в напорную камеру В. здесь жидкость вытесняется в напорный трубопровод зубьями шестерен, входящими в зацепление. Предотвращение обратного движения жидкости из нагнетательной полости В во всасывающую полость Б обеспечивается малыми зазорами между зубьями и внутренней поверхностью корпуса насоса 35 и втулок 13, 14, 15 (~0,02 –0,06 мм).

К преимуществам ШН следует отнести простоту конструкции, малые габариты и массу, простоту в обслуживании, равномерность подачи.

К недостаткам следует отнести отсутствие сухого всасывания, необходимость соблюдения минимальных зазоров в соединениях, повышенные требования к чистоте перекачиваемой жидкости, т. к. даже незначительные примеси вызывают падение производительности насоса и повреждение зубьев зацепления.

 

 

Лабораторная установка.

Функциональная схема лабораторной установки изображена на рис. 2.

Шестеренный насос 4 марки ШФ приводится в действие электродвигателем 6, включение его в работу производится пускателем. В насос встроен предохранительный клапан 5, который перепускает масло из нагнетательного трубопровода во всасывающий в случае превышения предельного давления в напорном трубопроводе.

Мановакуумметр 3 показывает давление разряжения на всасывании, а манометр 8 показывает давление нагнетания развиваемое шестерным насосом. С помощью клапана 9 можно регулировать давление нагнетания.

В системе установлена центрифуга 10 и сдвоенный фильтр 11, которые очищают масло от механических примесей.

Рис. 2. Схема лабораторной установки.

 

Счетчик-расходомер 12 показывает объемное количество жидкости, перекачиваемое насосом. Бак 1 предназначен для хранения масла, которое забирается насосом 4 через клапан 2 и после прокачки через систему возвращается в бак. Т. о. обеспечивается непрерывность циркуляции масла. С помощью запорного клапана 2 можно регулировать величину разряжения во всасывающем трубопроводе и т. о. имитировать степень загрязнения всасывающего фильтра, что приводит к уменьшению производительности насоса, его КПД, ухудшению подачи масла потребителю. Амперметром 7 замеряется потребляемый электродвигателем ток.

Техника безопасности.

К эксплуатации установки и проведению лабораторной работы допускаются студенты, прошедшие соответствующий инструктаж по технике безопасности.

Включение установки без разрешения преподавателя категорически запрещается

Перед пуском в работу установки необходимо проверить

Исправность трубопроводов, наличие и надежность заземления, сопротивление изоляции.

Отсутствие посторонних предметов на элементах установки и монтажном столе.

Наличие, исправность и годность приборов измерения.

Наличие и надежность крепления защитных ограждений.

Уровень рабочей жидкости, который должен быть не менее половины бака.

В случае появления стуков, ударов, шума не эксплуатационного характера во время работы насоса его необходимо немедленно остановить.

Запрещается полностью закрывать клапана 2 и 9.

Эксплуатация установки должна осуществляться в полном соответствии с инструкцией по ее обслуживанию.

Порядок выполнения лабораторной работы.

Изучить настоящие методические указания и другую учебную литературу по теме «Шестеренные насосы».

Изучить лабораторную установку. Подготовить таблицу протокола испытаний и расчета параметров насоса (таблица 1).

Убедиться в исправности установки, полностью открыть клапана 2 и 9.

Запустить насос и дать ему поработать в течение 2-3 минут до выхода на установившийся режим работы.

Записать показания измерительных приборов – амперметра 7 (I), счетчика производительности насоса 12(Q), манометра 8 (РН), мановакуумметра 3 (Рв с). время замера производительности должно составлять не менее 1 минуты.

Частично прикрыть клапан 9 на нагнетательном трубопроводе, увеличив давление нагнетания на 0,01 МПа (0,1кг/см2). После выхода на установившийся режим работы (2-3 мин.) записать показания приборов.

Повторить измерения на 2 … 6 режимах работы насоса.

После окончания измерений полностью открыть клапана 2 и 9 и дать поработать установке 2 – 3 мин. и выключить насос 5 – 9.

Измерить плотность масла с помощью денсиметра.

Обработать результаты измерений. Оформить отчет.

Обработка результатов измерений.

Используя полученные данные для каждого режима работы вычислить значения основных параметров насоса. Расчет ведется в табличной форме в соответствии с таблицей 1. По данным таблицы 1 построить рабочие характеристики насоса, т. е. Графики зависимостей Q(P), G(P), Nm(P), N(P), h(P).

 

Сводная таблица результатов испытаний и расчетов параметров насоса.

Таблица 1

№ п/п Наименование параметра Способ определения Режимы
           
  Сила тока I, А По амперметру            
  Разность показателей счетчика расхода, DV, м3 По счетчику            
  Время замера, Dt, с По секундомеру            
  Объемная производительность насоса Q, м3/сек.            
  Массовая производительность насоса G, кг/сек            
  Избыточное давление нагнетания РН, МПа. По манометру            
  Разряжение на всасывании насоса Рвс, МПа. По мановакуумметру            
  Суммарное давление нагнетания Р2, МПа.            
  Суммарное давление на всасывании Р1, МПа.            
  Давление, развиваемое насосом Р, МПа            
  Полезная мощность насоса Nп, кВт.            
  Мощность, потребляемая эл. двигателем Nэ, кВт.            
  Мощность, потребляемая насосом N, кВт.            
  КПД насоса h, %            

r=860 кг/м3; Р0=0,1 МПа; U-380 V; hЭ=0,98

 

Рис. 1. Характеристики насоса.

 

Контрольные вопросы.

Что такое подача, давление и напор насоса?

Какие потери характеризуют КПД насоса?

Поясните устройство и принцип действия ШН?

Почему при увеличении давления, развиваемого насосом, падает его подача?

Как изменяются параметры насоса при засорении напорного трубопровода?

Как изменяются параметры насоса при «пробое» масляного фильтра 11 (рис. 2)?

Почему нельзя полностью закрывать клапаны 2 и 9 (рис. 2) при работе насоса?

Как практически определить, что насос выпуск насос выпуск на установившийся режим работы?

Для чего предназначен предохранительный клапан на насоса? Как он регулируется?


6. Лабораторная работа 6.

Изучение тельфера

 

Цель работы.

Изучить тельфер марки ТФ – 1 и получить практические навыки по его использованию

 




Поделиться с друзьями:


Дата добавления: 2014-12-16; Просмотров: 1128; Нарушение авторских прав?; Мы поможем в написании вашей работы!


Нам важно ваше мнение! Был ли полезен опубликованный материал? Да | Нет



studopedia.su - Студопедия (2013 - 2026) год. Все материалы представленные на сайте исключительно с целью ознакомления читателями и не преследуют коммерческих целей или нарушение авторских прав! Последнее добавление




Генерация страницы за: 0.013 сек.