Студопедия

КАТЕГОРИИ:


Архитектура-(3434)Астрономия-(809)Биология-(7483)Биотехнологии-(1457)Военное дело-(14632)Высокие технологии-(1363)География-(913)Геология-(1438)Государство-(451)Демография-(1065)Дом-(47672)Журналистика и СМИ-(912)Изобретательство-(14524)Иностранные языки-(4268)Информатика-(17799)Искусство-(1338)История-(13644)Компьютеры-(11121)Косметика-(55)Кулинария-(373)Культура-(8427)Лингвистика-(374)Литература-(1642)Маркетинг-(23702)Математика-(16968)Машиностроение-(1700)Медицина-(12668)Менеджмент-(24684)Механика-(15423)Науковедение-(506)Образование-(11852)Охрана труда-(3308)Педагогика-(5571)Полиграфия-(1312)Политика-(7869)Право-(5454)Приборостроение-(1369)Программирование-(2801)Производство-(97182)Промышленность-(8706)Психология-(18388)Религия-(3217)Связь-(10668)Сельское хозяйство-(299)Социология-(6455)Спорт-(42831)Строительство-(4793)Торговля-(5050)Транспорт-(2929)Туризм-(1568)Физика-(3942)Философия-(17015)Финансы-(26596)Химия-(22929)Экология-(12095)Экономика-(9961)Электроника-(8441)Электротехника-(4623)Энергетика-(12629)Юриспруденция-(1492)Ядерная техника-(1748)

Сечения. Сечение - изображение, получающееся при мысленном рассечении предмета плоскостью




Сечение - изображение, получающееся при мысленном рассечении предмета плоскостью. На сечении показывают только то, что получается в секущей плоскости.

Сечения подразделяются на вынесенные и наложенные. Вынесенные сечения - те, которые располагаются вне изображения предмета. Наложенные сечения - те, которые совмещаются с соответствующим видом предмета.

Обозначение сечений подобно обозначению разрезов и состоит из следов секущей плоскости и стрелок, указывающих направлениевзгляда, а также буквы, проставленной с наружной стороны стрелок по отношению к изображению предмета (рис. 51, 52).

Вынесенное сечение не надписывают и секущую плоскость не показывают, если линия сечения совпадает с осью симметрии сечения, а само сечение расположено на продолжении следа секущей плоскости или в разрыве между частями вида (рис. 51; сечение по первой ступени вала).

Если сечение наложенное и нет оси симметрии, линию сечения проводят со стрелками, но буквы не проставляют (рис. 51; сечение по 2 ступени вала). Симметричное наложенное сечение

Рис. 51 не обозначают.

¨ Если секущая плоскость проходит через ось отверстия любой формы, то сечение выполняется по типу разреза. Отверстие образовано только боковой поверхностью (донышки отсутствуют).

¨¨ Если секущая плоскость проходит через ось углубления, образованного поверхностью вращения, то сечение выполняется по типу разреза. Углубление образовано боковой поверхностью и донышком.

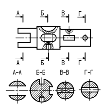
На рис. 52 выполнены сечения:

А - А – сечение по прямоугольному углублению, выполненному с торца вала в соответствие с пунктом ¨;

Б – Б – сечение по пазу сегментной шпонки в соответствие с пунктом ¨, по пазу призматической шпонки в соответствие с пунктом ¨, по цилиндрическому углублению в соответствие с пунктом ¨¨;

В – В – сечение по коническому углублению в соответствие с пунктом ¨¨ и сечение по прямоугольному отверстию в соответствие с пунктом ¨;

Рис. 52 Г – Г – сечение по цилиндрическому отверстию в соответствие с пунктом ¨.




Поделиться с друзьями:


Дата добавления: 2014-12-16; Просмотров: 384; Нарушение авторских прав?; Мы поможем в написании вашей работы!


Нам важно ваше мнение! Был ли полезен опубликованный материал? Да | Нет



studopedia.su - Студопедия (2013 - 2026) год. Все материалы представленные на сайте исключительно с целью ознакомления читателями и не преследуют коммерческих целей или нарушение авторских прав! Последнее добавление




Генерация страницы за: 0.012 сек.