Студопедия

КАТЕГОРИИ:


Архитектура-(3434)Астрономия-(809)Биология-(7483)Биотехнологии-(1457)Военное дело-(14632)Высокие технологии-(1363)География-(913)Геология-(1438)Государство-(451)Демография-(1065)Дом-(47672)Журналистика и СМИ-(912)Изобретательство-(14524)Иностранные языки-(4268)Информатика-(17799)Искусство-(1338)История-(13644)Компьютеры-(11121)Косметика-(55)Кулинария-(373)Культура-(8427)Лингвистика-(374)Литература-(1642)Маркетинг-(23702)Математика-(16968)Машиностроение-(1700)Медицина-(12668)Менеджмент-(24684)Механика-(15423)Науковедение-(506)Образование-(11852)Охрана труда-(3308)Педагогика-(5571)Полиграфия-(1312)Политика-(7869)Право-(5454)Приборостроение-(1369)Программирование-(2801)Производство-(97182)Промышленность-(8706)Психология-(18388)Религия-(3217)Связь-(10668)Сельское хозяйство-(299)Социология-(6455)Спорт-(42831)Строительство-(4793)Торговля-(5050)Транспорт-(2929)Туризм-(1568)Физика-(3942)Философия-(17015)Финансы-(26596)Химия-(22929)Экология-(12095)Экономика-(9961)Электроника-(8441)Электротехника-(4623)Энергетика-(12629)Юриспруденция-(1492)Ядерная техника-(1748)

Простые разрезы




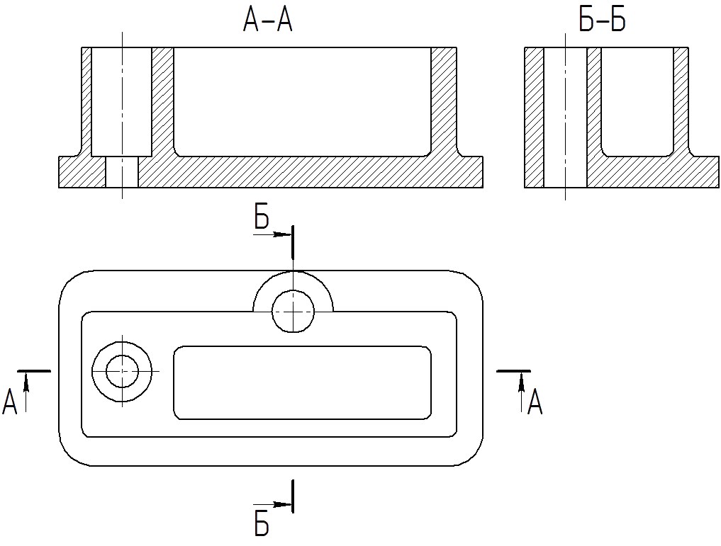
Рис. 3.7

 

Простым разрезом называется разрез, получаемый при рассечении детали одной секущей плоскостью. Чаще всего применяются вертикальные и горизонтальные разрезы.

Вертикальными называются разрезы, образованные секущими плоскостями, параллельными фронтальной или профильной плоскостям проекций.

Вертикальный разрез называется фронтальным, если секущая плоскость параллельна фронтальной плоскости проекций, и профильным, если секущая плоскость параллельна профильной плоскости проекций.

Горизонтальными разрезами называются разрезы, образованные секущими плоскостями, параллельными горизонтальной плоскости проекций.

Горизонтальные, фронтальные и профильные разрезы могут размещаться на месте соответствующих основных видов.

На рис. 3.6 выполнены два вертикальных разреза: фронтальный (А‑А)и профильный (Б‑Б), где деталь не имеет осей симметрии, поэтому на чертеже указано положение секущих плоскостей и соответствующие им разрезы сопровождаются надписями.

На одном изображении допускается соединять часть вида и часть разреза.

При соединении симметричных частей вида и разреза, если с осью симметрии совпадает проекция какой-либо линии, например ребра (рис. 3.8), то вид от разреза отделяется тонкой сплошной волнистой линией, проводимой левее (рис. 3.8, а) или правее (рис. 3.8, б) оси симметрии.

 

а б

Рис. 3.8

Если деталь симметрична (рис. 3.9), то можно соединить половину вида и половину разреза(рис. 3.10), разделяя их штрихпунктирной тонкой линией, являющейся осью симметрии. Часть разреза может располагаться правее (рис. 3.11, а, разрез А–А,)или ниже (рис. 3.11, б, разрез А–А) оси симметрии, разделяющей часть вида с частью разреза, причем разрез А–А на рис. 3.11, а является предпочтительнее.

 

Рис. 3.9

Такие элементы, как спицы маховиков, шкивов, зубчатых колес, тонкие стенки типа ребер жесткости и т. п. показывают незаштрихованными, если секущая плоскость направлена вдоль оси или длинной стороны такого элемента. Если в подобных элементах детали имеется местное сверление, углубление и т. п., то делают местный разрез, как показано на рис На аксонометрических проекциях штриховку наносят

а б

Рис. 3.10

 




Поделиться с друзьями:


Дата добавления: 2014-11-29; Просмотров: 1018; Нарушение авторских прав?; Мы поможем в написании вашей работы!


Нам важно ваше мнение! Был ли полезен опубликованный материал? Да | Нет



studopedia.su - Студопедия (2013 - 2026) год. Все материалы представленные на сайте исключительно с целью ознакомления читателями и не преследуют коммерческих целей или нарушение авторских прав! Последнее добавление




Генерация страницы за: 0.013 сек.