Студопедия

КАТЕГОРИИ:


Архитектура-(3434)Астрономия-(809)Биология-(7483)Биотехнологии-(1457)Военное дело-(14632)Высокие технологии-(1363)География-(913)Геология-(1438)Государство-(451)Демография-(1065)Дом-(47672)Журналистика и СМИ-(912)Изобретательство-(14524)Иностранные языки-(4268)Информатика-(17799)Искусство-(1338)История-(13644)Компьютеры-(11121)Косметика-(55)Кулинария-(373)Культура-(8427)Лингвистика-(374)Литература-(1642)Маркетинг-(23702)Математика-(16968)Машиностроение-(1700)Медицина-(12668)Менеджмент-(24684)Механика-(15423)Науковедение-(506)Образование-(11852)Охрана труда-(3308)Педагогика-(5571)Полиграфия-(1312)Политика-(7869)Право-(5454)Приборостроение-(1369)Программирование-(2801)Производство-(97182)Промышленность-(8706)Психология-(18388)Религия-(3217)Связь-(10668)Сельское хозяйство-(299)Социология-(6455)Спорт-(42831)Строительство-(4793)Торговля-(5050)Транспорт-(2929)Туризм-(1568)Физика-(3942)Философия-(17015)Финансы-(26596)Химия-(22929)Экология-(12095)Экономика-(9961)Электроника-(8441)Электротехника-(4623)Энергетика-(12629)Юриспруденция-(1492)Ядерная техника-(1748)

Общие сведения. Реле – это электрический аппарат, в котором при плавном изменении входной (управляющей) величины происходит скачкообразное изменение выходной (управляемой)




 

Реле – это электрический аппарат, в котором при плавном изменении входной (управляющей) величины происходит скачкообразное изменение выходной (управляемой) величины. Причём, хотя бы одна из этих величин должна быть электрической.

По принципу действия реле подразделяются на электромагнитные, поляризованные, магнитоэлектрические, индукционные, тепловые, реле времени и др.

В настоящих методических указаниях рассматриваются электромагнитные реле, принцип действия которых основан на использовании электромагнитов.

По области применения реле подразделяют:

 

а. Для защиты энергосистем;

б. Для управления и защиты электроприводов;

в. Для схем автоматики.

 

В зависимости от входного параметра реле подразделяют на реле тока, напряжения, мощности, частоты и др.

По способу включения реле подразделяются на первичные и вторичные. Первичные реле включаются непосредственно в цепь, вторичные – через измерительные трансформаторы.

Основной характеристикой реле является характеристика управления – зависимость выходного сигнала от входного.

Для реле с замыкающим контактом характеристика «вход-выход» (рис.13.3) определяется следующим: при отсутствии входного сигнала () контакты разомкнуты и ток в управляемой цепи равен нулю (). С увеличением входного сигнала, при некотором его значении, происходит срабатывание реле. Это значение входного сигнала называется параметром обрабатывания – (напряжение, ток и т.д.) До тех пор, пока выходной параметр равен нулю либо своему минимальному значению (для бесконтактных аппаратов). При выходной параметр скачком меняется от до .. Происходит срабатывание реле. При дальнейшем увеличении контакты реле остаются замкнутыми и выходной параметр остаётся постоянным .

Если теперь начать уменьшать входной параметр, то при некотором его значении якорь реле возвращается в исходное положение, контакты размыкаются и происходит скачкообразное изменение входного параметра от значения до 0.

Значение входного параметра, при котором происходит возврат реле в исходное состояние, называется параметром возврата – .

Значения параметров срабатывания или отпускания, на которые отрегулировано реле, называются уставкой по входному параметру – .

Значение рабочего входного параметра больше чем . Отношение называется коэффициентом запаса.

Для реле очень важно отношение , которые называются коэффициентом возврата .

Важным параметром, характеризующим усилительные свойства реле, является отношение максимальной мощности нагрузки в управляемой цепи к минимальной мощности входного сигнала , при котором происходит срабатывание реле.

В зависимости от назначения к реле предъявляется ряд требований. Так, к реле защиты энергосистем предъявляются требования селективности, быстродействия, чувствительности, надёжности, высокого значения коэффициента возврата.

Под селективностью понимается избирательность. Для реле это означает способность отключать только повреждённый участок.

 
 

 

 


Рис.13.3.Характеристика «вход-выход» реле.

 

Реле защиты энергосистем эксплуатируются в облегчённых условиях. Они не подвержены ударам, вибрациям, пыли и газов, вызывающих коррозию. К этим реле не предъявляются требования высокой износостойкости, так как аварийные режимы в энергосистемах редки. В этой связи электрическая и механическая износоустойчивость может быть значительно меньше, чем у реле для защиты электроприводов и систем автоматики, где износоустойчивость достигает десятков миллионов циклов, а число включений в час 1000 и более.

В связи с такими условиями эксплуатации реле защиты энергосистем могут иметь сложную конструкцию, выполняемой с высокой точностью; малое нажатие контактов, что позволяет выполнять лёгкий якорь, обеспечивающий малую инерционность. Высокое значение коэффициента возврата достигается из следующих соображений.

В общем случае коэффициент возврата реле равен

,

где – ток возврата, – ток срабатывания.

Значения тока возврата и срабатывания связаны со значениями электромагнитной силы срабатывания и возврата .Электромагнитная сила, действующая на якорь определяется выражением

, (13.1)

где ,
величина воздушного зазора,

– поперечное сечение зазора.

При срабатывании – силы противодействующих пружин. При возврате электромагнитная сила . Срабатывание электромагнита соответствует уменьшению зазора между якорем и полюсным наконечником, от начального () до конечного (). В соответствии с /1/ с уменьшением зазора электромагнитная сила возрастает пропорционально квадрату зазора а сила противодействующей пружины с уменьшением зазора возрастает линейно. Поэтому при уменьшении зазора от до при срабатывании электромагнита разница между электромагнитной силой и силой противодействующей пружины возрастает от 0 до . В этой связи ток возврата меньше тока срабатывания и имеют место соотношения:

при токе срабатывании для конечного значения зазора электромагнитная сила равна

, (13.2)

при возврате электромагнитная сила

. (13.3)

из отношения(13.3) к (13.2/)следует

. (13.4)

Так как , то коэффициент возврата максимальных реле . Для увеличения необходимо уменьшение , то есть сближение тяговой характеристики и противодействующей . Для максимального сближения характеристик нужно придать противодействующий нелинейный характер. Однако это сложно выполнить и такие решения применяются редко. При одной противодействующей пружине рекомендуется выбирать её с максимально возможной жёсткостью, чтобы противодействующая характеристика совпадала с касательной, проведённой к тяговой характеристике при . Если выбрать достаточно большое значение и малый ход якоря, равный , то характеристика противодействующей пружины достаточно близко подойдёт к тяговой и коэффициент возврата может быть получен порядка 0,7-0,8.

Хорошими возможностями согласования характеристик обладает электромагнитная система с поворотным якорем, кинематическая схема которого представлена на рис.13.3. Якорь Г-образной формы выполнен из тонкой электротехнической стали. С уменьшением зазора он насыщается, уменьшается и возрастает.

Помимо указанных факторов на коэффициент возврата реле оказывают влияние трение перемещающихся частей электромагнита и гистерезис материала магнитопровода. За счёт их действия коэффициент возврата уменьшается. Для уменьшения влияния трения на коэффициент возврата усилие противодействующей пружины должно значительно превышать силу трения.

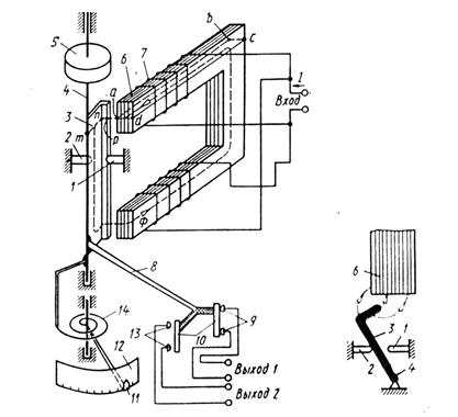
Конструкцию и принцип действия реле рассмотрим на примере реле максимального тока, кинематическая схема которого приведена на рис.13.3 (а и б).

На шихтованном магнитопроводе 6 П-образной формы расположены две намагничивающие обмотки 7, при протекании тока по которым создаётся магнитный поток , который замыкается по цепи: - магнитопровод – воздушный зазор – якорь – второй воздушный зазор – магнитопровод. Якорь 3 выполнен из электротехнической стали и для увеличения быстродействия очень лёгкий. Под действием электромагнитных сил якорь стремится повернуться в сторону соответствующую уменьшению зазора (рис.13.3, б). Под действием механических сил, создаваемых спиральной пружиной 14 (рис.13.3 а), якорь стремится повернуться против часовой стрелки до левого упора 2. При токе срабатывания электромагнитная сила, при всех углах поворота якоря, от начального до конечного, больше механической.

Таким образом, если ток достигает тока срабатывания, якорь повернется до упора 1. С якорем жестко связаны посредством контактного рычага 8 два подвижных контактных мостика 10. При срабатывании в начале поворота якоря разомкнутся контакты 9 (выход 1), а в конце поворота якоря замкнутся контакты 13 (выход 2).

При токе возврата происходит поворот якоря в обратном направлении и коммутация контактов в обратной последовательности – размыкания контактов 13 и последующее замыкание контактов 9.

Для согласования механической и тяговой характеристик используются упоры 1 и 2. Оптимальное согласование характеристик осуществляется изменением положения упоров.

Изменение уставки тока срабатывания осуществляется:

грубое (изменение в два раза) – путем различного (последовательного и параллельного) соединения обмоток 7 (на рис.13.3 они соединены параллельно);

плавное – осуществляется путем перемещения указателя уставки 11 по шкале уставок 12.

Указатель уставки 11 соединен с пружиной 14 и при движении указателя пружина закручивается или ослабляется, поднимая или опуская тем самым механическую характеристику.

Данное реле может работать как на постоянном, так и на переменном токе. Для устранения вибраций якоря, возникающих на переменном токе, применяется гаситель колебаний 5, в котором энергия колебаний затрачивается на работу трения песчинок.

Гаситель колебаний (демпфер) 5 устраняет и вибрации контактов при включении (дребезг контактов).

Общий вид реле серии РТ-40 представлен на рис.3.

На базе реле РТ-40 разработаны реле напряжения серии РН-50. Они отличаются от реле тока следующим:

1. обмоточными данными - большим числом витков обмоток с меньшим поперечным сечением провода обмоток,

2. отсутствием гасителя колебаний 5. Так как ток в обмотках относительно невелик, то для уменьшения вибраций якоря применяется выпрямительная схема.

В настоящее время промышленностью выпускаются реле напряжения серии РН и реле тока серии РТ, основные данные которых приведены ниже.

 

 
 

 

 


Рис.13.4. Кинематическая схема реле тока РТ

 

 
 

 

 


Рис. 13.5. Электромагнитное реле серии РТ-40

 

Реле напряжения

 

Реле напряжения РН-50. Реле максимального и мини­мального напряжения электромагнитное (П-образный шихто­ванный сердечник с поворотным якорем).

Обмотки реле через выпрямительный мост подсоединяют­ся к сети переменного тока. Изменение уставки осуществля­ется поворотом рычага и закручиванием спиральной пружины.

Номинальное напряжение реле от 30 до 400 В.

Пределы изменения уставки на срабатывание: 15...60 В при номинальных напряжениях реле 30 и 60 В; 50...200 В при 100 и 200 В; 100...400 В при 200 и 400 В.

Коэффициент возврата 0,8.

Собственное время срабатывания реле не более 0,15 с при снижении напряжения до 0,8 номинального.

Реле напряжения РН-51 предназначено для примене­ния в схемах контроля изоляции цепей постоянного тока на­пряжением до 220 В. Реле имеет один замыкающий контакт.

Реле максимального напряжения РН-53 предназначе­но для применения в качестве измерительного органа, реаги­рующего на повышение напряжения. Реле имеет один замы­кающий и один размыкающий контакты.

Реле минимального напряжения РН-54 предназначе­но для применения в качестве измерительного органа, реаги­рующего на понижение напряжения. Реле имеет один замы­кающий и один размыкающий контакты.

Реле сдвига фаз РН-55 или контроля синхронизма. Реле электромагнитное. Его магнитная система состоит из П-образного магнитопровода и поворотного якоря. Реле реагирует на геометрическую разность векторов напряжения, подводи­мых к выводам.

Применяют в схемах автоматического повторного включе­ния линий электропередачи с двусторонним питанием для кон­троля наличия напряжения на линии и угла сдвига фаз между векторами напряжения на линии и шинах подстанции.

Исполняются на напряжения от 30 до 100 В.

Реле срабатывает при углах сдвига фаз между векторами напряжения в пределах от 20 до 40° при номинальном напря­жении. Коэффициент возврата по углу до 0,8 при номиналь­ном напряжении. Время срабатывания 0,15 с при угле сдвига фаз равно полуторакратному значению уставки.

Потребляемая мощность каждой обмотки при номиналь­ном режиме (номинальное напряжение и нулевой сдвиг фаз) — 6,5 ВА.

Коммутируемые мощности: постоянный ток — 60 Вт при напряжении до 220 В и ток до 2 А (постоянная времени до 0,05 с); переменный ток — 300 ВА при напряжении до 220 В и токе д 3 А.

Реле имеют две обмотки напряжения, один замыкающий и один размыкающий контакты

Реле максимального напряжения РН-153 и РН-154 предназначены для применения в качестве измерительного органа, реагирующего на повышение напряжения. Реле имеет один замыкающий и один размыкающий контакты.

Реле напряжения обратной последовательности РНФ-1М предназначены для защиты различных электри­ческих установок при несимметричных коротких замыканиях.

Реле имеет один замыкающий и один размыкающий контакты. Характеристики реле напряжения РН приведены в табл. 1 ­– 6.

Реле напряжения нулевой последовательности РНН-57. Используется в схемах поперечных дифференциаль­ных защит, дистанционных защит с высокочастотной блоки­ровкой в качестве реле максимального напряжения. Уставки напряжения реле — 4, 5, 6, 7 и 8 В, время сраба­тывания — 0,04 с при двукратном токе уставки

Реле напряжения обратной последовательности РНФ-3. Предназначено для использования в схемах защиты в качестве органа, реагирующего на напряжение обратной последовательности при возникновении несимметричных ко­ротких замыканий

Уставки линейного напряжения обратной последова­тельности — 13,6...24 В. Коэффициент возврата 0,95.

Реле тока максимальное типа РТ-40. Реле электро­магнитного принципа действия (П-образный шихтованный сер­дечник и Г-образный якорь, имеет две обмотки управления, которые могут соединяться последовательно или параллель­но в зависимости от требуемого тока срабатывания). Диапазон уставок тока срабатывания от 0,05 до 200 А.Коэффициент возврата от 0,7 до 0,85. Время срабатывания не более 0,1 с при токе, равном 1,2 тока срабатывания, и не более 0,03 с при токе, равном 3-кратному току срабатывания [1].

 

ПАРАМЕТРЫ РЕЛЕ ТОКА

Реле максимального тока РТ-40, РТ-140 (рис. 10.32) применяются в качестве измерительных реле в схемах релей­ной защиты реле тока серий РТ-40 и РТ-140 выпускаются в унифицированном кор­пусе «СУРА» и приспособлены для переднего или заднего под винт при­соединения внешних проводников.

Коэффициент возврата реле не ме­нее 0,85 на первой уставке и не менее 0,8 на остальных уставках шкалы. Реле имеет один замыкающий и один размыкающий контакты. Номинальная частота тока — 50 и 60 Гц. Габаритные размеры реле типа РТ-40 -— 67x128x158 мм; реле типа РТ-140 — 95x140x181 мм. Масса реле не более 0,85 кг.

 




Поделиться с друзьями:


Дата добавления: 2014-11-29; Просмотров: 2027; Нарушение авторских прав?; Мы поможем в написании вашей работы!


Нам важно ваше мнение! Был ли полезен опубликованный материал? Да | Нет



studopedia.su - Студопедия (2013 - 2026) год. Все материалы представленные на сайте исключительно с целью ознакомления читателями и не преследуют коммерческих целей или нарушение авторских прав! Последнее добавление




Генерация страницы за: 0.013 сек.