Студопедия

КАТЕГОРИИ:


Архитектура-(3434)Астрономия-(809)Биология-(7483)Биотехнологии-(1457)Военное дело-(14632)Высокие технологии-(1363)География-(913)Геология-(1438)Государство-(451)Демография-(1065)Дом-(47672)Журналистика и СМИ-(912)Изобретательство-(14524)Иностранные языки-(4268)Информатика-(17799)Искусство-(1338)История-(13644)Компьютеры-(11121)Косметика-(55)Кулинария-(373)Культура-(8427)Лингвистика-(374)Литература-(1642)Маркетинг-(23702)Математика-(16968)Машиностроение-(1700)Медицина-(12668)Менеджмент-(24684)Механика-(15423)Науковедение-(506)Образование-(11852)Охрана труда-(3308)Педагогика-(5571)Полиграфия-(1312)Политика-(7869)Право-(5454)Приборостроение-(1369)Программирование-(2801)Производство-(97182)Промышленность-(8706)Психология-(18388)Религия-(3217)Связь-(10668)Сельское хозяйство-(299)Социология-(6455)Спорт-(42831)Строительство-(4793)Торговля-(5050)Транспорт-(2929)Туризм-(1568)Физика-(3942)Философия-(17015)Финансы-(26596)Химия-(22929)Экология-(12095)Экономика-(9961)Электроника-(8441)Электротехника-(4623)Энергетика-(12629)Юриспруденция-(1492)Ядерная техника-(1748)

Механические интерфейсы




Механические интерфейсы рассмотрим на примере системы разделения КА от РБ.

Система разделения предназначена для жесткого крепления КА к разгонному блоку в процессе вывода на рабочую орбиту и отделения его в заданный момент времени по сигналу системы управления, обеспечивая заданные характеристики отделения (линейные и угловые скорости и т.п.).

В системах разделения используются следующие виды энергии:

-энергия экзотермических химических реакций;

-энергия механических устройств;

-другие виды энергии (потенциальная энергия гидравлических и пневматических устройств, тепловая, магнитная, электромагнитная энергия).

Все большее распространение находят комбинированные системы разделения, использующие несколько видов энергии для выполнения различных функций. Например, в системах разделения может использоваться энергия горения пиротехнических составов и механическая энергия пружинных толкателей.

Выбор оптимальных вариантов систем разделения осуществляется на основании их оценки по таким критериям, как надежность функционирования, масса систем разделения, импульс развиваемой силы, габариты, радиационная и термическая стойкость, нечувствительность к динамическим факторам, величина возмущений, накладываемых на движение КА при разделении, а также экономические, технологические, эксплуатационные и др. показатели.

Наиболее эффективными в настоящее время являются следующие системы разделения:

-пиротехнические системы, состоящие из пороховых аккумуляторов давления, соединенных с замками-толкателями системой трубопроводов;

-автономные пиротехнические замки с пиропатронами и пружинные толкатели, или автономные замки-толкатели;

-автономные детонационные замки, соединенные трансляторами подачи команды, и пружинные толкатели.

Рассмотрим одну из систем, например, систему разделения, состоящую из детонационных замков, объединенных транслятором подачи команд и пружинных толкателей. Данная система по сравнению с пиротехнической системой отделения имеет меньшую массу и габариты, одинаковую надежность, меньшие величины возмущений, накладываемых на КА при разделении. Она также обеспечивает компенсацию продольных и боковых нагрузок при эксплуатации. Конструктивная схема системы разделения представлена на рисунке.

 

Система отделения КГЧ от РН: 1-замок-толкатель; 2- ПАД; 3- коллектор; 4- трубопровод; 5- контактный датчик.

Система отделения состоит из 8-ми замков-толкателей поз.1, 4-х пороховых аккумуляторов давления (ПАДов) поз.2, соединенных между собой коллектором поз.3 и восьми трубопроводов поз.4, двух контактных датчиков поз.5, фиксирующих факт разделения. Замок-толкатель служит для жесткой стыковки КГЧ к переходному отсеку разгонного блока. ПАД предназначен для получения рабочего газа высокого давления, который по коллектору, в котором происходит выравнивание давления, через трубопроводы поступает в замки-толкатели.

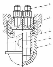
Пороховой аккумулятор давления (ПАД) состоит из прочного титанового корпуса поз.1 (см. рисунок), во внутреннюю полость которого, в сепараторе поз.2 установлены пиротехнические патроны поз.3. Пиропатроны поз.5 установлены в пирогнезде поз.4.

Пороховой аккумулятор давления: 1-корпус; 2-сепаратор; 3-патрон; 4-пирогнездо; 5-пиропатрон.

Процесс разделения происходит следующим образом: при поступлении электрического питания на мостики пиропатронов, последние срабатывают и инициируют пиротехнические патроны, которые создают основную массу рабочего газа. Газ через коллектор и трубопроводы поступает на поршни поз. 2 в замках-толкателях (см. рисунок).

Замок-толкатель: 1-корпус; 2- поршень; 3- шток; 4-шариковый замок; 5-гильза.

Поршень под действием газа перемещает шток поз. 3, последний перемещаясь, освобождает шарики поз. 4 и тем самым снимает силовую связь между гильзой поз. 5 и корпусом поз. 1. При дальнейшем движении поршень (на ходе 60 мм) через гильзу поз. 5 сообщает необходимую относительную скорость отделения головному блоку.

Детонационный замок. В данной конструкции используется детонационный замок тянущего типа (см. рисунок). Замок состоит из корпуса поз. 1, в котором в кольцевую канавку запрессовано эластичное взрывчатое вещество (ЭВВ) поз. 4, штока с разрывным элементом поз. 2, амортизатора поз. 3, упирающегося в гайку поз. 5. Стык затягивается гайкой поз. 6, между двумя стыковочными шпангоутами расположена специальная рифленая шайба поз. 8. С двух сторон к корпусу подводятся трансляторы детонации поз. 7.

Замок детонации:1-корпус; 2-шток; 3-амортизатор; 4-ЭВВ; 5-гайка; 6-гайка упорная; 7-трансляторы; 8-шайба рифленая.

Трансляторы детонации служат для передачи детонационного импульса от электродетонаторов к исполнительным элементам разрывных замков. Транслятор (см. рисунок) состоит из детонационного шнура в многослойной металлической оболочке поз.1, двух усилителей поз.4, расположенных в наконечниках поз.З, и служащих для надежной передачи детонации к заряду замка, и накидных гаек поз 2, с помощью которых транслятор соединяется с замками. При срабатывании транслятор детонации не разрушается и продукты детонации локализуются внутри конструкции.




Поделиться с друзьями:


Дата добавления: 2014-11-29; Просмотров: 1542; Нарушение авторских прав?; Мы поможем в написании вашей работы!


Нам важно ваше мнение! Был ли полезен опубликованный материал? Да | Нет



studopedia.su - Студопедия (2013 - 2026) год. Все материалы представленные на сайте исключительно с целью ознакомления читателями и не преследуют коммерческих целей или нарушение авторских прав! Последнее добавление




Генерация страницы за: 0.009 сек.