Студопедия

КАТЕГОРИИ:


Архитектура-(3434)Астрономия-(809)Биология-(7483)Биотехнологии-(1457)Военное дело-(14632)Высокие технологии-(1363)География-(913)Геология-(1438)Государство-(451)Демография-(1065)Дом-(47672)Журналистика и СМИ-(912)Изобретательство-(14524)Иностранные языки-(4268)Информатика-(17799)Искусство-(1338)История-(13644)Компьютеры-(11121)Косметика-(55)Кулинария-(373)Культура-(8427)Лингвистика-(374)Литература-(1642)Маркетинг-(23702)Математика-(16968)Машиностроение-(1700)Медицина-(12668)Менеджмент-(24684)Механика-(15423)Науковедение-(506)Образование-(11852)Охрана труда-(3308)Педагогика-(5571)Полиграфия-(1312)Политика-(7869)Право-(5454)Приборостроение-(1369)Программирование-(2801)Производство-(97182)Промышленность-(8706)Психология-(18388)Религия-(3217)Связь-(10668)Сельское хозяйство-(299)Социология-(6455)Спорт-(42831)Строительство-(4793)Торговля-(5050)Транспорт-(2929)Туризм-(1568)Физика-(3942)Философия-(17015)Финансы-(26596)Химия-(22929)Экология-(12095)Экономика-(9961)Электроника-(8441)Электротехника-(4623)Энергетика-(12629)Юриспруденция-(1492)Ядерная техника-(1748)

Гірничі виробки на відкритих гірничих роботах




Загальні зауваження до вивчення теми

ТЕХНОЛОГІЯ І МЕХАНІЗАЦІЯ ВІДКРИТИХ ГІРНИЧИХ РОБІТ

Контрольні запитання

1. Що таке рудникове повітря? Які гази входять до його складу?

2. Назвіть отруйні гази, які виділяються в гірничі виробки. Які гранично – допустимі концентрації для кожного з цих газів?

3. Які фактори враховують при розрахунку кількості повітря, необхідної для провітрювання виробки?

4. За якою формулою обчислюють кількість повітря для провітрювання підготовчої виробки за газовим фактором?

5. Яким чином обмежується кількість повітря за фактором максимально-допустимої швидкості? Які допустимі значення швидкості повітря по окремих виробках?

6. Назвіть гранично-допустимі концентрації метану в шахтних виробках.

7. Що таке депресія виробки, аеродинамічний опір? Як вони визначаються?

8. Які засоби застосовують для провітрювання гірничих виробок?

9. Назвіть способи провітрювання тупикових виробок, шахти? В чому їх сутність?

10. За якою формулою обчислюють кількість повітря для провітрювання очисного вибою за фактором метановиділення?

 

Вивчення теми передбачено з використанням діючих моделей виймально-навантажувальних машин, макетів гірничих виробок, плакатів та навчальних посібників [2, розд. 7] та [1, гл. 20] в наступному порядку:

– ознайомитись з гірничими виробками на кар'єрі, з етапами і елементами відкритих гірничих робіт;

– ознайомитись з процесами підготовки гірських порід до виймання, із застосуванням буро-підривних робіт;

– ознайомитись з виймально-навантажувальним обладнанням відкритих гірничих робіт, схемами розташування цього обладнання на уступах, з принципом розрахунку його продуктивності.

– відповісти на контрольні запитання по темі.

 

Відкритими гірничими роботами називають комплекс робіт, які забезпечують розробку корисних копалин з земної поверхні. При цьому утворюється система виробок, яку називають кар'єром. При розробці вугільних покладів і розсипних родовищ кар'єри називають відповідно розрізами і копальнями.

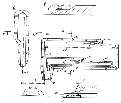
Кар’єр складається з наступних гірничих виробок (рис. 7.1):

капітальної розкривної траншеї (9), призначеної для транспортування гірничої маси з кар'єру на поверхню, доставки обладнання і матеріалів, для переміщення людей;

розрізної траншеї (10), яка забезпечує початковий фронт очисних робіт;

розкривних і видобувних уступів з вибоями 12 і 11;

відвальних уступів, де складуються пусті породи (рис. 7.1, б).

Уступом називають частину товщі гірських порід у вигляді сходини, яка розробляється самостійними засобами виймання і переміщення. Якщо засоби виймання або транспорту не самостійні, то цю частину називають підуступом (рис. 7.1, в) і уступ буде складатися з двох підуступів. Уступ має верхню і нижню площадки. Якщо на площадці розташоване виймальне обладнання, то її називають робочою площадкою. Похилу площину уступу називають укосом уступу, а лінію перетину укосу з площадкою – бровкою уступу. Кут укосу борта уступу – це кут, утворений перетином площини укосу борта уступу з горизонтальною площиною. Частину уступу, в якій проводяться виймальні роботи, називають вибоєм уступу.

На неробочому борті кар’єру для підвищення його стійкості залишають площадки невеликої ширини – берми (6-7).

Бортом кар’єра називають комплекс площадок та уступів від поверхні до підошви кар’єра. Якщо на такому борту проводять гірничі роботи, то його називають робочим бортомкар’єра, якщо гірничих робіт не проводять – неробочим бортом кар’єра. Перетин ліній 1-4 і 8-5 з горизонтальними площинами утворюють відповідно кути укосу робочого і неробочого бортів кар’єра. Уступи можуть бути сформовані як в масиві гірських порід, так і у відвалах насипних порід чи корисної копалини (відвальні уступи – рис. 7.1, б).

 

 
 
A- A

 


Рис. 7.1. Загальний вигляд кар’єру та його елементи: 1, 8 – верхня бровка розкривного уступу; 2, 7 – нижня бровка розкривного уступу; 3, 6 – верхня бровка видобувного уступу; 4, 5 – нижня бровка видобувного уступу; 9 – капітальна розкривна траншея; 10 – розрізна траншея; 11, 12 – вибої розкривного та видобувного уступів; 13, 14 – екскаватори: роторний і мехлопата; 15 – конвеєри; 16, 17 – укоси уступів; βп, βу – кути укосу бортів уступів по породі і корисній копалині; βн – кут укосу неробочого борта; 1-4, βр – лінія та кут укосу для робочого борту кар’єру




Поделиться с друзьями:


Дата добавления: 2014-11-29; Просмотров: 1142; Нарушение авторских прав?; Мы поможем в написании вашей работы!


Нам важно ваше мнение! Был ли полезен опубликованный материал? Да | Нет



studopedia.su - Студопедия (2013 - 2025) год. Все материалы представленные на сайте исключительно с целью ознакомления читателями и не преследуют коммерческих целей или нарушение авторских прав! Последнее добавление




Генерация страницы за: 0.007 сек.