Студопедия

КАТЕГОРИИ:


Архитектура-(3434)Астрономия-(809)Биология-(7483)Биотехнологии-(1457)Военное дело-(14632)Высокие технологии-(1363)География-(913)Геология-(1438)Государство-(451)Демография-(1065)Дом-(47672)Журналистика и СМИ-(912)Изобретательство-(14524)Иностранные языки-(4268)Информатика-(17799)Искусство-(1338)История-(13644)Компьютеры-(11121)Косметика-(55)Кулинария-(373)Культура-(8427)Лингвистика-(374)Литература-(1642)Маркетинг-(23702)Математика-(16968)Машиностроение-(1700)Медицина-(12668)Менеджмент-(24684)Механика-(15423)Науковедение-(506)Образование-(11852)Охрана труда-(3308)Педагогика-(5571)Полиграфия-(1312)Политика-(7869)Право-(5454)Приборостроение-(1369)Программирование-(2801)Производство-(97182)Промышленность-(8706)Психология-(18388)Религия-(3217)Связь-(10668)Сельское хозяйство-(299)Социология-(6455)Спорт-(42831)Строительство-(4793)Торговля-(5050)Транспорт-(2929)Туризм-(1568)Физика-(3942)Философия-(17015)Финансы-(26596)Химия-(22929)Экология-(12095)Экономика-(9961)Электроника-(8441)Электротехника-(4623)Энергетика-(12629)Юриспруденция-(1492)Ядерная техника-(1748)

Генераторы сигналов специальной формы




ГЕНЕРАТОРЫ НА МИКРОСХЕМАХ

 

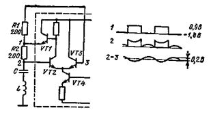
Низкочастотный генератор. Генератор нмпульсса (рис. 1022) работает на частоте 2,8 Гц Нестабильность частоты равна 0,02% при температурном коэффициенте 0,007%/град. Изме­нение частоты импульсов в основном определяется температурной нестабильностью элементов времязадающей цепи. Выходной импульс имеет амплитуду 20 В и фронт 15 не Скважность равна 103 — lO5. В исходном состоянии конденсатор С1 заряжен до напряжения, близкого к питающему. Начинается процесс разряда конденсатора через резисторы R2 и R11.

Рис. 10.22

Рис. 10.23

 

Токами утечки диодов КД503Б (0,03 мкА) можно пренебречь Напряжение, до которого разряжается конден­сатор, будет определяться в основном делителем R5 и R6. Как только напряжение на конденсаторе достигнет значения RвUп/(R5+R6), открывается транзистор VT2. Транзистор VT3 за­крывается. Через конденсатор СЗ будет действовать ПОС, которая ускоряет процесс разряда конденсатора С1. После того как закрыл­ся транзистор VT3, начинается процесс разряда конденсатора С2 Наступает момент, когда VT3 вновь открывается. Положительный перепад напряжения в коллекторе транзистора VT3 откроет тран­зистор VT4 который в свою очередь открывает транзистор VT1 и диод VDL Включается вторая цепь ПОС. Конденсатор С1 заря­жается до напряжения Uп. Во время заряда С1 формируется дли­тельность импульса. По мере уменьшения зарядного тока транзи­стора VT4 выходит из насыщения и VT1 закрывается. Период сле-дования выходных импульсов определяется выражением

T =R2Clln(R5+R6)/R6.

Генератор на интегральной микросхеме К137ЛБ2. У генератора (рис. 1023) при изменении напряжения питания на 1 В относитель­ное изменение частоты составляет 0,003. Если вместо LC-элементов поставить кварц, то относительное изменение частоты составит 5*10-6.

Транзисторы VT2 — VT4 интегральной микросхемы образуют дифференциальный усилитель. Выходной сигнал, снимаемый с эмит-терного повторителя VT1, подается через резисторы R1 и R2 на базу транзистора VT3 (ПОС) и на базу транзистора VT2 (ООС) Если в базовую цепь не включен контур, то сигналы ОС взаимно компенсируются и генерация отсутствует. Когда включен контур сигнал ООС ослабляется на частоте последовательного резонанса в делителе, состоящем из R1 и низкоомного полного сопротивления LC-цепочки. Поскольку преобладает ПОС, в схеме возникают коле­бания, частота которых может быть определена по табл 10.1.

 

Таблица 10.1

f, кГц        
L, мкГ     2,2 -0,47
С, пФ        

Рис. 10.24 Рис. 10.25

 

Мультивибратор на дифференциальном усилителе. Генератор (рис. 10.24) может выдавать сигналы с частотой от 1 Гц до 1,5 МГц с нестабильностью примерно 10~3. Он представляет собой симметричный мультивибратор. Длительность импульса определяет­ся постоянной времени Ti«RiCi, а интервал между импульсами — постоянной времени tittRzCz. При ti=tz выходной сигнал будет иметь форму меандра. Для R1=R2 = 22Q кОм и С7 = С2=0,2 мкФ частота выходного сигнала равна 2 Гц.

Генератор на интегральной микросхеме К122УД1. Импульсный генератор на микросхеме с двумя навесными элементами (рис. 1025) позволяет перекрыть широкий диапазон частот. Частота выходного сигнала может меняться от 2 Гц (для R=100 кОм, С=1 мкФ) до 1 МГц (для R=3 кОм, С=36 пФ). Для сигналов с другой частотой следования импульсов параметры R и С определяются по форму­ле f=1/5RС.

Генератор на ОУ К140УД1. Выходное напряжение генератора (рис. 1026) скачком переключается между двумя уровнями благо­даря ПОС через резисторы R1 и R2. Переключение происходит в момент, когда на входах усилителя напряжения равны. При поло­жительном выходном напряжении конденсатор заряжается через резистор R3. При равенстве напряжений на входах ОУ переходит в другое состояние, на выходе его появляется отрицательное на­пряжение. Конденсатор начинает разряжаться через резистор R3. И вновь при равенстве напряжений на входах ОУ переключается. Благодаря мостовому принципу построения схемы влияние нагруз­ки не сказывается на параметрах генератора. Изменение напряже­ния питания на 50% приводит к изменению частоты выходного сиг­нала всего на 0,5%.

Рис. 10.26

Рис. 10.27

 

В схеме генератора рис. 10.26, а выходной сигнал имеет форму меандра. Период следования импульсов равен T=CR3R1/(R1+R2). Для получения выходного сигнала со скважностью более 2 необхо­димо разделить зарядную и разрядную цепи конденсатора. Это можно реализовать с помощью схемы рис. 10.26,6. Изменяя отно­шение R1/(R1+R2), можно менять частоту колебаний при постоян­ной скважности. Генератор работает в диапазоне частот от 1 кГц до 1 МГц. Отношение длительности импульса к длительности паузы может меняться в пределах от 0,02 до 50.

Мостовой генератор на ОУ. Генератор (рис. 10.27, а) собран на ОУ, в цепь ОС которого включены времязадающие элементы С1, R5 и С2, R4, собранные по мостовой схеме. На выходе интегральной микросхемы формируется сигнал прямоугольной формы. Частота сигнала зависит от коэффициента обратной связи, который управля­ется резистором R6. Эта зависимость показана на рис. 10.27, б. G помощью резистора R2 можно регулировать длительность импуль­са в пределах 10%.

Генератор на интегральной микросхеме К133ЛA3. Генератор (рис. 10.28, а) построен на двух логических элементах 2И — НЕ. Пер­вый элемент включен в линейный режим с помощью резистора R. Этот элемент вызывает колебания в схеме. Положительная обратная связь осуществляется через конденсатор. Частота выходного сигнала определяется номиналами R и С. Через резистор R конденсатор заряжается и разряжается (входное сопротивление элемента мик­росхемы для отрицательной полярности сигнала, равное 4 кОм, мож­но не учитывать). Генератор работает при сопротивлениях резистора R<510 Ом. На рис. 10.28,6, в приведены, зависимости периода пов­торения Т и длительности импульса т от емкости конденсатора С. Мостовая схема генератора. Генератор (рис. 10.29) содержит два логических элемента. В цепи ОС этих элементов включены ре­зисторы, которые выводят интегральные микросхемы в линейный режим работы. Общая ПОС через конденсатор поддерживает в схе­ме импульсные колебания. Параметры выходных сигналов нелинея-, но меняются от сопротивлений резисторов и емкости конденсаторов. Эти зависимости приведены на графиках рис. 10.29.

Рис. 10.28

Рис. 10.29

 

Мультивибратор на элементах 2И — НЕ. Генератор (рис. 1030) построен по классической схеме мультивибратора, в которой ПОС осуществляется через конденсаторы. При R1 = R2=R и С1 — С2=С частота выходного сигнала определяется, выражением f=1/2,5RС. Широкодиапазонный генератор. Генератор, построенный на трех логических элементах 2И — НЕ (рис. 10.31),-имеет широкий диапазон изменения частоты в зависимости, от емкости конденсатора. Выход­ной сигнал, близкий по форме к меандру, может иметь частоту от 1 Гц до 1 МГц. При частотах меньше 100 Гц наблюдается неста­бильность заднего фронта сигнала. На рис. 10.31 приведены эпюры я графики, характеризующие схему.

Рис. 10.30 Рис. 10.31

 

Генератор с двойной ОС. В генера­торе (рис. 10.32, а) существуют две ОС: ООС через резистор R2 и ПОС через конденсатор С. В первый момент после включения преобладающее действие ока­зывает ПОС. Конденсатор имеет сопро­тивление значительно меньше, чем резистор R2. Происходит процесс заряда конденсатора. Транзистор в это время находится в закрытом состоянии. Отрицательное напряжение на выходе ОУ превосходит напряжение в эмиттере транзистора. По мере заряда конденсатора отрицательное напряже­ние в эмиттере увеличивается. Наступает момент, когда транзистор открывается. Отрицательный перепад напряжения в коллекторе при­ведет к переключению ОУ. Транзистор переходит в режим насыще­ния. В этом состоянии он будет находиться до тех пор, пока раз­ряжается конденсатор. Когда процесс разряда закончится, транзи­стор стремится перейти в линейный режим. Однако при переходе из режима насыщения в линейный через конденсатор действует ПОС, которая полностью закрывает транзистор. Процесс повторяется. Включение микросхемы показано в гл. 1. На рис. 10.32,6 приведены зависимости периода повторения и длительности импульса от вход­ного напряжения.

Генератор с управляемой ОС. Управляемый генератор (рис. 10.33, а) построен на двух ОУ Первый ОУ является генерато­ром сигнала треугольной формы, а второй управляет процессом за­ряда и разряда конденсатора. Управляющий сигнал одновременно действует на две цепи. Когда на выходе ОУ DA1 положительное напряжение, диод VD2 открыт. Через него заряжается конденса­тор С, а также действует положительный входной сигнал, который увеличивает зарядный ток. Одновременно с выхода ОУ DA2 на диод VD1 приходит инвертированный входной сигнал, который уменьшает порог закрывания его. В определенный момент напряжение на конденсаторе достигнет порога открывания диода VDL С этого момента конденсатор С будет заряжаться разностным то­ком. Скорость нарастания напряжения на нем уменьшится.

Рис. 10.32

Рис. 10.33

 

Если в этой схеме уменьшить сопротивление резистора R8, то можно существенно увеличить время заряда конденсатора -и тем самым уменьшить частоту выходного сигнала ОУ DA1. Генератор может формировать сигналы с частотой долей герц. На рис. 10.33, б представлена зависимость периода следования от напряжения Е.

 

Глава 11

 

Генераторы находят применение в измерительной технике, в моделирующих и решающих устройствах, в системах кодирования и декодирования сигналов. С помощью этих сигналов осуществля­ются настройка и коррекция узлов приемных устройств. В частности, они могут служить для управления частотой гетеродинов.

Применяются они и в качестве опорных сигналов при выделении полезного сигнала из шумов.

Сигналы специальной формы можно формировать двумя спосо­бами: дискретным и аналоговым. Дискретный способ формирования основан на импульсных схемах, которые формируют весовые токи или напряжения. Суммирование весовых величин в определенной последовательности позволяет получить сигналы любого вида. Ана­логовый способ формирования различных сигналов значительно про­ще дискретного, но его возможности значительно ограничены. Этот способ применяется в основном при формировании сигналов тре­угольного и трапецеидального вида. Эти сигналы получили наиболь­шее распространение. Существует большое число устройств, формирующих эти сигналы. Многие из схем обладают малым коэффици­ентом нелинейности. В наиболее совершенных устройствах коэффи­циент нелинейности составляет десятые доли процента. В основу их положен принцип заряда конденсатора постоянным током. Слож­ность схемы определяется линейностью выходного сигнала. Очень часто схемы должны обеспечивать достаточно большой ток в на­грузке. Так, в телевизионных отклоняющих системах ток должен быть более 1 А. Схемы включения ОУ, которые применяются в уст­ройствах, можно найти в гл. I.




Поделиться с друзьями:


Дата добавления: 2014-11-29; Просмотров: 1888; Нарушение авторских прав?; Мы поможем в написании вашей работы!


Нам важно ваше мнение! Был ли полезен опубликованный материал? Да | Нет



studopedia.su - Студопедия (2013 - 2025) год. Все материалы представленные на сайте исключительно с целью ознакомления читателями и не преследуют коммерческих целей или нарушение авторских прав! Последнее добавление




Генерация страницы за: 0.013 сек.