Студопедия

КАТЕГОРИИ:


Архитектура-(3434)Астрономия-(809)Биология-(7483)Биотехнологии-(1457)Военное дело-(14632)Высокие технологии-(1363)География-(913)Геология-(1438)Государство-(451)Демография-(1065)Дом-(47672)Журналистика и СМИ-(912)Изобретательство-(14524)Иностранные языки-(4268)Информатика-(17799)Искусство-(1338)История-(13644)Компьютеры-(11121)Косметика-(55)Кулинария-(373)Культура-(8427)Лингвистика-(374)Литература-(1642)Маркетинг-(23702)Математика-(16968)Машиностроение-(1700)Медицина-(12668)Менеджмент-(24684)Механика-(15423)Науковедение-(506)Образование-(11852)Охрана труда-(3308)Педагогика-(5571)Полиграфия-(1312)Политика-(7869)Право-(5454)Приборостроение-(1369)Программирование-(2801)Производство-(97182)Промышленность-(8706)Психология-(18388)Религия-(3217)Связь-(10668)Сельское хозяйство-(299)Социология-(6455)Спорт-(42831)Строительство-(4793)Торговля-(5050)Транспорт-(2929)Туризм-(1568)Физика-(3942)Философия-(17015)Финансы-(26596)Химия-(22929)Экология-(12095)Экономика-(9961)Электроника-(8441)Электротехника-(4623)Энергетика-(12629)Юриспруденция-(1492)Ядерная техника-(1748)

Оборудование систем пылеприготовления




 

В качестве оборудования систем пылеприготовления применяют:

1. Шаровая барабанная мельница. Состоит из барабана (d = 2 ¸ 4 м; l = 3 ¸ 8 м) цилиндрической формы, частично заполненного шарами (d = 30 ¸ 60 мм). Внутренние стенки барабана покрыты броней. Скорость вращения барабана 16 ¸ 25 об/мин.

Достоинства:

– универсальность – возможность эффективного размола любых углей, включая наиболее твердые и механически прочные;

– большая производительность, доходящая до 50 ¸ 70 т/ч;

– возможность глубокой подсушки углей;

– возможность добавления в мельницу новых шаров на ходу без ее остановки;

– простота обслуживания.

Недостатки: громоздкость, большой вес, большой удельный расход электроэнергии на размол топлива, значительный износ металла.

 

Рисунок 3.34 – Барабанно-шаровая мельница:

1 – электропривод, 4 – труба для подвода дробленого топлива и воздуха, 5 – труба для возврата недомола, 6 – плиты, 7 – барабан, 8 – мелющие шары, 9 – пылепровод.

2. Среднеходные мельницы, разделяются на:

валковые, в которых на вращающемся столбе закреплены мелющие валки,

шаровые, состоящие также из вращающегося столба и металлических шаров, расположенных с небольшим зазором по всей окружности.

Размол топлива в мельницах такого типа производится путем раздавливания более крупных кусков сырого угля, которые от центра отбрасываются на периферию за счет центробежных сил. Тонкость пыли регулируется числом оборотов и расходом воздуха, пропускаемого через мельницу.

Достоинства:

– компактность;

– низкий удельный расход электроэнергии на размол топлива.

Недостатки: сложность по конструкции и в эксплуатации.

 

 

Рисунок 3.35 – Валковая среднеходная мельница ВСМ:

1 – вход горячего воздуха, 2 – выход грубых частиц, 3 – подача сырого угля, 4 – движение потока аэросмеси, 5 – выход аэросмеси, 6 – пружина, 7 – валок, 8 – корпус мельницы, 9 – стол.

3. Шахтные мельницы. Разделяются на аксиальные и тангенциальные, в зависимости от схемы подачи воздуха. Конструктивно состоят из мельничной шахты, в которую помещены вращающиеся молотки.

4. Мельницы-вентиляторы. Топливо поступает в мельницу, куда одновременно поступают газы из топки, отсасываемые вентилятором.

 

Рисунок 3.36 – Мельница – вентилятор:

1 – патрубок для поступления топлива и воздуха, 2 – билы, 3 – ротор, 4 – корпус, 5 – сепаратор, 6 – патрубок выхода готовой пыли.

Подсушенное топливо измельчается быстро вращающимся ротором и выбрасывается в сепаратор над мельницей. Крупные куски угля и грубая пыль возвращаются из сепаратора в мельницу, а готовое топливо в горелку топки котельного агрегата.

Достоинства: компактность и простота конструкции.

Недостатки: быстрый износ и небольшой срок службы мелющих частей.

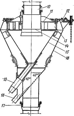
5. Сепараторы пыли. Улавливание крупных частиц пыли основано на центробежном эффекте, когда более тяжелые частицы отбрасываются при движении потока на внешнюю стенку.

 

Рисунок 3.37 – Сепаратор центробежного типа:

10 – выходной патрубок, 11 – крышка, 12 – поворотный механизм, 13 – поворотные лопатки,

14 – насадка, 15 и 16 – конусы, 17 – патрубок подвода пылевоздушной смеси, 18 и 19 – трубы для слива.

 

6. Пылевые циклоны. Процесс разделения пылевоздушной смеси на воздух и угольную пыль, также основан на центробежном эффекте. Недостатком таких аппаратов являются большие габариты.

 

 

7. Питатели угольной пыли.

В отечественной промышленности используются два типа питателей:

– шнековый – горизонтальный, чаще всего используется для транспортировки угольной пыли влажных топлив;

– лопастной – используется для транспортировки более сухих топлив.

 

 

Рисунок 3.38 – Шнековый питатель пыли для пылеугольных горелок:

а – общий вид, б – продольный разрез;

1 – привод шнека, 2 – шибер, 3 – загрузочная (приёмная) воронка, 4 – тройник, 5 – шнек, 6 – корпус питателя, 7 – электродвигатель.

 




Поделиться с друзьями:


Дата добавления: 2014-12-07; Просмотров: 2066; Нарушение авторских прав?; Мы поможем в написании вашей работы!


Нам важно ваше мнение! Был ли полезен опубликованный материал? Да | Нет



studopedia.su - Студопедия (2013 - 2026) год. Все материалы представленные на сайте исключительно с целью ознакомления читателями и не преследуют коммерческих целей или нарушение авторских прав! Последнее добавление




Генерация страницы за: 0.011 сек.