Студопедия

КАТЕГОРИИ:


Архитектура-(3434)Астрономия-(809)Биология-(7483)Биотехнологии-(1457)Военное дело-(14632)Высокие технологии-(1363)География-(913)Геология-(1438)Государство-(451)Демография-(1065)Дом-(47672)Журналистика и СМИ-(912)Изобретательство-(14524)Иностранные языки-(4268)Информатика-(17799)Искусство-(1338)История-(13644)Компьютеры-(11121)Косметика-(55)Кулинария-(373)Культура-(8427)Лингвистика-(374)Литература-(1642)Маркетинг-(23702)Математика-(16968)Машиностроение-(1700)Медицина-(12668)Менеджмент-(24684)Механика-(15423)Науковедение-(506)Образование-(11852)Охрана труда-(3308)Педагогика-(5571)Полиграфия-(1312)Политика-(7869)Право-(5454)Приборостроение-(1369)Программирование-(2801)Производство-(97182)Промышленность-(8706)Психология-(18388)Религия-(3217)Связь-(10668)Сельское хозяйство-(299)Социология-(6455)Спорт-(42831)Строительство-(4793)Торговля-(5050)Транспорт-(2929)Туризм-(1568)Физика-(3942)Философия-(17015)Финансы-(26596)Химия-(22929)Экология-(12095)Экономика-(9961)Электроника-(8441)Электротехника-(4623)Энергетика-(12629)Юриспруденция-(1492)Ядерная техника-(1748)

И расчет сил закрепления




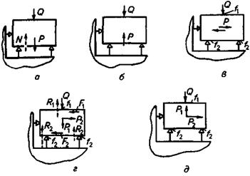
Основные схемы установки заготовок

 

1. Силы резания Р и закрепления Q прижимают за­готовку к установочным элементам (рис. 15, а). Когда сила Р постоянна, сила закрепления Q может отсутство­вать. Если при обработке возникает сдвигающая сила N, направленная противоположно силе закрепления зажимно­го устройства, то Q = kN.

2. Сила резания Р направлена противоположно си­ле закрепления Q (рис. 15, б). Для зажимных устройств второго типа должно выполняться условие Q = kN. Для зажимных устройств первого типа сила закрепления

 

.

 

3. Сила резания стремится сдвинуть заготовку с уста­новочных элементов (рис. 15, в). Смещению заготовки препятствуют силы трения в местах контакта заготовки с установочными элементами. Следовательно,

 

P < Q f 1 + Q f 2,

 

где f 1 и f 2 - коэффициенты трения между деталью и зажимным и установочным элементами приспособления. Считая коэффициент запаса k > 0, имеем

 

kP = Q f 1 + Q f 2,

 

откуда

.

 

Эту расчетную схему применяют также в случае уста­новки заготовки на два отверстия и перпендикулярную им плоскость.

 

 

Рис. 15. Принципиальные расчетные схемы

для опреде­ления сил закрепления

4. Сила резания Р 1направлена к опорам (рис. 15, г); кроме того имеется сдвигающая сила Р 2,действующая в горизонтальном направлении.

Для зажимных устройств второго типа имеем

 

P 2 < (Q + P 1) f 2 + Q f 1,

 

откуда

 

.

 

Для зажимных устройств первого типа действие си­лы Р 1приводит к появлению реакций R 2и R 1в опорах и в месте приложения силы закрепления соответственно. По аналогии со случаем, представленным на рис. 15, б,реакции R 1и R 2 можно определить по формулам

 

;

 

.

 

Силу трения, препятствующую сдвигу заготовки, найдем из равенства

 

kP 2 = f 1 R 1 + f 2 R 2,

 

или

,

 

откуда

.

 

5. В отличие от предыдущего случая сила Р 1направлена противоположно зажимному устройству (рис. 15, д). Сила закрепления Q должна быть достаточ­ной, чтобы обеспечить контакт заготовки с опорами и пре­дупредить сдвиг заготовки в направлении действия силы P 2.

Для зажимных устройств второго типа условие кон­такта заготовки с опорами имеет вид

 

Q' = k 1 P 1.

 

Силу трения, препятствующую сдвигу заготовки, можно определить из равенства

 

k 2 Р 2= Q" f 1 + (Q " – Р 1) f 2,

 

откуда

 

.

 

Из двух сил Q' и Q" выбирают наибольшую.

Для зажимных устройств первого типа соответству­ющие уравнения имеют вид

 

;

 

.

 

Выбрав из двух сил Q' и Q" наибольшую, находят необходимую силу закрепления.

 




Поделиться с друзьями:


Дата добавления: 2014-12-27; Просмотров: 503; Нарушение авторских прав?; Мы поможем в написании вашей работы!


Нам важно ваше мнение! Был ли полезен опубликованный материал? Да | Нет



studopedia.su - Студопедия (2013 - 2026) год. Все материалы представленные на сайте исключительно с целью ознакомления читателями и не преследуют коммерческих целей или нарушение авторских прав! Последнее добавление




Генерация страницы за: 0.009 сек.