Студопедия

КАТЕГОРИИ:


Архитектура-(3434)Астрономия-(809)Биология-(7483)Биотехнологии-(1457)Военное дело-(14632)Высокие технологии-(1363)География-(913)Геология-(1438)Государство-(451)Демография-(1065)Дом-(47672)Журналистика и СМИ-(912)Изобретательство-(14524)Иностранные языки-(4268)Информатика-(17799)Искусство-(1338)История-(13644)Компьютеры-(11121)Косметика-(55)Кулинария-(373)Культура-(8427)Лингвистика-(374)Литература-(1642)Маркетинг-(23702)Математика-(16968)Машиностроение-(1700)Медицина-(12668)Менеджмент-(24684)Механика-(15423)Науковедение-(506)Образование-(11852)Охрана труда-(3308)Педагогика-(5571)Полиграфия-(1312)Политика-(7869)Право-(5454)Приборостроение-(1369)Программирование-(2801)Производство-(97182)Промышленность-(8706)Психология-(18388)Религия-(3217)Связь-(10668)Сельское хозяйство-(299)Социология-(6455)Спорт-(42831)Строительство-(4793)Торговля-(5050)Транспорт-(2929)Туризм-(1568)Физика-(3942)Философия-(17015)Финансы-(26596)Химия-(22929)Экология-(12095)Экономика-(9961)Электроника-(8441)Электротехника-(4623)Энергетика-(12629)Юриспруденция-(1492)Ядерная техника-(1748)

Последовательность выполнения работы




1. Актуализируйте знания о типах режущих инструментов по работе 1.4 и учебнику «Технология конструкционных материалов» [1, 2].

2. Получите у преподавателя для изучения реальный режущий инструмент. Определите по учебнику [1, 2] тип режущего инструмента и определите по таблице 2.6 номер задания, соответствующий полученному инструменту.

Таблица 2.6

Индивидуальные задания

№ п/п Вид инструмента. Дополнительное задание Эскиз инструмента
     
  Сверло спиральное. Найти и обозначить вспомогательную секущую плоскость и углы a¢ и j¢.
  Зенкер спиральный. Найти и обозначить на эскизе угол j.

 

Продолжение табл. 2.6

     
  Развертка насадная. Найти и показать на эскизе угол j.
  Сверло центровочное. Нанести на эскизе обозначения неуказанных углов.
  Резец круглый фасонный. Нанести на эскизе обозначения неуказанных углов.
  Сверло для глубокого сверления. Найти и обозначить вспомогательную секущую плоскость и углы a¢ и j¢.

Продолжение табл. 2.6

     
  Фреза цилиндрическая. Нанести на эскизе обозначения неуказанных углов.
  Фреза концевая. Нанести на эскизе обозначения неуказанных углов.
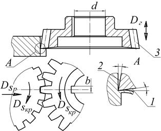
  Фреза фасонная дисковая.
  Фреза торцовая. Найти и обозначить вспомогательную секущую плоскость и углы a¢ и j¢.

 

Продолжение табл. 2.6

     
  Фреза грибковая. Нанести на эскизе обозначения неуказанных углов.
  Фреза дисковая трёхсторонняя. Найти и обозначить вспомогательную секущую плоскость и угол a¢.
  Метчик. Нанести на эскизе обозначения неуказанных углов.
  Протяжка. Нанести на эскизе обозначения неуказанных углов.

Окончание табл. 2.6

     
  Долбяк. Нанести на эскизе обозначения неуказанных углов.

3. Нарисуйте на черновике эскиз инструмента и все приведённые в задании виды и сечения лезвия с элементами заготовки.

4. Определите положения и обозначьте следы координатных плоскостей , , в статической системе координат, используя показанные на эскизе движения резания (Dг, Ds).

Примечание. С целью упрощения рисунков индекс «с», характеризующий использование для определения углов инструмента статической системы координат, на эскизах таблицы 2.6 при обозначении координатных плоскостей и углов не указан. Можно этот индекс не указывать и при оформлении отчёта по индивидуальному заданию.

5. Найдите на инструменте режущую, рабочую и крепёжные части, а на заготовке — обрабатываемую, обработанную поверхности и поверхность резания; обозначьте их цифрами соответственно 1, 2, 3.

6. Найдите лезвия инструмента и определите их число, z.

7. Укажите и обозначьте на эскизе арабскими цифрами главную (главные) и вспомогательную (вспомогательные) режущие кромки.

8. В сечении инструмента главной секущей плоскостью обозначьте передний gи главный задний a углы. Найдите, воспользовавшись определением, приведённым в работе 1.4, главный угол в плане jи обозначьте его на эскизе.

9. Найдите и обозначьте цифрами поверхности стружечных канавок.

10. Для сборного и составного режущих инструментов найдите и обозначьте части, выполненные из инструментального материала (места пайки или сварки составного инструмента выделены на эскизах заданий).

11. Выясните по литературе и демонстрационным стендам лаборатории и опишите способ закрепления инструмента на станке, нарисуйте эскиз установки и закрепления инструмента.

Содержание отчёта

1. Наименование работы.

2. Номер и формулировка индивидуального задания.

Индивидуальное задание: «Определить наименование режущего инструмента, найти его части и указать на эскизе конструктивные и геометрические элементы».

3. Название и назначение режущего инструмента.

4. Эскиз инструмента с условными обозначениями составных частей, элементов лезвия и их расшифровкой текстом вне эскиза (в соответствии с пунктами раздела «Последовательность выполнения работы»).

5. Материал рабочей и крепёжной частей инструмента, особенности конструкции, способ крепления инструмента на станке.

6. Технологические возможности метода обработки данным инструментом (разновидности форм обработанных поверхностей, достижимая точность обработки и получаемая шероховатость поверхности).




Поделиться с друзьями:


Дата добавления: 2014-12-27; Просмотров: 805; Нарушение авторских прав?; Мы поможем в написании вашей работы!


Нам важно ваше мнение! Был ли полезен опубликованный материал? Да | Нет



studopedia.su - Студопедия (2013 - 2026) год. Все материалы представленные на сайте исключительно с целью ознакомления читателями и не преследуют коммерческих целей или нарушение авторских прав! Последнее добавление




Генерация страницы за: 0.013 сек.