Студопедия

КАТЕГОРИИ:


Архитектура-(3434)Астрономия-(809)Биология-(7483)Биотехнологии-(1457)Военное дело-(14632)Высокие технологии-(1363)География-(913)Геология-(1438)Государство-(451)Демография-(1065)Дом-(47672)Журналистика и СМИ-(912)Изобретательство-(14524)Иностранные языки-(4268)Информатика-(17799)Искусство-(1338)История-(13644)Компьютеры-(11121)Косметика-(55)Кулинария-(373)Культура-(8427)Лингвистика-(374)Литература-(1642)Маркетинг-(23702)Математика-(16968)Машиностроение-(1700)Медицина-(12668)Менеджмент-(24684)Механика-(15423)Науковедение-(506)Образование-(11852)Охрана труда-(3308)Педагогика-(5571)Полиграфия-(1312)Политика-(7869)Право-(5454)Приборостроение-(1369)Программирование-(2801)Производство-(97182)Промышленность-(8706)Психология-(18388)Религия-(3217)Связь-(10668)Сельское хозяйство-(299)Социология-(6455)Спорт-(42831)Строительство-(4793)Торговля-(5050)Транспорт-(2929)Туризм-(1568)Физика-(3942)Философия-(17015)Финансы-(26596)Химия-(22929)Экология-(12095)Экономика-(9961)Электроника-(8441)Электротехника-(4623)Энергетика-(12629)Юриспруденция-(1492)Ядерная техника-(1748)

Резьбы плашками, мм




Диаметр резьбы Шаг Р Диаметр стержня
Наибольший Допуск
2,0 0,4 1,94 -0,06
2,3 0,4 2,24 -0,06
2,6 0,45 2,54 -0,06
3,0 0,5 2,94 -0,06
4,0 0,7 3,92 -0,08
5,0 0,8 4,92 -0,08
6,0 1,0 5,92 -0,08
8,0 1,25 7,90 -0,10
10,0 1,5 9,90 -0,10
12,0 1,75 11,88 -0,12
14,0 2,0 13,88 -0,12
16,0 2,0 15,88 -0,12
18,0 2,5 17,88 -0,12
20,0 2,5 19,86 -0,14

 

 

Упражнения по нарезанию наружной резьбы круглыми плашками включают следующие приемы. Взять заготовки с требуемым диаметром стержня. Подготовить инструмент к работе, для чего слегка отвернуть все винты на воротке (плашкодержателе), вставить плашку в гнездо воротка так, чтобы маркировка на плашке была наружу, а углубления располагались против стопорных винтов. Закрепить плашку в воротке стопорными винтами. Для разрезной плашки крайние регулировочные винты воротка отвернуть, а средний винт плотно завернуть, разжав плашку. Проверить штангенциркулем диаметр стержня и наличие на его конце фаски для облегчения врезания плашки. При отсутствии фаски опилить ее напильником.

Приступая к нарезанию наружной резьбы плашками необходимо: закрепить стержень в тисках вертикально так, чтобы его конец выступал над губками тисков на 15...20 мм больше длины нарезаемой части, смазать конец стержня машинным маслом, наложить плашку на конец стержня так, чтобы маркировка была снизу, и, нажимая на корпус воротка ладонью правой руки, левой рукой вращать его за рукоятку по ходу часовой стрелки до полного врезания плашки, взяв вороток двумя руками, плавно вращать его по ходу часовой стрелки. После одного-двух оборотов необходимо сделать пол-оборота обратно, продолжать нарезание резьбы, обильно смазывая стержень маслом, снять плашку со стержня обратным вращением.

При нарезании резьбы разрезной плашкой необходимо прорезать стержень на требуемую длину указанным выше способом и, сняв плашку обратным вращением, проверить резьбу резьбовым калибром-кольцом или контрольной гайкой. Если гайка или проходное кольцо не навинчивается, прорезать стержень ещё раз, регулируя размер резьбы плашки регулировочными винтами.

При нарезании резьбы раздвижными плашками в клуппе необходимо подготовить инструмент к работе, для чего вложить в рамку клуппа последовательно полуплашки 1 и 2 и сухарь 3, так, чтобы маркировка на плашках была со стороны маркировки на корпусе клуппа, и слегка поджать сухарь нажимным винтом. При нарезании резьбы надеть плашку на конец стержня так, чтобы она охватывала стержень на ¾ своей толщины, и затянуть нажимной винт. Затем, смазав плашку и конец стержня маслом, прорезать стержень на требуемую длину, применяя способ, указанный для круглых плашек.

Вращая клупп против часовой стрелки, установить его в первоначальное положение, повернуть нажимной винт на пол-оборота и снова прорезать резьбу на стержне (сделать второй – получистовой проход). Продолжать нарезание в таком порядке до получения полного профиля резьбы, проверяя резьбу калибрами-кольцами или контрольной гайкой.

Качество работы проверяют внешним осмотром для обнаружения задиров и сорванных ниток, а точность калибрами-кольцами или контрольной гайкой (гайка должна навинчиваться легко, но без качания).

На рис.10.6 показаны приемы нарезания наружной резьбы круглыми плашками и раздвижными плашками в клуппе.

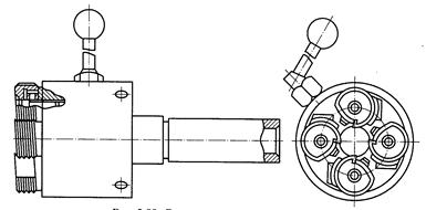
Инструмент и процесс нарезания наружных трубных резьб (рис. 10.7). Наиболее часто наружная резьба на трубах нарезается с использованием клуппов с раздвижными плашками. Клупп снабжен комплектом плашек для нарезания трубных резьб диаметром 1/2...3/4 дюйма, 1...11/4 дюйма и 11/2...2 дюйма и сконструирован таким образом, что перемещающиеся в его корпусе 1 четыре плашки 5 могут одновременно приближаться к центру или расходиться от него.

 

 

       
   
1 - корпус; 2 - рукоятки; 3 - червячная передача; 4 - рукоятка перемещения плашки; 5 - плашка Рисунок 10.7 Клупп для нарезания трубных резьб
 
 
Рисунок 10.6 Приемы нарезания резьбы плашками

 

 


Перемещение плашек обеспечивает специальное поворотное устройство клуппа – планшайба, приводимая в движение рукояткой 4. Точная установка плашек на размер нарезаемой резьбы осуществляется по лимбу, имеющемуся на корпусе клуппа, а установочные перемещения происходят при помощи червячной передачи 3. После установки плашек на заданный размер резьбы их положение фиксируется нажимом специального упора - «собачки». После нарезания резьбы клупп не свинчивают с обработанной заготовки, а раздвигают плашки поворотом рукоятки 4 клуппа и снимают его с обработанной заготовки. Помимо режущих плашек в клуппе имеются и три направляющие плашки (гладкие, без резьбы). Они обеспечивают устойчивое положение клуппа на трубе в процессе обработки; их установка производится вращением червячного винта передачи 3. На трубах диаметром ½ дюйма и меньше резьбу вручную нарезают специальными трубными круглыми плашками.

При нарезании резьб на трубах следует учитывать характер соединения их в трубопроводе. При нарезании резьбы для неразъемного трубного соединения длина нарезанной части трубы должна составлять ½ длины соединительной муфты за вычетом длины резьбы, приходящейся на 1...1,5 витка резьбы. При нарезании резьбы для разборных трубных соединений («на сгон») на одной трубе нарезается резьба, как для неразъемных соединений, а на другом конце трубы длина нарезанной части должна составить сумму длины соединительной муфты, контргайки минус 1...1,5 длины витка для данной резьбы.

Гребенки резьбонарезные круглые (рис. 10.8) используются для нарезания трубной резьбы на металлорежущих станках (токарных и сверлильных) с помощью специальных патронов. Гребенки выпускаются комплектами из четырех штук; резьба каждой гребенки комплекта смещена по отношению к предыдущей на ¼ шага резьбы.

 

 
 

 


Для нарезания резьб при помощи гребенок предназначены специальные винторезные самооткрывающиеся головки (рис. 10.9), в которые устанавливаются все четыре головки комплекта.

 

 
 
Рисунок 10.9 Самооткрывающаяся головка

 


При нарезании наружных резьб на сверлильных и токарных станках применяют специальное приспособление – плашкодержатель с автоматическим отключением подачи (рис. 10.10). Приспособление состоит из хвостовика, на котором установлена втулка с запрессованными в нее пальцами 2. Во втулку ввинчены винты 4, концы которых могут входить в отверстие муфты 5. Внутри муфты размещен регулировочный винт 6. Плашка закрепляется винтом в гнезде корпуса 1.

 
 

 

 


Приспособление устанавливается либо в отверстие шпинделя сверлильного станка, либо в отверстие пиноли задней бабки токарного станка. При обработке торец обрабатываемого стержня выходит из плашки и упирается в торец винта 6, заставляя его перемещаться внутри хвостовика. На винте навинчена муфта 5, которая, перемещаясь вместе с винтом 6, сжимает пружину. Движение муфты 5 через винты 4 передается втулке 3, которая перемещается по наружной поверхности хвостовика до тех пор, пока пальцы 2 не выйдут из отверстия корпуса. В момент выхода пальцев 2 из корпуса 1 он вместе с установленной в нем плашкой начинает вращаться. Переключая вращение станка на реверсивное, обеспечивают вывод плашки из зоны резания. Регулируя вылет винта из муфты можно нарезать резьбы различной длины.

Смазывающе-охлаждающие жидкости (СОЖ) при нарезании резьб служат для облегчения условий работы инструмента, снижения шероховатости обработанной поверхности, а следовательно, для повышения качества получаемой при нарезании резьбы. Выбор СОЖ зависит от материала обрабатываемой заготовки. Так, например, для охлаждения стали (конструкционный, инструментальной и легированной), чугуна, меди и алюминия чаще всего используется эмульсия. Кроме того, для охлаждения чугуна и алюминия применяется керосин.

Нарезание резьб в меди, латуни и бронзе может выполняться без охлаждения.




Поделиться с друзьями:


Дата добавления: 2014-12-27; Просмотров: 896; Нарушение авторских прав?; Мы поможем в написании вашей работы!


Нам важно ваше мнение! Был ли полезен опубликованный материал? Да | Нет



studopedia.su - Студопедия (2013 - 2025) год. Все материалы представленные на сайте исключительно с целью ознакомления читателями и не преследуют коммерческих целей или нарушение авторских прав! Последнее добавление




Генерация страницы за: 0.011 сек.