Студопедия

КАТЕГОРИИ:


Архитектура-(3434)Астрономия-(809)Биология-(7483)Биотехнологии-(1457)Военное дело-(14632)Высокие технологии-(1363)География-(913)Геология-(1438)Государство-(451)Демография-(1065)Дом-(47672)Журналистика и СМИ-(912)Изобретательство-(14524)Иностранные языки-(4268)Информатика-(17799)Искусство-(1338)История-(13644)Компьютеры-(11121)Косметика-(55)Кулинария-(373)Культура-(8427)Лингвистика-(374)Литература-(1642)Маркетинг-(23702)Математика-(16968)Машиностроение-(1700)Медицина-(12668)Менеджмент-(24684)Механика-(15423)Науковедение-(506)Образование-(11852)Охрана труда-(3308)Педагогика-(5571)Полиграфия-(1312)Политика-(7869)Право-(5454)Приборостроение-(1369)Программирование-(2801)Производство-(97182)Промышленность-(8706)Психология-(18388)Религия-(3217)Связь-(10668)Сельское хозяйство-(299)Социология-(6455)Спорт-(42831)Строительство-(4793)Торговля-(5050)Транспорт-(2929)Туризм-(1568)Физика-(3942)Философия-(17015)Финансы-(26596)Химия-(22929)Экология-(12095)Экономика-(9961)Электроника-(8441)Электротехника-(4623)Энергетика-(12629)Юриспруденция-(1492)Ядерная техника-(1748)

Выполнение работы




Описание установки.

На рис.5 представлена схема лабораторной установки. Терморезистор 1, термометр 5 и нагреватель 4 помещены в закрытый сосуд.

Напряжение на нагреватель подается от трансформатора (ЛАТР), подключенного к сети 3. Терморезистор – это полупроводник, сопротивление которого зависит от температуры. Измерение сопротивления осуществляется мостом 2 типа Р333.

 

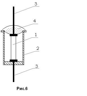
Для исследований применяют терморезистор ОСММТ– 4 (рис.6), состоящий из смеси окислов меди и марганца. Терморезистор 1 в виде стержня находится в замкнутом металлическом корпусе 2. Герметизация выводов 3 обеспечивается слоем олова и стеклянным изолятором 4.

Терморезисторы применяют для измерения температуры.

1. Сопротивление терморезистора при комнатной температуре измерить при помощи моста 2.

2. Включить нагреватель.

3. Измерять сопротивление терморезистора через каждые С.

Провести 4 – 5 измерений, не допуская повышения температуры более С.

4. Результаты измерений занести в таблицу 1.

5. Построить график зависимости сопротивления от температуры в координатах ln R и Т .

6. Рассчитать значение энергии активации (ширины запрещенной зоны) по формуле (10).

7. Вычислить температурный коэффициент сопротивления полупроводника по формуле (14).

8. Результаты вычислений занести в таблицу и сделать вывод.

Таблица 1

№ п/п R Ом t °С T К T -1 К-1 ln R α К-1
             
             
             
             
             
             



Поделиться с друзьями:


Дата добавления: 2014-12-24; Просмотров: 625; Нарушение авторских прав?; Мы поможем в написании вашей работы!


Нам важно ваше мнение! Был ли полезен опубликованный материал? Да | Нет



studopedia.su - Студопедия (2013 - 2026) год. Все материалы представленные на сайте исключительно с целью ознакомления читателями и не преследуют коммерческих целей или нарушение авторских прав! Последнее добавление




Генерация страницы за: 0.012 сек.