Студопедия

КАТЕГОРИИ:


Архитектура-(3434)Астрономия-(809)Биология-(7483)Биотехнологии-(1457)Военное дело-(14632)Высокие технологии-(1363)География-(913)Геология-(1438)Государство-(451)Демография-(1065)Дом-(47672)Журналистика и СМИ-(912)Изобретательство-(14524)Иностранные языки-(4268)Информатика-(17799)Искусство-(1338)История-(13644)Компьютеры-(11121)Косметика-(55)Кулинария-(373)Культура-(8427)Лингвистика-(374)Литература-(1642)Маркетинг-(23702)Математика-(16968)Машиностроение-(1700)Медицина-(12668)Менеджмент-(24684)Механика-(15423)Науковедение-(506)Образование-(11852)Охрана труда-(3308)Педагогика-(5571)Полиграфия-(1312)Политика-(7869)Право-(5454)Приборостроение-(1369)Программирование-(2801)Производство-(97182)Промышленность-(8706)Психология-(18388)Религия-(3217)Связь-(10668)Сельское хозяйство-(299)Социология-(6455)Спорт-(42831)Строительство-(4793)Торговля-(5050)Транспорт-(2929)Туризм-(1568)Физика-(3942)Философия-(17015)Финансы-(26596)Химия-(22929)Экология-(12095)Экономика-(9961)Электроника-(8441)Электротехника-(4623)Энергетика-(12629)Юриспруденция-(1492)Ядерная техника-(1748)

Знакопечатающие электронно-лучевые индикаторы




При реализации метода знакопечати используется специальная знакопечатающая электронно-лучевая трубка, изображение на ее экране получается в результате прохождения электронного пучка сквозь одно из отверстий матрицы, расположенной внутри трубки. Контуры отверстий выполнены в форме знака, благодаря чему электронный пучок, воздействуя на люминофорный слой экрана трубки, вызывает свечение тех точек, на которые падает. Таким образом, на экране воспроизводится данный знак. Метод знакопечати используется в знаковых индикаторах типа характрон, композитрон, тайпотрон и принтоскоп.

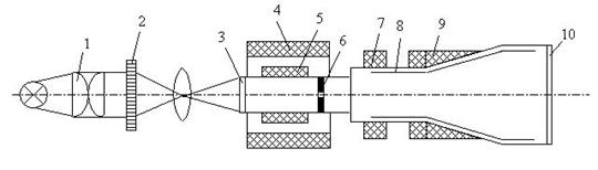
Схема, поясняющая принцип действия характрона:

Пучок электронов, диаметром около 0,5 мм, создаваемый электронной пушкой 1, падает на две пары отклоняющих пластин 2. На месте светового экрана устанавливается металлическая матрица 4 толщиной 0,025 мм в которой сделаны отверстия в виде контуров знаков алфавита. Используются матрицы на 88, 128, 144 и 200 знаков. Высота знака на матрице равна 0,31 мм, а на экране от 0,6 до 5мм. Увеличение знака на экране происходит из-за расхождения пучка электронов после адресной системы. Выбор знака производится путем подачи соответствующих напряжений на отклоняющие пластины. Поперечное сечение луча, сфокусированного катушкой 3 и вышедшего из матрицы, имеет вид выбранного знака. Компенсирующие пластины 5 возвращают сформированный луч на ось трубки, а катушка 6 адресной системы направляет его на требуемый участок экрана 7. На пластины 2 и 5 подаются одни и те же напряжения с учетом чувствительности пластин противоположных знаков.

Тайпотрон является одним из вариантов характрона, отличается наличием устройства накопления и хранения информации. В тайпотроне, также как и в характроне, луч проходит через матрицу со знаками того же типа и через систему отклоняющих и компенсирующих пластин. Информация в тайпотроне записывается на диэлектрической накопительной мишени, устанавливаемой внутри трубки в нескольких миллиметрах от экрана. Мишень представляет собой мелкоструктурную сетку, покрытую со стороны, обращенной к прожектору, слоем диэлектрика.

Электронный луч, попадая на мишень, заряжает места бомбардировки положительным потенциалом за счет выбитых из этих мест вторичных электронов. В результате на мишени образуется потенциальный рельеф, соответствующий форме знака, который может сохраняться длительное время. Воспроизведение записанных знаков осуществляется широким однородным пучком медленных электронов, поток которых создается воспроизводящим прожектором. Пучок медленных электронов (несфокусированный луч), попадая на мишень, тормозится на участках, где записи не было, и свободно проходит участки с записанными знаками, воспроизводя их на экране.

Композитрон отличается от характрона тем, что матрицы вводятся в трубку извне, чем обеспечивается быстрая замена матриц с различным типом и набором знаков. Трубка работает следующим образом.

Знаки матрицы 2 с помощью оптической проекционной системы 1 проецируются на фотоэмиссионный катод 3. Электронный пучок, создаваемый фотоэмиссионным катодом, в своем сечении имеет изображение всех знаков матрицы 2. Этот пучок фокусируется магнитным полем фокусирующей катушки 4 и попадает на изобразительное отверстие диафрагмы 6. Выбор знака осуществляется с помощью отклоняющей катушки 5, которая направляет электронный пучок относительно избирающего отверстия так, что через него в определенный момент проходит только выбранный знак. Далее луч, поперечное сечение которого соответствует выбранному знаку, ускоряется полем анода 8, фокусируется магнитным полем катушки 7 и отклоняется адресной системой 9 в необходимую точку экрана 10.

Принтоскоп отличается от рассмотренных выше трубок отсутствием внешних магнитных систем управления лучом. Выбор знака матрицы, сведение электронного луча, несущего информацию, к центру, а также отклонение луча адресной схемой в принтоскопе осуществляется электростатическим методом. Размеры знаков в принтоскопе можно изменять с помощью иммерсионной линзы, которая размещается между центрирующей и адресной схемой.

Перспективным направлением развития конструкций знакопечатающих электроннолучевых трубок является знаковая ЭЛТ с волоконно-оптическим экраном. Впереди экрана в оболочку трубки 1 монтируется вакуумно-прочная пластина 2, спрессованная из множества световодов диаметром примерно 20 мкм. Свечение люминофора 3 под действием луча 4 через световоды передается непосредственно к светочувствительному носителю информации 5, расположенному от пластины на расстоянии 0,025-0,33мм. Отсутствие стеклянной колбы исключает влияние параллакса, и потери световой энергии. Такие устройства отличаются исключительно высоким качеством получаемого изображения и обеспечивают быстродействие более 75000 знаков/сек. В настоящие время появилась еще одна специальная ЭЛТ – скиатрон. Скиатрон позволяет получать темновую запись сигнала на светлом фоне экрана. Экран ЭЛТ покрывается скотофором, основой которого является хлористый кальций. При попадании на участки последнего электронного луча образуются цветовые центры соответствующих конфигураций. Изображение на экране может сохраняться в течение длительного времени. Стирание изображения производится нагревом экрана специальной нитью накала. В таких ЭЛТ отсутствуют накопительные экраны, считывающие прожекторы и, по сравнению с накопительными ЭЛТ, почти в два раза повышается разрешающая способность.

Схема управления ЗЭЛТ типа характрон имеет вид:

На вход схемы управления ЗЭЛТ поступает информация в виде параллельного двоичного кода. Код содержит информацию о месте луча на экране трубки и знаков матрицы, а также соответствующие сигналы, коммутирующие отдельные узлы схемы управления.

Управляющие сигналы определяют темп и последовательность работы схемы управления, а также возвращают все регистры в исходное положение перед началом очередного цикла приема информации.

Информация поступает на схему управления в определенной последовательности. Первыми на коммутатор К поступают коды, определяющие положение луча на экране ЭЛТ по вертикали и горизонтали. С выходов коммутаторов 1 и 2 коды поступают на соответствующие регистры Pг3 и Pг4, фиксирующие эти значения кодов. С помощью цифро-аналоговых преобразователей Ц/А коды преобразуются в непрерывные значения токов и напряжений, которые через усилители У3 и У4 воздействуют на адресную систему трубки, фиксируя луч в заданном месте экрана.

Вслед за кодом положения луча на коммутатор последовательно поступают коды знаков матрицы, причем коды положения одного знака матрицы по горизонтали и вертикали поступают одновременно.

Из коммутатора коды 3 и 4 воздействуют на регистры выбора знака матрицы Pг1 и Pг2 и цифро-аналоговые преобразователи. Непрерывные напряжения, пропорциональные значениям кодов, поступают с преобразователей через усилители У1 и У2 на выбирающие и компенсирующие пластины трубки, определяя выбор того или иного знака на матрице. Для того чтобы на экране характрона не наблюдался след от переброса луча с одного знака матрицы на другой, каждый знак сопровождается специальным сигналом, управляющим схемой формирования импульсов подсвета СхП. Этот же сигнал в такт с выбором каждого знака с помощью счетчиков Сч1 и Сч2 задает соответствующие приращения токов или напряжение по вертикали и горизонтали, чтобы выбранные на матрице знаки не попадали в одну и туже точку экрана. Коэффициент пересчета счетчика Сч2 равен количеству знаков в одной строке индикатора, а Сч1 – количеству строк, умещающихся на экране индикатора.

Фокусирующие и корректирующие катушки индикатора питаются от специальной токостабилизирующей схемы.(СхТ).

Время формирования знака на экране знакопечатающего индикатора составляет обычно 5-10 мксек. Что соответствует быстродействию около 50000 знаков в секунду. Имеются сведения о знакопечатающих индикаторах с быстродействием 200000 знаков в секунду.




Поделиться с друзьями:


Дата добавления: 2014-12-25; Просмотров: 917; Нарушение авторских прав?; Мы поможем в написании вашей работы!


Нам важно ваше мнение! Был ли полезен опубликованный материал? Да | Нет



studopedia.su - Студопедия (2013 - 2026) год. Все материалы представленные на сайте исключительно с целью ознакомления читателями и не преследуют коммерческих целей или нарушение авторских прав! Последнее добавление




Генерация страницы за: 0.014 сек.