Студопедия

КАТЕГОРИИ:


Архитектура-(3434)Астрономия-(809)Биология-(7483)Биотехнологии-(1457)Военное дело-(14632)Высокие технологии-(1363)География-(913)Геология-(1438)Государство-(451)Демография-(1065)Дом-(47672)Журналистика и СМИ-(912)Изобретательство-(14524)Иностранные языки-(4268)Информатика-(17799)Искусство-(1338)История-(13644)Компьютеры-(11121)Косметика-(55)Кулинария-(373)Культура-(8427)Лингвистика-(374)Литература-(1642)Маркетинг-(23702)Математика-(16968)Машиностроение-(1700)Медицина-(12668)Менеджмент-(24684)Механика-(15423)Науковедение-(506)Образование-(11852)Охрана труда-(3308)Педагогика-(5571)Полиграфия-(1312)Политика-(7869)Право-(5454)Приборостроение-(1369)Программирование-(2801)Производство-(97182)Промышленность-(8706)Психология-(18388)Религия-(3217)Связь-(10668)Сельское хозяйство-(299)Социология-(6455)Спорт-(42831)Строительство-(4793)Торговля-(5050)Транспорт-(2929)Туризм-(1568)Физика-(3942)Философия-(17015)Финансы-(26596)Химия-(22929)Экология-(12095)Экономика-(9961)Электроника-(8441)Электротехника-(4623)Энергетика-(12629)Юриспруденция-(1492)Ядерная техника-(1748)

Получение паров и их параметры




 

Для получения электрической энергии на Тепловых электрических станциях используют перегретый водяной пар.

Пар может получаться двумя способами: при испарении и при кипении. В процессе испарения молекулы жидкости у ее поверхности, имеющие бόльшую скорость, чем другие молекулы, преодолевают силы молекулярного сцепления, создающие поверхностное натяжение, и вылетают в окружающее пространство. Чем выше температура жидкости, тем более интенсивно происходит испарение.

При кипении частицы пара образуются во всей массе жидкости и, имея меньший удельный вес, чем жидкость, устремляются вверх, соединяясь при этом движении с другими частицами пара и, создавая таким образом клубки. Такие клубки пара, достигая поверхности жидкости, преодолевают силы поверхностного натяжения и вылетают в окружающее пространство, вызывая характерное для процесса кипения бурление.

Этот процесс может происходить лишь при вполне определенной для данного давления температуре воды, называемой температурой насыщения,или кипения, и обозначаемой через или .

В практических условиях пар обычно образуется при постоянном давлении. Такой процесс и рассматривается ниже.

Допустим, что 1 кг воды при 0 оС заключен в цилиндре с подвижным поршнем, нагруженным постоянным грузом с общим весом Р (рис. 5.1, положение 1). В первой стадии получения пара вода подогревается от 0 оС до температуры насыщения , соответствующей данному давлению. Если при температуре 0 оС удельный объем воды был , то при нагревании до температуры он увеличится до объема (предполагая условно, что парообразования в этой стадии не было). Этот объем воды называется удельным объемом жидкости (рис. 5.1, положение 2). При дальнейшем нагревании наступает вторая стадия, когда кипящая вода постепенно переходит в пар (рис.5.1, положение 3). Пар, образующийся из кипящей воды называется насыщенным, практически же он является влажным насыщенным, или, сокращенно, просто влажным. Этот пар представляет собой смесь собственно сухого пара с капельками воды, увлеченными из нее при кипении. В процессе кипения количество пара в цилиндре увеличивается, а воды – уменьшается до тех пор, пока последняя капля воды не превратится в пар. В этот момент пар становится сухим насыщенным, называемым сокращенно просто сухим (рис. 5.1, положение 4).

Рис. 5.1. Стадии получения перегретого пара

 

Влажный пар характеризуется степенью сухости х. Степенью сухости называется отношение веса сухого пара к общему весу влажного пар. Численно степень сухости равна весу сухого насыщенного пара в килограммах, содержащемуся в 1 кг влажного пара. Например, если влажный пар имеет степень сухости х = 0,85, то это значит, что 1 кг его содержит 0,85 кг сухого пара и 0,15 кг воды. Величина (1– х) называется степенью влажности пара. В приведенном примере она равна 0,15. Чем пар суше, тем его степень сухости больше; для сухого пара х =1, для воды х = 0.

Так как объем пара всегда больше объема воды, из которой он получился, то с увеличением степени сухости пара удельный объем влажного пара также увеличивается и при степени сухости х =1 становится равным удельному объему сухого пара (рис. 5.1, положение 4). Следовательно, < < . Обычно значительно больше . Например, при давлении 10 ата больше почти в 200 раз. Когда процесс кипения протекает при постоянном давлении, температура воды, как было сказано выше, остается также постоянной; такую же температуру имеет насыщенный пар. Основываясь на этом, насыщенному пару (как влажному, так и сухому можно дать такое определение: насыщенным называется пар, имеющий температуру воды, из которой он получился.

Если к сухому пару подводить теплоту при постоянном давлении, то он становится перегретым паром. Процесс перегрева является третьей стадией парообразования, сопровождающийся повышением температуры пара и увеличением его удельного объема (рис. 5.1, положение 5).

Температура перегретого пара обозначается через t, а удельный объем его через v. Из сказанного следует, что перегретым называется пар, имеющий температуру выше температуры воды, из которой он получился. Разность называется степенью перегрева, или перегревом. Чем выше температура перегретого пара, тем больше перегрев и удельный объем v.

 

Перегретый пар в турбину
 
Вторично перегретый пар в турбину
Пар с турбины
Вторичный воздух
Первичный воздух
Уходящие газы
Холодный воздух
Питательная вода

 

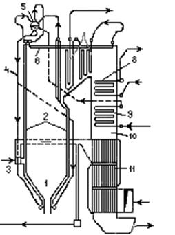
Рис. 5.2. Практический способ получения перегретого пара.

Схема барабанного котла с естественной цир­куляцией

топочная камера; 2 топочные экраны; 3 – горелки; 4 – опускные трубы; 5 – барабан; 6 радиационный пароперегре­ватель; 7 – конвективный пароперегреватель; 8 – промежуточный перегреватель; 9–экономайзер; 10 – конвективный газоход; 11 – воз­духоподогреватель.

 

Перегретый пар по сравнению с насыщенным имеет следующие преимущества. Во-первых, отнятие теплоты от перегретого пара связано только с уменьшением его температуры и удельного объема, конденсации же пара при этом не происходит. В ряде случаев, когда влажный пар отдает теплоту (например, в трубопроводах, в цилиндре паровой машины или турбины), конденсация его влечет за собой ряд нежелательных явлений, поэтому указанное свойство перегретого пара является очень важным. Во-вторых, теплопроводность перегретого пара меньше, чем влажного, вследствие чего он медленнее теряет теплоту, чем насыщенный пар. Благодаря указанным свойствам в теплотехнике в основном используют перегретый пар, хотя в некоторых случаях, наоборот, бывает предпочтительнее влажный пар.

Итак, процесс парообразования в общем случае можно разделить на три стадии: 1) подогрев воды до температуры насыщения; 2) испарение (парообразование) кипящей воды и, наконец, 3) превращение сухого пара в перегретый. При этом сухой пар является границей между влажным и перегретым паром. Такое состояние пара крайне неустойчиво, так как даже при самом незначительном подводе или отводе теплоты он превращается или в перегретый или во влажный пар.

Из рассмотренного процесса парообразования следует также, что в присутствии воды пар может быть только влажным. Такой пар при подводе к нему теплоты становится суше, оставаясь все-таки влажным. Перегретый пар можно получить только в том случае, если он не будет соприкасаться с водой. Практически в теплотехнике перегретый пар получается в особых устройствах, называемых пароперегревателями. Схема получения такого пара указана на рис. 5.2. На нем цифрой 1 обозначена топка парового котла, в которой происходит превращение воды во влажный пар. Этот пар отводится из топки по топочным экранам 2 в барабан котла 5, в котором происходит отделение пара от воды. И далее сухой пар из барабана котла направляется в трубчатые змеевики 6, 7, являющиеся пароперегревателями. Пароперегреватели обогреваются горячими газами, идущими из топки котла (уходящими газами). Так как пароперегреватель все время сообщен с паровым пространством котла, то давление пара в пароперегревателе приблизительно такое же, как и в котле.

 




Поделиться с друзьями:


Дата добавления: 2014-12-26; Просмотров: 1645; Нарушение авторских прав?; Мы поможем в написании вашей работы!


Нам важно ваше мнение! Был ли полезен опубликованный материал? Да | Нет



studopedia.su - Студопедия (2013 - 2026) год. Все материалы представленные на сайте исключительно с целью ознакомления читателями и не преследуют коммерческих целей или нарушение авторских прав! Последнее добавление




Генерация страницы за: 0.012 сек.