Студопедия

КАТЕГОРИИ:


Архитектура-(3434)Астрономия-(809)Биология-(7483)Биотехнологии-(1457)Военное дело-(14632)Высокие технологии-(1363)География-(913)Геология-(1438)Государство-(451)Демография-(1065)Дом-(47672)Журналистика и СМИ-(912)Изобретательство-(14524)Иностранные языки-(4268)Информатика-(17799)Искусство-(1338)История-(13644)Компьютеры-(11121)Косметика-(55)Кулинария-(373)Культура-(8427)Лингвистика-(374)Литература-(1642)Маркетинг-(23702)Математика-(16968)Машиностроение-(1700)Медицина-(12668)Менеджмент-(24684)Механика-(15423)Науковедение-(506)Образование-(11852)Охрана труда-(3308)Педагогика-(5571)Полиграфия-(1312)Политика-(7869)Право-(5454)Приборостроение-(1369)Программирование-(2801)Производство-(97182)Промышленность-(8706)Психология-(18388)Религия-(3217)Связь-(10668)Сельское хозяйство-(299)Социология-(6455)Спорт-(42831)Строительство-(4793)Торговля-(5050)Транспорт-(2929)Туризм-(1568)Физика-(3942)Философия-(17015)Финансы-(26596)Химия-(22929)Экология-(12095)Экономика-(9961)Электроника-(8441)Электротехника-(4623)Энергетика-(12629)Юриспруденция-(1492)Ядерная техника-(1748)

Клеевые соединения




Общие указания

СОЕДИНЕНИЯ ЭЛЕМЕНТОВ ДЕРЕВЯННЫХ КОНСТРУКЦИЙ

5.1. Соединения элементов являются важнейшей составной частью деревянных конструкций, от прочности и деформативности которых зависит надежная работа конструкций в целом.

Применяются следующие основные виды соединений: на клею, нагелях, шайбах, металлических зубчатых пластинах (МЗП), на врубках.

Клеевые соединения должны рассматриваться как жесткие (неподатливые), а соединения на нагелях, на МЗП, на врубках и другие - как податливые. Расчетная несущая способность соединений должна определяться по разд. 5 СНиП II-25-80 в зависимости от типа соединения и его напряженного состояния.

Таблица 21

№ пп. Вид соединения Деформация соединения δ, мм
  Примыкания поперек волокон для элементов из цельной древесины  
  То же, для элементов из клееной древесины  
  Соединения на нагелях всех видов, кроме вклеенных, сопряжения стальных элементов с деревянными  
  Соединения на лобовых врубках и примыкания торца в торец 1,5
  Соединения на металлических пластинах всех типов  
  Соединения на вклеенных стержнях из арматурной стали нагельные и работающие на выдергивание или продавливание поперек волокон 0,5
  То же, при работе на выдергивание или продавливание вдоль волокон 0,25
  Клеевые соединения по пласти, по кромке и с помощью зубчатого шипа  

5.2. Величины деформаций δ, мм, различных видов соединений при полном использовании их расчетной несущей способности следует принимать по табл. 21.

5.3. В деревянных конструкциях клеевые соединения используются прежде всего для склеивания древесины с древесиной в целях увеличения поперечных и продольных размеров элементов из сушеных пиломатериалов с влажностью не выше 15 %, а также древесины с фанерой. При этом различают клеевые соединения:

а) с помощью зубчатого шипа и «на ус» при сращивании по длине пиломатериалов и листов фанеры;

б) с помощью зубчатого шипа вдоль волокон и под углом к волокнам по всему сечению стыкуемых элементов из клееной древесины;

в) всей кромки и пласти фрезерованных заготовок из пиломатериалов при их сплачивании по ширине и по высоте сечения многослойного пакета укрупненных размеров.

5.4. Для стыкования заготовок по длине рекомендуется зубчатый шип с длиной зубьев 32 мм, а при стыковании клееных элементов по всему сечению - с длиной зубьев 50 мм. Стыкование фанерных листов осуществляется «на ус» и допускается только вдоль волокон наружных слоев с уклоном усового соединения 1:8 - 1:10 или с помощью накладок.

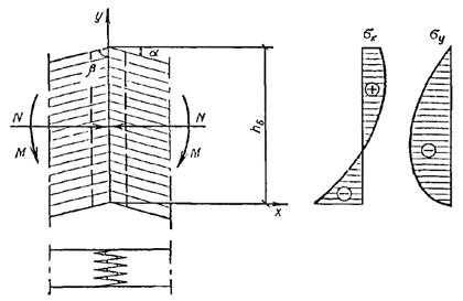
5.5. Соединение клееных элементов несущих конструкций с помощью зубчатого шипа по всему сечению допускается использовать в сопряжениях вдоль и под углом к волокнам (рис. 12) в пределах 0 ≤ α ≥ 38° при действии момента, вызывающего сжимающие напряжения по внутренней кромке, или момента того же знака в сочетании со сжимающей силой. Проверку максимальных напряжений в таких соединениях следует производить в биссектрисном сечении:

для сжатой зоны вдоль оси под углом к волокнам α

σ xc = M д/(K 1 W б) + N / F бR смα;

для растянутой зоны вдоль оси X под углом к волокнам

σ x р = M д/(K 2 W б) - N / F бR и m α;

для сжатия вдоль оси Y под углом к волокнам β = 90° - α

σ y с = M д/(K 3 W б) ≤ R смβ,

где F б и W б - площадь и момент сопротивления биссектрисного сечения;

R смα, R смβ, R и - соответственно расчетные сопротивления древесины смятию под углом α и β к волокнам и изгибу, определяемые по СНиП II-25-80, п. 3.1 без введения коэффициентов m б и m сл (СНиП II-25-80, п. 3.2);

K 1, K 2, K 3 - коэффициенты, принимаемые по графикам рис. 13;

m α - коэффициент, принимаемый по графику рис. 14.

5.6. В конструкциях клеевые соединения работают на сложное сопротивление сдвига и отрыва поперек волокон. Чем выше различие склеиваемых материалов по температурно-влажностным деформациям, тем выше собственные внутренние напряжения, возникающие в клеевых соединениях.

Влажностные напряжения в клеевом соединении древесины зависят от согласования слоев. На рис. 15 приведены эпюры нормальных и касательных напряжений поперек волокон для трех схем сочетания годовых слоев в склеиваемых пиломатериалах.

Рис. 12. Соединение клееных элементов на зубчатый шип под углом по всему сечению

Рис. 13. Графики зависимости коэффициентов K 1, K 2, K 3 от угла наклона волокон для зубчатого соединения по всему сечению

Рис. 14. График зависимости коэффициента m α от угла наклона волокон (к определению расчетного сопротивления изгиба R и при проверке прочности внешне растянутой кромки узлового соединения на зубчатый шип)

5.7. Достижение требуемого уровня прочности всех видов клеевых соединений зависит от правильного конструирования и расчета, от качества изготовления и строгого соблюдения правил и регламента технологии производства, от регулярного проведения контрольных заводских испытаний соединений на долговечность, послойное скалывание, растяжение поперек волокон, согласно действующим ГОСТам.

Рис. 15. Характер распределения собственных внутренних нормальных и касательных напряжений поперек волокон, возникающих при высыхании клееной древесины в случае трех типичных сочетаний досок с различным расположением годовых слоев в сечении

а) тангентальное-тангентальное (согласованное); б) тангентальное-тангентальное (несогласованное); в) радиальное смешанное




Поделиться с друзьями:


Дата добавления: 2014-12-26; Просмотров: 556; Нарушение авторских прав?; Мы поможем в написании вашей работы!


Нам важно ваше мнение! Был ли полезен опубликованный материал? Да | Нет



studopedia.su - Студопедия (2013 - 2025) год. Все материалы представленные на сайте исключительно с целью ознакомления читателями и не преследуют коммерческих целей или нарушение авторских прав! Последнее добавление




Генерация страницы за: 0.008 сек.