Студопедия

КАТЕГОРИИ:


Архитектура-(3434)Астрономия-(809)Биология-(7483)Биотехнологии-(1457)Военное дело-(14632)Высокие технологии-(1363)География-(913)Геология-(1438)Государство-(451)Демография-(1065)Дом-(47672)Журналистика и СМИ-(912)Изобретательство-(14524)Иностранные языки-(4268)Информатика-(17799)Искусство-(1338)История-(13644)Компьютеры-(11121)Косметика-(55)Кулинария-(373)Культура-(8427)Лингвистика-(374)Литература-(1642)Маркетинг-(23702)Математика-(16968)Машиностроение-(1700)Медицина-(12668)Менеджмент-(24684)Механика-(15423)Науковедение-(506)Образование-(11852)Охрана труда-(3308)Педагогика-(5571)Полиграфия-(1312)Политика-(7869)Право-(5454)Приборостроение-(1369)Программирование-(2801)Производство-(97182)Промышленность-(8706)Психология-(18388)Религия-(3217)Связь-(10668)Сельское хозяйство-(299)Социология-(6455)Спорт-(42831)Строительство-(4793)Торговля-(5050)Транспорт-(2929)Туризм-(1568)Физика-(3942)Философия-(17015)Финансы-(26596)Химия-(22929)Экология-(12095)Экономика-(9961)Электроника-(8441)Электротехника-(4623)Энергетика-(12629)Юриспруденция-(1492)Ядерная техника-(1748)

Введение. Пояснительная записка к домашнему заданию по курсу




Исходные данные

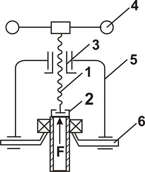
Съемник

 

Пояснительная записка к домашнему заданию по курсу

«Детали машин и Основы конструирования»

Выполнил: ____ ______________

(ФИО)

____________

(подпись, дата)

 

 

Проверил: ассистент каф. 202

 

_________________ Светличный С. П.

(подпись, дата) (ФИО)


 

(вклеить или вшить бланк задания)

 

/ Внимание!

Комментарии и рекомендации, выделенные в тексте наклонными линиями (/…./), должны быть удалены!/

Содержание

 

  Введение  
  1. Расчет винта  
  1.1. Выбор материала  
  1.2. Проектировочный расчет  
  1.3. Конструирование опорного узла  
  1.4. Проверочный расчет  
  2. Расчет гайки  
  2.1. Проектировочный расчет  
  2.2. Проверочный расчет  
  2.3. Расчет заплечика  
  2.4. Расчет фиксирующего элемента  
  3. Расчет рукоятки  
  4. Расчет корпуса  
  5. КПД механизма  
  Заключение  
  Список используемой литературы  

 

 


 

/Введение должно быть оформлено на отдельной странице и не нумеруется.

Обязательными элементами введения являются (в порядке следования в тексте):

– определение объекта проектирования, его назначение;

– изображение принципиальной схемы механизма;

– перечень основных его частей с кратким описанием функционального назначения каждой из них;

– описание преимуществ и недостатков предложенной для проектирования схемы по сравнению с подобными механизмами./

 

Рисунок 1 – Съемник. Принципиальная схема

Номер детали Наименование Назначение
     
     
     
     
     
     

 





Поделиться с друзьями:


Дата добавления: 2014-12-27; Просмотров: 598; Нарушение авторских прав?; Мы поможем в написании вашей работы!


Нам важно ваше мнение! Был ли полезен опубликованный материал? Да | Нет



studopedia.su - Студопедия (2013 - 2026) год. Все материалы представленные на сайте исключительно с целью ознакомления читателями и не преследуют коммерческих целей или нарушение авторских прав! Последнее добавление




Генерация страницы за: 0.006 сек.