Студопедия

КАТЕГОРИИ:


Архитектура-(3434)Астрономия-(809)Биология-(7483)Биотехнологии-(1457)Военное дело-(14632)Высокие технологии-(1363)География-(913)Геология-(1438)Государство-(451)Демография-(1065)Дом-(47672)Журналистика и СМИ-(912)Изобретательство-(14524)Иностранные языки-(4268)Информатика-(17799)Искусство-(1338)История-(13644)Компьютеры-(11121)Косметика-(55)Кулинария-(373)Культура-(8427)Лингвистика-(374)Литература-(1642)Маркетинг-(23702)Математика-(16968)Машиностроение-(1700)Медицина-(12668)Менеджмент-(24684)Механика-(15423)Науковедение-(506)Образование-(11852)Охрана труда-(3308)Педагогика-(5571)Полиграфия-(1312)Политика-(7869)Право-(5454)Приборостроение-(1369)Программирование-(2801)Производство-(97182)Промышленность-(8706)Психология-(18388)Религия-(3217)Связь-(10668)Сельское хозяйство-(299)Социология-(6455)Спорт-(42831)Строительство-(4793)Торговля-(5050)Транспорт-(2929)Туризм-(1568)Физика-(3942)Философия-(17015)Финансы-(26596)Химия-(22929)Экология-(12095)Экономика-(9961)Электроника-(8441)Электротехника-(4623)Энергетика-(12629)Юриспруденция-(1492)Ядерная техника-(1748)

Устройство основных типов овощерезательных машин и механизмов




 

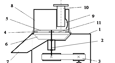
5.2.1. Дисковые овощерезательные машины и механизмы.

 

Дисковые овощерезательные машины и механизмы применяются для нарезки сырых овощей. Принцип их действия и конструкция примерно одинаковы. К основным конструктивным узлам такого оборудования относятся (рис. 5.1) корпус 1 в котором находится вертикальный приводной вал 2 и привод, состоящий из электродвигателя и клиноременной передачи 3. На приводном валу крепится сменный рабочий инструмент.

 

 

Рис.5.1. Схема устройства дисковой овощерезки.

 

В комплект рабочего инструмента овощерезательных машин входят опорные диски 4 с закрепленными на них ножами различной формы 5 для шинковки капусты, нарезки ломтиками или брусочками, а также терочные диски для нарезки соломкой и стружкой. Под рабочим инструментом устанавливается сбрасыватель 6, который также крепится к приводному валу и представляет собой лопасти для удаления нарезанных овощей через разгрузочное отверстие 7. Сверху к корпусу крепится загрузочное устройство 8 в котором расположена одна или несколько рабочих камер 9 (для шинковки капусты, нарезки заготовок прямоугольной, цилиндрической и круглой формы).

Для обеспечения безопасной работы на овощерезательном оборудовании подачу овощей в направлении рабочих инструментов производят только с помощью толкателя 10 при вращающихся рабочих инструментах. Нарезанные овощи удаляются из рабочей камеры через отверстия 11 в опорных или терочных дисках.

В настоящее время отечественной промышленностью выпускаются настольные дисковые овощерезательные машины МРО50-200, а также сменные механизмы к универсальным кухонным машинам УКМ и УММ. Устройство и принцип действия сменных дисковых овощерезательных механизмов аналогичен и отличается тем, что для передачи движения к рабочему валу в них используется коническая зубчатая передача.

 

5.2.2. Пуансонные овощерезательные механизмы.

 

Пуансонные овощерезки в основном используются в виде сменных механизмов и предназначены для фигурной нарезки сырых овощей в форме кубиков, долек и т.д. Они состоят из корпуса 1, внутри которого расположены червячный редуктор 2, кривошипно-шатунный механизм с коленчатым валом 3, шатуном 4 и пуансоном 5, а также сменный рабочий режущий инструмент в виде ножевой решетки 6 (рис. 3.4.). Сырые овощи, предварительно нарезанные ломтиками определенной толщины и размеров, подают в загрузочное отверстие 7, откуда они попадают на ножевую решетку и продавливаются через нее пуансоном. Форма ячеек ножевой решетки соответствует форме нарезки.

 


Рис. 5.2. Схема устройства пуансонного овощерезательного механизма.

 

5.2.3. Универсальныеные овощерезательные машины.

 

Устройство универсальных овощерезательных машин аналогично устройству дисковых овощерезок (рис. 3.5). Главным отличием является то, что поверхность, на которую устанавливается загрузочное устройство, имеет отверстие, куда при нарезке кубиками или квадратными пластинками вставляется ножевая решетка 1. Серповидный нож 2 отрезает ломтик от продукта ломтик, который продавливается наклонной поверхностью ножа и опорного диска в ножевую решетку. Вертикальные ножи ножевой решетки разрезают ломтик на квадратные пластинки или кубики, которые продавливаются через ножевую решетку следующими отрезанными ломтиками и удаляются из машины сбрасывателем.

 

 

 


Рис.5.3. Схема устройства комбинированных овощерезок.

 

В таблице 5.1 даны технические характеристики овощерезательных машин и механизмов отечественного производства

Таблица 5.1.

Технические характеристики овощерезок отечественного производства

Показатели МРО50-200 МПР-350 МРО400-1000 МОПII-1
Производительность, кг/ч: по сырым овощам по вареным овощам   80…200 -   100…350 100…600   80…300 -   160…300 100…200
Частота вращения ножа, мин-1       -
Толщина ломтиков, мм     2,6,10 2,6
Мощность, кВт 0,37 0,75 0,8 -
Габариты длина ширина высота        
Масса, кг        

 

 




Поделиться с друзьями:


Дата добавления: 2015-04-24; Просмотров: 981; Нарушение авторских прав?; Мы поможем в написании вашей работы!


Нам важно ваше мнение! Был ли полезен опубликованный материал? Да | Нет



studopedia.su - Студопедия (2013 - 2026) год. Все материалы представленные на сайте исключительно с целью ознакомления читателями и не преследуют коммерческих целей или нарушение авторских прав! Последнее добавление




Генерация страницы за: 0.011 сек.