Студопедия

КАТЕГОРИИ:


Архитектура-(3434)Астрономия-(809)Биология-(7483)Биотехнологии-(1457)Военное дело-(14632)Высокие технологии-(1363)География-(913)Геология-(1438)Государство-(451)Демография-(1065)Дом-(47672)Журналистика и СМИ-(912)Изобретательство-(14524)Иностранные языки-(4268)Информатика-(17799)Искусство-(1338)История-(13644)Компьютеры-(11121)Косметика-(55)Кулинария-(373)Культура-(8427)Лингвистика-(374)Литература-(1642)Маркетинг-(23702)Математика-(16968)Машиностроение-(1700)Медицина-(12668)Менеджмент-(24684)Механика-(15423)Науковедение-(506)Образование-(11852)Охрана труда-(3308)Педагогика-(5571)Полиграфия-(1312)Политика-(7869)Право-(5454)Приборостроение-(1369)Программирование-(2801)Производство-(97182)Промышленность-(8706)Психология-(18388)Религия-(3217)Связь-(10668)Сельское хозяйство-(299)Социология-(6455)Спорт-(42831)Строительство-(4793)Торговля-(5050)Транспорт-(2929)Туризм-(1568)Физика-(3942)Философия-(17015)Финансы-(26596)Химия-(22929)Экология-(12095)Экономика-(9961)Электроника-(8441)Электротехника-(4623)Энергетика-(12629)Юриспруденция-(1492)Ядерная техника-(1748)

Выбор оборудования для очистки скважин от песчаной пробки




 

Оборудование для очистки скважин от песчаной пробки зависит от технологической схемы (рисуноки 73 и 74). Промывочный насос определяется исходя из требуемых давления и подачи (производительности).

 

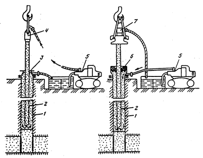
Рисунок 73 — Схема прямой (а) и обратной (б) промывок скважин

1 — колонна; 2 — НКТ; 3 — устьевой тройник; 4 — промывочный вертлюг; 5 — промывочный насосный агрегат; 6 — устьевой сальник; 7 — переводник со шлангом.

 

Рисунок 74 — Оборудование скважины при промывке ее аэрированной жидкостью с добавкой ПАВ

1 — обратный малан; 2 — манифольд; 3 — устьевой сальник; 4 — НКТ; 5 — шланг; 6 — вентили; 7 — манифольд; 8 — манометр; 9 — смеситель-аэратор; 10 — обратные клапаны; 11 — вентиль; 12 — расходомер; 13 — насос; 14 — емкость.

 

Производительность первоначально целесообразно принять: из условий минимальной подачи насоса (1 передача коробки перемены передач двигателя); из условий размыва песка струей жидкости из насадки.

Для определения необходимого давления следует провести гидравлический расчет промывки.

Способ промывки: 1 — прямая; 2 — обратная; 3 — комбинированная; 4 — непрерывная.

При гидравлическом расчете промывки подлежат определению следующие параметры, которые устанавливают технологические характеристики проведения работ с оценкой требуемого давления и расхода жидкости, а также времени на осуществление процесса.

1. Скорость восходящего потока жидкости должна быть больше скорости падения в ней частичек песка:

,

где скорость подъёма песчинок; — скорость восходящего потока жидкости; — средняя скорость свободного падения песка в жидкости, определяемая в зависимости от диаметра частиц песка.

Диаметр частиц песка, мм 0.3 0.25 0.2 0.1 0.01
, см/с 3.12 2.53 1.95 0.65 0.007

Обычно принимается, что , тогда .

2. Общие гидравлическое потери при промывке:

, м.

Здесь — потери напора в промывочных трубах:

, (1)

где — длина промывочных труб, м; — внутренний диаметр промывочных труб, м; — скорость нисходящего потока жидкости в трубах, м/с; — плотность жидкости, т/м3, — коэффициент гидравлических сопротивлении (таблица или расчет).

Условный диаметр труб, мм          
0.040 0.037 0.035 0.034 0.032

 

, (2)

 

где — коэффициент, учитывающий увеличение потерь вследствие содержания в жидкости песка (); — внутренний диаметр эксплуатационной колонны, м; — наружный диаметр промывочных труб, м.

При определении гидравлических сопротивлении обратной промывки пользуются теми же формулами, только формула (1) используется для восходящего потока, а формула (2) — для нисходящего.

 

, (3)

 

где — доля пустот между частицами песка, занимаемая жидкостью, ; — площадь сечения обсадной колонны, м2; — высота пробки, прошиваемой за один прием ( или 12 м); f - площадь сечения кольцевого пространства, м2; — плотность песка (для кварцевого песка т/м3.

и — потери, напора, соответственно, для вертлюга и шланга определяются по опытным данным и могут быть приняты следующие (см. ниже).

— потери напора в наконечнике: насадки диаметром Æ 10 ¸37 мм, фрезер и др.,

, (4)

 

где — плотность жидкости, г/см3; — подача жидкости, см3/с; см/с2; — коэффициент расхода насадки; — сечение насадки, см2.

3. Время, необходимое для подъема размытой породы на поверхность:

,

где — скорость подъема размытой породы.

При промывке нефтью изменения в расчет будут внесены только в определение коэффициента :

при турбулентном режиме — ;

при ламинарном режиме — ,

где — число Рейнольдса:

при течении жидкости в трубе — ;

при течении жидкости в кольцевом пространстве — ,

где — скорость течения жидкости, м/с; — кинематическая вязкость жидкости, м2/с.

При — режим движения жидкости ламинарный, — турбулентный.

 




Поделиться с друзьями:


Дата добавления: 2015-04-24; Просмотров: 678; Нарушение авторских прав?; Мы поможем в написании вашей работы!


Нам важно ваше мнение! Был ли полезен опубликованный материал? Да | Нет



studopedia.su - Студопедия (2013 - 2026) год. Все материалы представленные на сайте исключительно с целью ознакомления читателями и не преследуют коммерческих целей или нарушение авторских прав! Последнее добавление




Генерация страницы за: 0.009 сек.