Студопедия

КАТЕГОРИИ:


Архитектура-(3434)Астрономия-(809)Биология-(7483)Биотехнологии-(1457)Военное дело-(14632)Высокие технологии-(1363)География-(913)Геология-(1438)Государство-(451)Демография-(1065)Дом-(47672)Журналистика и СМИ-(912)Изобретательство-(14524)Иностранные языки-(4268)Информатика-(17799)Искусство-(1338)История-(13644)Компьютеры-(11121)Косметика-(55)Кулинария-(373)Культура-(8427)Лингвистика-(374)Литература-(1642)Маркетинг-(23702)Математика-(16968)Машиностроение-(1700)Медицина-(12668)Менеджмент-(24684)Механика-(15423)Науковедение-(506)Образование-(11852)Охрана труда-(3308)Педагогика-(5571)Полиграфия-(1312)Политика-(7869)Право-(5454)Приборостроение-(1369)Программирование-(2801)Производство-(97182)Промышленность-(8706)Психология-(18388)Религия-(3217)Связь-(10668)Сельское хозяйство-(299)Социология-(6455)Спорт-(42831)Строительство-(4793)Торговля-(5050)Транспорт-(2929)Туризм-(1568)Физика-(3942)Философия-(17015)Финансы-(26596)Химия-(22929)Экология-(12095)Экономика-(9961)Электроника-(8441)Электротехника-(4623)Энергетика-(12629)Юриспруденция-(1492)Ядерная техника-(1748)

Описание конструкции литьевого пресса




Порядок выполнения работы

Литьевые машины

Лабораторная работа 16

 

Цель работы: ознакомление с конструкцией и принципом действия литьевых машин для переработки термопластов, составление кинематической и расчётной схем, технической характеристики литьевой машины.

Оборудование: пресс вертикальный литьевой.

Предварительная подготовка: ознакомиться с процессом литья под давлением термопластов, конструкциями литьевых машин
[22, c. 243 – 360; 9, с. 161 – 215; 31, с. 9 – 81; 11, с. 229 – 243; 14, с. 5 – 21]; изучить методики расчёта основных параметров литьевых машин
[31, с. 82 – 99; 22, с. 243 – 257].

 

 

1. В лаборатории на рабочем месте ознакомиться с конструкцией литьевого пресса и составить его кинематическую схему.

2. По соответствующим зависимостям определить основные параметры литьевых машин.

3. Составить техническую характеристику литьевой машины.

 

 

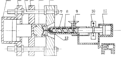
Схема литьевой гидравлической машины с червячной пластикацией представлена на рис. 1.

Механизм движения материала в рабочих органах литьевой машины, а также физико-химические процессы, обеспечивающие фиксацию конфигурации, приобретенной расплавом в литьевой форме, принципиально различны для термопластов, реактопластов и резин. Однако существо и последовательность отдельных операций цикла формования, а также принципиальная конструкция рабочих органов

 

 

1 2 3 4 5 6

Рис. 1. Способ червячной пластикации материала

и приводов в литьевом оборудовании для всех этих материалов имеют много общего. Способ пластикации и ввода материала в форму, показанный на рис. 1, получил наибольшее распространение и является общим для всех трёх классов полимерных материалов.

Перерабатываемый материал в виде шнура, ленты или порошка из бункера 9 захватывается червяком 7 через загрузочное отверстие пластикационного цилиндра 8 и транспортируется в его переднюю часть. При этом материал нагревается до температуры плавления как вследствие работы деформирования в канале червяка, так и за счёт подвода тепла от стенок пластикационного цилиндра. Подготовленный червяком расплав тем или иным способом (в зависимости от технологической разновидности метода) подаётся в оформляющую полость формы 5, нагретую до температуры 453…523 К для реактопластов и холодную – для термопластов. Вследствие дальнейшего прогрева реактопластов за счёт контакта со стенками формы в материале начинает протекать реакция отверждения (вулканизации для резин). В случае переработки термопластов как во время, так и после заполнения формы в результате контакта с холодными стенками расплав интенсивно охлаждается, уменьшаясь в объёме. Во избежание выделения летучих веществ, для устранения пористости изделий, усадочных раковин в форме необходимо определённое время поддерживать давление извне. Оно создаётся червяком 7, находящимся под воздействием осевого усилия от гидроцилиндра 11. Давление поддерживается до тех пор, пока расплав в летнике и оформляющей полости формы потеряет свойство текучести. Затем готовое изделие извлекается из формы.

Кинематические перемещения в механизмах запирания форм осуществляются механическими и гидромеханическими устройствами или гидравлическим цилиндром; усилие запирания создаётся также гидроцилиндром. Гидропривод работает с помощью насосов и командно-силовых механизмов (гидроцилиндров, золотников, клапанов и т.д.), которые образуют единую гидравлическую систему. Конструктивные особенности литьевой машины определяет сложность гидравлической системы.

 




Поделиться с друзьями:


Дата добавления: 2015-04-24; Просмотров: 928; Нарушение авторских прав?; Мы поможем в написании вашей работы!


Нам важно ваше мнение! Был ли полезен опубликованный материал? Да | Нет



studopedia.su - Студопедия (2013 - 2026) год. Все материалы представленные на сайте исключительно с целью ознакомления читателями и не преследуют коммерческих целей или нарушение авторских прав! Последнее добавление




Генерация страницы за: 0.008 сек.