Студопедия

КАТЕГОРИИ:


Архитектура-(3434)Астрономия-(809)Биология-(7483)Биотехнологии-(1457)Военное дело-(14632)Высокие технологии-(1363)География-(913)Геология-(1438)Государство-(451)Демография-(1065)Дом-(47672)Журналистика и СМИ-(912)Изобретательство-(14524)Иностранные языки-(4268)Информатика-(17799)Искусство-(1338)История-(13644)Компьютеры-(11121)Косметика-(55)Кулинария-(373)Культура-(8427)Лингвистика-(374)Литература-(1642)Маркетинг-(23702)Математика-(16968)Машиностроение-(1700)Медицина-(12668)Менеджмент-(24684)Механика-(15423)Науковедение-(506)Образование-(11852)Охрана труда-(3308)Педагогика-(5571)Полиграфия-(1312)Политика-(7869)Право-(5454)Приборостроение-(1369)Программирование-(2801)Производство-(97182)Промышленность-(8706)Психология-(18388)Религия-(3217)Связь-(10668)Сельское хозяйство-(299)Социология-(6455)Спорт-(42831)Строительство-(4793)Торговля-(5050)Транспорт-(2929)Туризм-(1568)Физика-(3942)Философия-(17015)Финансы-(26596)Химия-(22929)Экология-(12095)Экономика-(9961)Электроника-(8441)Электротехника-(4623)Энергетика-(12629)Юриспруденция-(1492)Ядерная техника-(1748)

Перегородки




 

Перегородки в жилых домах с несущим остовом в виде сборных каркасно-этажерочных систем могут устраиваться как крупнопанельными, так и из штучных мелкоразмерных элементов, а при сборно-монолитном или монолитном вариантах каркаса – только из штучных мелкоразмерных элементов (в связи с технологией устройства этих каркасов, т.е. в связи с необходимостью установки на перекрытие предыдущего этажа опорного и опалубочно-потолочного оборудования для устройства перекрытия следующего по высоте этажа).

При этом межкомнатные и межквартирные перегородки могут устраиваться из тех же штучных мелкоразмерных элементов, что и в бескаркасных домах, но чаще всего их устраивают из газосиликатных или ячеистобетонных плит или каркасными гипсокартонными, а перегородки, отделяющие влажные помещения, в том числе и санитарно-технические узлы, выполняют из влагостойких материалов, например, из красного кирпича. На рис. 27.11.1–27.11.8 показаны варианты конструктивных решений перегородок из штучных мелкоразмерных элементов и узлы их опирания на перекрытия и примыкания к стенам и потолкам.

 

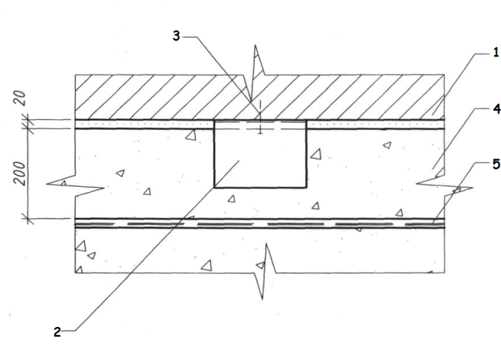
Рис. 27.11.1. Вариант узла примыкания и крепления (поперечный разрез) двухслойной комбинированной (из ячеистобетонного и кирпичного слоёв) перегородки к верхнему перекрытию:1 – конопатка;2 – дюбель; 3 – проклейка тканью; 4 – удерживающая скоба; 5 – арматурные каркасы; 6 – деревянный антисептированный брус сечением 40х40мм по длине перегородки; 7 – штукатурка

 

Рис. 27.11.2. Вариант узла примыкания и крепления (план) двухслойной комбинированной перегородки (из ячеистобетонного и кирпичного слоёв) к стене:1 – конопатка; 2 – дюбель; 3 – проклейка тканью; 4 – удерживающая скоба; 5 – арматурные каркасы; 6 – деревянный антисептированный брус сечением 40х100мм по высоте перегородки; 7 – штукатурка

Рис 27.11.3. Вариант узла примыкания и крепления двойных перегородок к верхнему (потолочному) перекрытию:1 – перекрытие; 2 – удерживающая скоба; 3 – дюбель; 4 – перегородка; 5 – арматурный каркас

 

Рис. 27.11.4.Вариант узла примыкания и крепления двойных перегородок к вертикальной стене (к рис 27.11.2):1 – стена; 2 – перегородка; 3 – дюбель; 4,5,6 – арматурные каркасы на уровне удерживающей скобы; 7 – удерживающая скоба

 

Рис. 27.11.5. Вариант конструкции удерживающей скобы, длина которой устанавливается в зависимости от толщины перегородки (на рисунке длина скобы равна 265 мм, к рис. 27.11.1, 27.11.2 и 27.11.4)

Рис. 27.11.6. Вариант узла опирания и примыкания к плите перекрытия двухслойной перегородки из ячеистобетонных блоков. Между плитой перекрытия и верхом перегородки податливая упругая прокладка толщиной 10 мм

 

 

Рис. 27.11.7. Варианты узлов примыкания и крепления раздельными удерживающими скобами двухслойных кирпичных и комбинированных перегородок к плитам перекрытий и их опирания на перекрытия:1 – плиты перекрытий; 2 – проклейка тканью; 3 – удержи-вающие скобы; 4 – конопатка; 5 – арматурные каркасы; 6 – штукатурка; 7 – кирпич; 8 – плинтус; 9 – цементно-песчаный раствор.Зазор между плитой перекрытия (скобой) и перегородкой уплотняется конопаткой

 

Рис. 27.11.8. Варианты узлов примыкания и крепления раздельными удерживающими скобами двухслойных перегородок к стенам (в плане):1 – удерживающие скобы; 2 – штука-турка;3 – гвозди кадмированные; 4 – проклейка тканью; 5 – арматурные каркасы. Зазоры между стенами и перегородками уплотняются конопаткой

 




Поделиться с друзьями:


Дата добавления: 2015-04-24; Просмотров: 6328; Нарушение авторских прав?; Мы поможем в написании вашей работы!


Нам важно ваше мнение! Был ли полезен опубликованный материал? Да | Нет



studopedia.su - Студопедия (2013 - 2025) год. Все материалы представленные на сайте исключительно с целью ознакомления читателями и не преследуют коммерческих целей или нарушение авторских прав! Последнее добавление




Генерация страницы за: 0.011 сек.