Студопедия

КАТЕГОРИИ:


Архитектура-(3434)Астрономия-(809)Биология-(7483)Биотехнологии-(1457)Военное дело-(14632)Высокие технологии-(1363)География-(913)Геология-(1438)Государство-(451)Демография-(1065)Дом-(47672)Журналистика и СМИ-(912)Изобретательство-(14524)Иностранные языки-(4268)Информатика-(17799)Искусство-(1338)История-(13644)Компьютеры-(11121)Косметика-(55)Кулинария-(373)Культура-(8427)Лингвистика-(374)Литература-(1642)Маркетинг-(23702)Математика-(16968)Машиностроение-(1700)Медицина-(12668)Менеджмент-(24684)Механика-(15423)Науковедение-(506)Образование-(11852)Охрана труда-(3308)Педагогика-(5571)Полиграфия-(1312)Политика-(7869)Право-(5454)Приборостроение-(1369)Программирование-(2801)Производство-(97182)Промышленность-(8706)Психология-(18388)Религия-(3217)Связь-(10668)Сельское хозяйство-(299)Социология-(6455)Спорт-(42831)Строительство-(4793)Торговля-(5050)Транспорт-(2929)Туризм-(1568)Физика-(3942)Философия-(17015)Финансы-(26596)Химия-(22929)Экология-(12095)Экономика-(9961)Электроника-(8441)Электротехника-(4623)Энергетика-(12629)Юриспруденция-(1492)Ядерная техника-(1748)

Основные сведения об устройстве и работе тепловозов




Тепловозом называется локомотив - у которого в качестве первичной энергетической установки применен двигатель внутреннего сгорания дизель.

В отличие от электровоза тепловоз — автономный локомотив, так как энергия для приведения колес в движение вырабатывается непосредственно на локомотиве. У электровоза она поступает от контактной сети.

Чтобы дизель мог нормально работать, на тепловозе предусмотрены обслуживающие его системы: топливная, воздухоснабжения, водяная и масляная.

На тепловозе имеется аккумуляторная батарея, запас электрической энергии, которой используется для пуска дизеля (раскрутки коленчатого вала), а также для питания цепей управления и освещения тепловоза. При работающем дизеле эти функции (кроме пуска) выполняет вспомогательный электрический генератор. Он также служит для заряда аккумуляторной батареи.

Работу дизеля на нулевой позиции называют - режимом холостого хода, на промежуточных позициях называют - частичными режимами, на последней позиции называют - номинальным режимом. При работе на определенной позиции мощность дизеля остается постоянной, практически постоянным остается и вращающий момент на коленчатом валу.

Максимальное значение силы тяги ограничивается - силой сцепления колесных пар с рельсами, максимальное значение скорости - условиями безопасности. Таким образом, в условиях, когда дизель имеет постоянную частоту вращения и неизменяющийся вращающий момент, а колесные пары частоту вращения от нуля до определенного максимального значения, от передачи требуется непрерывное плавное изменение передаточного отношения, и это изменение должно совершаться автоматически в соответствии с требуемой силой тяги тепловоза (рис. 1).

Рис. 1. Тяговые характеристики тепловоза: Рис. 2.

1 - 1-й позиции контроллера; 2 - промежуточной; 3 - последней позиции (внешняя характеристика)

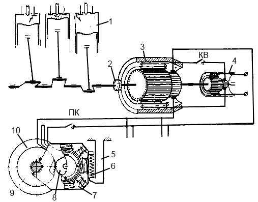
Рис. 2. Схема передачи мощности от дизеля колесным парам при электрической передаче: 1 - дизель; 2 - соединительная муфта; 3 - тяговый электрический генератор; 4 - возбудитель генератора; 5 - рама тележки; б - пружинная подвеска двигателя на раме тележки; 7 - тяговый электродвигатель; 8 - шестерня; 9 - зубчатое колесо; 10 - колесная пара; КВ - контактор возбуждения; ПК - поездной контактор тепловоза.

 

На тепловозах применяются только два типа передач: гидромеханическая и электрическая. Электрическая передача - получила наибольшее распространение. Состоит из тягового генератора с возбудителем, тяговых электродвигателей и зубчатых редукторов (рис. 2). Вал генератора подсоединен к коленчатому валу дизеля. В нем механическая энергия дизеля преобразуется в электрическую. Тяговые электродвигатели размещены в тележках непосредственно возле колесных пар. Подведенный по кабелям электрический ток от генератора вращает валы электродвигателей - электрическая энергия превращается снова в механическую. Валы двигателей и оси колесных пар связаны между собой зубчатыми передачами. Вращающий момент от двигателей передается колесным парам. Размещенная в раме кузова автосцепка передает тяговое усилие на состав.

Основной закон локомотивной тяги гласит: сила тяги не должна превышать силу сцепления колес с рельсами. Регулирование тягового момента (силы тяги) осуществляется электрическими машинами.

Классификация и обозначение серий тепловозов.

Тепловозы классифицируются: по роду службы (грузовые, пассажирские, маневровые и маневрово-вывозные, а также промышленного транспорта); по числу секций (односекционные, двухсекционные, трехсекционные, четырехсекционные); по типу передачи (с электрической постоянного или переменно-постоянного тока и гидромеханической); по типу экипажной части (тележечные и с жесткой рамой); по ширине колеи (нормальной или широкой 1520мм и узкой от 600 до 1100мм); по числу осей (восьмиосные, шестиосные, четырехосные, трехосные, двухосные).

Тип экипажа тепловоза определяет - его осевая характеристика, отражающая число, расположение и назначение осей (колесных пар). Для тепловозов тележечного типа осевая характеристика представляет собой сочетание цифр, число которых указывает на число тележек в экипаже, а каждая цифра — число осей (колесных пар) в тележке.

В осевых характеристиках (рис. 3) индексы «0» указывают на обмоторенные оси, знаки «—» и «+» показывают, что в первом случае тележки не спарены (несочленены) между собой, а во втором - сочленены, числа 2 и 1 в осевой характеристике тепловоза Ээл указывают на наличие у него двух бегунковых осей и одной поддерживающей.

Для локомотивов, работающих на отечественных, а также зарубежных железных дорогах, установлены определенные габаритные ограничения, определяемые габаритами «Т» и «1Т» Наиболее распространенный габарит «1Т» имеет наибольшую предельную ширину 3400мм и высоту 5300мм.

Рис. 3. Схемы экипажей тепловозов и их обозначение

 

Серии тепловозов. Принято обозначать сочетанием заглавных букв и цифр. Как правило, обозначение серии начинается с буквы Т (тепловоз). Вторая буква указывает на тип передачи (Э - электрическая, Г - гидравлическая). Третья буква обычно говорит о назначении тепловоза (П - пассажирский, М - маневровый). Цифры указывают номер серии тепловоза. По ним можно определить также и завод-изготовитель. Например, номера серий от 1 до 49 отведены магистральным Тепловозам, спроектированным Харьковским заводом транспортного Машиностроения им. Малышева, номера от 50 до 99 присваиваются тепловозам ПО «Коломенский завод», а номера свыше 100 - тепловозам ПО «Лугансктепловоз». Цифра перед буквенным обозначением указывает на число секций многосекционного тепловоза. Буква после номера серии указывает либо на модернизированный вариант (ЗТЭ10М), либо на завод-изготовитель, если первоначальный вариант тепловоза был изготовлен другим заводом (2ТЭ10Л, 2ТЭ10В Луганск, Ворошиловград).

Структура единой системы цифрового обозначения, состоит из семи знаков.

По первому знаку определить вид подвижного состава. Семизначная часть нового номера кодирует основные эксплуатационно-технические признаки подвижного состава, род его службы, серию и т. д. При этом для многосекционных локомотивов учитывается возможность их переформирования в эксплуатации и поэтому предусматривается цифровое обозначение каждой секции отдельно.

Второй знак кодируемого обозначения показывает тип подвижного состава: 0 - паровозы, 1 - электровозы односекционные, 2 - электровозы многосекционные, 3, 4 - электропоезда и электросекции, 5 - тепловозы односекционные, 6 - тепловозы многосекционные, 7 - дизель-поезда и автомотрисы, 8 - мотовозы, 9 - путевые машины.

Третий знак характеризует подвижной состав: роду службы (пассажирская, грузовая, маневровая, специальная); типу тяговой передачи (электрическая, гидравлическая); роду тока (постоянный, переменный, двойного питания). Так, тепловозы односекционные пассажирские имеют знак - 0, грузовые - 1, маневровые с электрической передачей с 2 по 6, маневровые с гидравлической передачей - с 7 по 9, также и многосекционные пассажирские тепловозы имеют знак - 0, а грузовые с 1 по 9.

Четвертый знак отдельно или в ряде случаев (при значительном числе объектов) в сочетании с третьим обозначает серию.

Пятый, шестой и седьмой знаки информации не содержат и служат для образования номера тяговой единицы. Восьмой знак (контрольный) используется для проверки правильности считывания и занесения в документы номера подвижного состава

У тех серий локомотивов, число которых превышает тысячу единиц, для образования номера используют четвертый знак. При этом к числу, обозначающему серию локомотива, прибавляют число тысяч порядкового номера. Например тепловоз ТЭЗ № 791 будет иметь обозначение 1610791, а № 4791-1614791.

 




Поделиться с друзьями:


Дата добавления: 2015-04-24; Просмотров: 5173; Нарушение авторских прав?; Мы поможем в написании вашей работы!


Нам важно ваше мнение! Был ли полезен опубликованный материал? Да | Нет



studopedia.su - Студопедия (2013 - 2025) год. Все материалы представленные на сайте исключительно с целью ознакомления читателями и не преследуют коммерческих целей или нарушение авторских прав! Последнее добавление




Генерация страницы за: 0.013 сек.