Студопедия

КАТЕГОРИИ:


Архитектура-(3434)Астрономия-(809)Биология-(7483)Биотехнологии-(1457)Военное дело-(14632)Высокие технологии-(1363)География-(913)Геология-(1438)Государство-(451)Демография-(1065)Дом-(47672)Журналистика и СМИ-(912)Изобретательство-(14524)Иностранные языки-(4268)Информатика-(17799)Искусство-(1338)История-(13644)Компьютеры-(11121)Косметика-(55)Кулинария-(373)Культура-(8427)Лингвистика-(374)Литература-(1642)Маркетинг-(23702)Математика-(16968)Машиностроение-(1700)Медицина-(12668)Менеджмент-(24684)Механика-(15423)Науковедение-(506)Образование-(11852)Охрана труда-(3308)Педагогика-(5571)Полиграфия-(1312)Политика-(7869)Право-(5454)Приборостроение-(1369)Программирование-(2801)Производство-(97182)Промышленность-(8706)Психология-(18388)Религия-(3217)Связь-(10668)Сельское хозяйство-(299)Социология-(6455)Спорт-(42831)Строительство-(4793)Торговля-(5050)Транспорт-(2929)Туризм-(1568)Физика-(3942)Философия-(17015)Финансы-(26596)Химия-(22929)Экология-(12095)Экономика-(9961)Электроника-(8441)Электротехника-(4623)Энергетика-(12629)Юриспруденция-(1492)Ядерная техника-(1748)

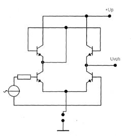
Использование токового зеркала в качестве активной нагрузки




Использование токового зеркала в качестве динамической характеристики ДУ позволяет получить большие коэффициенты усиления и нейтрализует эффект Миллера.

Транзисторы и образуют дифференциальную пару с источником тока в эмиттерной цепи. Транзисторы и , образующие токовое зеркало, выступают в качестве коллекторной нагрузки. Тем самым обеспечивается высокое значение сопротивления коллекторной нагруз­ки, благодаря этому коэффициент усиления по напряжению достигает 5000 и выше при условии, что нагрузка на выходе усилителя отсутст­вует. Такой усилитель используют, как правило, только в схемах, охваченных петлей обратной связи, или в компараторах (их мы рас­смотрим в следующем разделе). Запомните, что нагрузка для такого усилителя обязательно должна иметь большой импеданс, иначе уси­ление будет существенно ослаблено.

Дифференциальные усилители как схемы расщепления фазы.

На коллекторах симметричного дифференциального усилителя возникают сигналы, одинаковые по амплитуде, но с противоположными фазами. Если снимать выходные сигналы с двух коллекторов, то получим схему расщепления фазы. Конечно, можно использовать диф­ференциальный усилитель с дифференциальными входами и выходами. Дифференциальный выходной сигнал можно затем использовать для управления еще одним дифференциальным усилительным каскадом, величина КОСС для всей схемы при этом значительно увеличивается.

Дифференциальные усилители как компараторы. Благо­даря высокому коэффициенту усиления и стабильным характеристикам дифференциальный усилитель является основной составной частью ком­паратора — схемы, которая сравнивает входные сигналы и оценивает, какой из них больше. Компараторы используют в самых различных областях: для включения освещения и отопления, для получения прямоугольных сигналов из треугольных, для сравнения уровня сигнала с пороговым значением, в усилителях класса D и при импульсно-кодовой модуляции, для переключения источников питания и т. д. Основная идея при построении компаратора заключается в том, что транзистор должен включаться или выключаться в зависимости от уровней входных сигналов. Область линейного усиления не рассмат­ривается — работа схемы основывается на том, что один из двух вход­ных транзисторов в любой момент находится в режиме отсечки.

Методы устранения расбаланса (смещения)

1 метод - коллекторный (основной).

2 метод - изменением R1, позволяет закрыть транзисторы, если они открыты.

3 метод - второй вход не используется, на базу подаётся напряжение смещения от источника питания (выгоден, когда один из входов свободен)

При подаче на оба входа одинакового синфазного сигнала напряжение между коллекторами не изменяется.




Поделиться с друзьями:


Дата добавления: 2015-05-06; Просмотров: 474; Нарушение авторских прав?; Мы поможем в написании вашей работы!


Нам важно ваше мнение! Был ли полезен опубликованный материал? Да | Нет



studopedia.su - Студопедия (2013 - 2025) год. Все материалы представленные на сайте исключительно с целью ознакомления читателями и не преследуют коммерческих целей или нарушение авторских прав! Последнее добавление




Генерация страницы за: 0.011 сек.