Студопедия

КАТЕГОРИИ:


Архитектура-(3434)Астрономия-(809)Биология-(7483)Биотехнологии-(1457)Военное дело-(14632)Высокие технологии-(1363)География-(913)Геология-(1438)Государство-(451)Демография-(1065)Дом-(47672)Журналистика и СМИ-(912)Изобретательство-(14524)Иностранные языки-(4268)Информатика-(17799)Искусство-(1338)История-(13644)Компьютеры-(11121)Косметика-(55)Кулинария-(373)Культура-(8427)Лингвистика-(374)Литература-(1642)Маркетинг-(23702)Математика-(16968)Машиностроение-(1700)Медицина-(12668)Менеджмент-(24684)Механика-(15423)Науковедение-(506)Образование-(11852)Охрана труда-(3308)Педагогика-(5571)Полиграфия-(1312)Политика-(7869)Право-(5454)Приборостроение-(1369)Программирование-(2801)Производство-(97182)Промышленность-(8706)Психология-(18388)Религия-(3217)Связь-(10668)Сельское хозяйство-(299)Социология-(6455)Спорт-(42831)Строительство-(4793)Торговля-(5050)Транспорт-(2929)Туризм-(1568)Физика-(3942)Философия-(17015)Финансы-(26596)Химия-(22929)Экология-(12095)Экономика-(9961)Электроника-(8441)Электротехника-(4623)Энергетика-(12629)Юриспруденция-(1492)Ядерная техника-(1748)

Гетеродинные анализаторы спектра




Выше было показано, что выходной сигнал АОСПИ пропорционален квадрату амплитуды входного сигнала, что требует от фотоприемников и устройств последетекторной обработки вдвое большего (в децибелах) динамического диапазона по сравнению с диапазоном изменения амплитуды входного сигнала. Однако именно в фотоприемниках труднее всего обеспечить высокий динамический диапазон. Так лучшие образцы лавинных фотодиодов (ЛФД) обладают динамическим диапазоном, не превосходящим 80 дБ. В то же время АОАС с пространственным интегрированием обладают рядом важнейших преимуществ: параллельный спектральный анализ, полоса анализа, ограничиваемая лишь полосой пропускания АОМ, быстродействие. Именно поэтому актуальной является задача создания АОАС, обладающего вышеперечисленными достоинствами и лишенного недостатка, связанного с тем, что динамический диапазон фотоприемника должен вдвое (в децибелах) превышать динамический диапазон всего спектроанализатора.

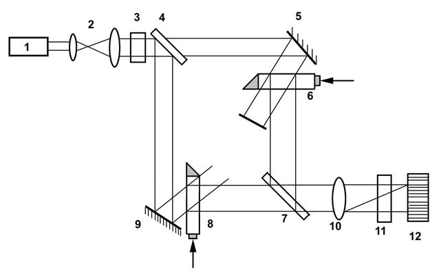
Эта проблема в значительной степени решается гетеродинными АОС. Вместо определения только интенсивности световых сигналов можно измерять их амплитуды и фазы. Базовый метод состоит в том, что для определения амплитуды и фазы неизвестного сигнала производится его гетеродинирование известным сигналом. Это означает, что на фотоприемнике должны взаимодействовать как минимум две световые волны. На рис. 2.11 приведена схема гетеродинного АОС на основе интерферометра Маха-Цандера.

В этой схеме в плоскости фотоприемника происходит интерференция двух световых полей, одно из которых порождено дифрагировавшим на АОМ 8 (в который вводится исследуемый сигнал) световым пучком, а другое сформировано некоторым опорным световым пучком. Анализируемый сигнал вводится в АОМ, вызывая дифракцию освещающей его плоской световой волны. Далее над пространственным распределением поля в выходной плоскости модулятора осуществляется Фурье-преобразование с помощью сферической линзы так же, как и в спектроанализаторах с пространственным интегрированием.

Рис. 2.11 ГАОС на основе интерферометра Маха-Цандера: 1 – ОКГ; 2 – коллиматор; 3, 11 – цилиндрические линзы; 4, 7 – светоделители; 5, 9 – зеркала; 6, 8 – АОМ; 10 – сферическая линза; 12 – волоконно-оптический разветвитель.

Как уже было отмечено выше, в дополнение к сигнальному световому пучку вводится опорный, сформированный таким образом, чтобы в каждой -й точке задней фокальной плоскости Фурье-линзы (плоскости фотоприемника) частота спектральной составляющей опорного поля отличалась бы от частоты соответствующей составляющей сигнального поля на постоянную величину :

,

.

Амплитуда тока на выходе фотоприемника пропорциональна интенсивности результирующего светового поля, то есть квадрату модуля суммы сигнального и опорного полей:

.

Из данного выражения видно, что выходной сигнал в этом случае представляет собой сумму энергий исследуемого и опорного сигналов и колебания разностной частоты, промодулированного по амплитуде произведением амплитудных спектров этих сигналов, а по фазе – разностью их фазовых спектров. Таким образом, в случае использования последней компоненты как выходного сигнала АОАС при применении опорного сигнала с равномерной спектральной плотностью, можно говорить о линейной зависимости между амплитудой анализируемого сигнала и амплитудой выходного тока фотоприемника. Это позволяет повысить динамический диапазон такого спектроанализатора вплоть до величины динамического диапазона фотоприемника, то есть примерно вдвое (в децибелах) по сравнению с традиционной схемой АОАС с пространственным интегрированием. Однако наличие промежуточной частоты заставляет применять параллельную обработку сигналов фотоприемников мгновенного действия. Такая вынужденная многоканальность ведет к значительному усложнению аппаратуры, снижению надежности ее функционирования. Так, например, на практике является трудно реализуемой задача создания линейного массива дискретных фотоприемников мгновенного действия с числом элементов более чем 1000, как при расположении непосредственно в плоскости регистрации световой волны, так и при использовании промежуточного волоконно-оптического разветвителя.

Доступный динамический диапазон гетеродинных АОАС ограничен в основном максимальной выходной мощностью лазера, динамическим диапазоном массива фотодетекторов, дифракционной эффективностью акустооптических ячеек Брэгга и потерями мощности в различных компонентах оптической системы.

В гетеродинном АОАС основными источниками шума являются:

– дробовый шум, вызванный опорной световой волной;

– дробовый шум темнового тока детектора;

– тепловой шум входного сопротивления усилителя.

Регистрация амплитуды и фазы светового распределения позволяет существенно улучшить параметры АОС: увеличить динамический диапазон в гетеродинных анализаторах спектра, улучшить разрешение по частоте и увеличить число элементов разрешения в спектре в АОС с временным интегрированием, а также осуществить кроме измерения частоты регистрацию какого-либо иного параметра сигнала, например разности фаз сигналов в фазометрах-частотомерах, или направления прихода электромагнитной волны в устройствах обработки сигналов антенных решеток.

В литературе описывается АОС интерференционного типа, где в плоскости фотоприемника происходит интерференция двух световых полей, одно из которых порождено дифрагированным на АОМ (в который вводится исследуемый сигнал) световым пучком, а другое сформировано некоторым опорным световым пучком. Выходной сигнал в этом случае представляет собой сумму энергий исследуемого и опорного сигналов и колебания разностной частоты, промодулированного по амплитуде произведением амплитудных спектров этих сигналов, а по фазе — разностью их фазовых спектров. Таким образом, в случае использования последней компоненты как выходного сигнала АОС при применении опорного сигнала с равномерной спектральной плотностью, можно говорить о линейной зависимости между анализируемым сигналом и выходным сигналом фотоприемника. Это позволяет повысить динамический диапазон такого спектроанализатора вплоть до величины динамического диапазона фотоприемника, то есть примерно вдвое (в децибелах) по сравнению с традиционной схемой АОС с пространственным интегрированием.

Недостатком традиционных гетеродинных схем является их сложность: необходимость детектирования и параллельной обработки выходных сигналов фотоприемника в многоканальном усилителе на промежуточной частоте. Это приводит к увеличению объема аппаратуры и уменьшению числа одновременно обрабатываемых частотных каналов, что эквивалентно либо сужению полосы анализа, либо ухудшению разрешения по частоте. Увеличение объема аппаратуры и сложность оптической схемы затрудняют практическое использование таких АОС.

Сохранить достоинства гетеродинных АОС и при этом избавиться от присущих им недостатков можно, объединив в одном устройстве принципы гомодинного детектирования светового сигнала (то есть гетеродинирования на нулевую промежуточную частоту), пространственного и временного интегрирования. Детектирование светового сигнала на нулевой промежуточной частоте позволяет использовать интегрирующие фотоприемники на основе матриц ПЗС с большим числом фоточувствительных элементов и высоким динамическим диапазоном.




Поделиться с друзьями:


Дата добавления: 2015-05-06; Просмотров: 951; Нарушение авторских прав?; Мы поможем в написании вашей работы!


Нам важно ваше мнение! Был ли полезен опубликованный материал? Да | Нет



studopedia.su - Студопедия (2013 - 2026) год. Все материалы представленные на сайте исключительно с целью ознакомления читателями и не преследуют коммерческих целей или нарушение авторских прав! Последнее добавление




Генерация страницы за: 0.013 сек.