Студопедия

КАТЕГОРИИ:


Архитектура-(3434)Астрономия-(809)Биология-(7483)Биотехнологии-(1457)Военное дело-(14632)Высокие технологии-(1363)География-(913)Геология-(1438)Государство-(451)Демография-(1065)Дом-(47672)Журналистика и СМИ-(912)Изобретательство-(14524)Иностранные языки-(4268)Информатика-(17799)Искусство-(1338)История-(13644)Компьютеры-(11121)Косметика-(55)Кулинария-(373)Культура-(8427)Лингвистика-(374)Литература-(1642)Маркетинг-(23702)Математика-(16968)Машиностроение-(1700)Медицина-(12668)Менеджмент-(24684)Механика-(15423)Науковедение-(506)Образование-(11852)Охрана труда-(3308)Педагогика-(5571)Полиграфия-(1312)Политика-(7869)Право-(5454)Приборостроение-(1369)Программирование-(2801)Производство-(97182)Промышленность-(8706)Психология-(18388)Религия-(3217)Связь-(10668)Сельское хозяйство-(299)Социология-(6455)Спорт-(42831)Строительство-(4793)Торговля-(5050)Транспорт-(2929)Туризм-(1568)Физика-(3942)Философия-(17015)Финансы-(26596)Химия-(22929)Экология-(12095)Экономика-(9961)Электроника-(8441)Электротехника-(4623)Энергетика-(12629)Юриспруденция-(1492)Ядерная техника-(1748)

Детали монтажных схем




Монтажные схемы и маркировка

Монтажные схемы, маркировка, детали - ­­­Электрическая часть электростанций

Монтажные схемы являются заключительным этапом проектных работ по вторичным соединениям и служат рабочими чертежами при монтаже. В них для каждого ответвления или его участка показываются все аппараты, приборы, реле так, как они в действительности будут установлены на щитах, пультах, в распределительных устройствах, в соответствии с реальными электрическими связями между ними, осуществляемыми с помощью соединительных проводов и кабелей.
Для удобства монтажа, эксплуатационного обслуживания и необходимых проверок электрические связи в пределах одного участка заканчиваются сборкой зажимов, к которым с одной стороны подсоединяются концы проводки от установленных на данном участке аппаратов и приборов, а с другой — линии связи, соединяющие с помощью кабелей отдельные участки между собой. Эти кабели, называемые контрольными, обычно выполняются многожильными, часто с жилами различных сечений. Согласно ПУЭ в одном контрольном кабеле допускается объединение цепей управления, измерения, защиты и сигнализации постоянного и переменного тока; кабели, подходящие к выводам измерительных трансформаторов или к отдельным аппаратам, допускается присоединять к ним непосредственно, без сборки зажимов. Соединения аппаратов между собой в пределах одной панели тоже должны выполняться, как правило, непосредственно, без подключения соединяющих проводов к промежуточным зажимам.
Следует отметить, что в настоящее время в связи с широкой индустриализацией монтажных работ в подавляющем большинстве случаев щиты и пульты управления, релейные и блочные щиты изготавливаются заводским путем комплектно со всеми установленными на них приборами, проводкой и сборками зажимов; поэтому проектной организации необходима лишь выдача заводом чертежа-задания на выполнение монтажной схемы.
При сдаче монтажа в эксплуатацию предъявляются так называемые исполнительные монтажные схемы, где отражаются все те дополнения и изменения, которые были внесены в процессе монтажа в основную проектную документацию.

Провода и контрольные кабели вторичных соединений. Сборки зажимов

Провода, идущие от зажимов аппаратов, приборов и реле, заканчиваются в пределах данного элемента или участка сборками зажимов, которые облегчают не только монтаж, но и эксплуатацию установки, позволяя легко проверять электрические схемы вторичных соединений, а если необходимо, изменять их или исправлять.

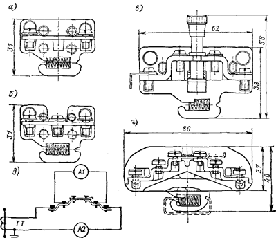
Рис, 8-38. Виды зажимов: а — проходные; б — ответвительные; в, г — испытательные; д — схема контрольных измерений
At — испытуемый амперметр; А2 — контрольный амперметр
Рис. 8-39. Сборка костиковых зажимов

13, 15, 17 — номера зажимов; 2С, КУ — марки кабелей
Основные требования к зажимам следующие: а) конструкция зажима должна обеспечивать удобное его крепление, позволяющее снимать каждый зажим, не нарушая расположения остальных зажимов; б) способ присоединения проводов к зажимам должен обеспечивать надежный контакт, особенно при кабелях с алюминиевыми жилами; в) зажим должен иметь изолирующую перегородку, особенно когда имеется опасность случайного прикосновения к токоведущим частям соседних цепей. Существует большое число конструкций зажимов, выполняемых с изолирующим основанием из керамики или негорючей пластмассы. Различают: 1) проходные зажимы, предназначенные для подсоединения проводов внутренней и внешней связи участков (например, панель, щит, распределительное устройство — рис. 8-38, а); 2) ответвительные для присоединения ответвлении (рис. 8-38, б); 3) испытательные зажимы, используемые и как проходные, и как испытательные для присоединения контрольных приборов и аппаратов (рис. 8-38, в); 4) мостиковые зажимы (рис. 8-39).




Поделиться с друзьями:


Дата добавления: 2015-05-08; Просмотров: 604; Нарушение авторских прав?; Мы поможем в написании вашей работы!


Нам важно ваше мнение! Был ли полезен опубликованный материал? Да | Нет



studopedia.su - Студопедия (2013 - 2026) год. Все материалы представленные на сайте исключительно с целью ознакомления читателями и не преследуют коммерческих целей или нарушение авторских прав! Последнее добавление




Генерация страницы за: 0.008 сек.