Студопедия

КАТЕГОРИИ:


Архитектура-(3434)Астрономия-(809)Биология-(7483)Биотехнологии-(1457)Военное дело-(14632)Высокие технологии-(1363)География-(913)Геология-(1438)Государство-(451)Демография-(1065)Дом-(47672)Журналистика и СМИ-(912)Изобретательство-(14524)Иностранные языки-(4268)Информатика-(17799)Искусство-(1338)История-(13644)Компьютеры-(11121)Косметика-(55)Кулинария-(373)Культура-(8427)Лингвистика-(374)Литература-(1642)Маркетинг-(23702)Математика-(16968)Машиностроение-(1700)Медицина-(12668)Менеджмент-(24684)Механика-(15423)Науковедение-(506)Образование-(11852)Охрана труда-(3308)Педагогика-(5571)Полиграфия-(1312)Политика-(7869)Право-(5454)Приборостроение-(1369)Программирование-(2801)Производство-(97182)Промышленность-(8706)Психология-(18388)Религия-(3217)Связь-(10668)Сельское хозяйство-(299)Социология-(6455)Спорт-(42831)Строительство-(4793)Торговля-(5050)Транспорт-(2929)Туризм-(1568)Физика-(3942)Философия-(17015)Финансы-(26596)Химия-(22929)Экология-(12095)Экономика-(9961)Электроника-(8441)Электротехника-(4623)Энергетика-(12629)Юриспруденция-(1492)Ядерная техника-(1748)

Примеры комплектных распределительных устройств




Из отечественных конструкций комплектных распределительных устройств (КРУ) наиболее распространенными в нашей стране и характерными являются КРУ 3—10 кВ завода «Электрощит» (г. Куйбышев) с одной системой сборных шин и выключателей ВМГ-133 на 600 А (рис. 10-40).
Металлическая конструкция шкафа из профильной стали состоит из двух основных частей: стационарной Г-образной части и откатной каретки. В стационарной части сверху располагаются сборные шины, под ними контактная часть втычных шинных и линейных разъединителей, за ними (по схеме) на двух фазах предусмотрены измерительные трансформаторы тока, а рядом с ними— место для отхода кабеля с трансформаторе тока нулевой последовательности. Рядом со сборными шинами находится отсек приборов вторичных устройств, в откатной каретке — выключатель с приводом.

Имеется блокировка безопасности, позволяющая откатить каретку (и вкатить на место) только при отключенном выключателе; следовательно, отключение и включение контактов разъединителей будет происходить при разомкнутой цепи, т. е. без тока. Каретка сменная, осмотр и ремонт выключателя производятся вне КРУ.
В зависимости от числа присоединений, предусмотренных электрической схемой, подбираются нужные шкафы, из которых собирается все РУ. Ширина каждого шкафа 1 м.
КРУ устанавливается в помещениях зального типа, имеющих подвал для разводки кабелей. Если подвала кет, то в полу помещения предусматриваются необходимые кабельные желоба и каналы.
Для наружной установки (КРУН) изготовляются шкафы, защищенные от попадания внутрь осадков и пыли и снабженные проходными втулками наружной установки. В виде примера приводится КРУН 10 кВ серии K-V1 завода «Электрощит», с выключателем типа МГГ-10 на 2 кА (рис. 10-41). Ячейка выполнена с воздушным вводом, размеры ее в плане 1,5x1,7 м, высота шкафа 3,5 м.
На рис. 10-42 представлена комплектная трансформаторная подстанция наружной установки (КТГ1Н) с трансформатором 100 кВ-А. КТПН транспортабельна, подключается к воздушной линии 6 или 10 кВ. Внутри шкафа на стороне ВН смонтированы разъединитель и трубчатый предохранитель. На стороне НН предусмотрены рубильники, предохранители и измерительные трансформаторы тока со счетчиками учета энергии. Выводы НН тоже воздушные.

Силовой трансформатор устанавливается снаружи шкафа, на выводы трансформатора надет металлический кожух для механической защиты выводов от внешней среды, а также для безопасности эксплуатации. Соединенные вместе металлический шкаф, бак трансформатора и камера выводов подключаются к общему контуру защитного заземления.
На напряжении 110 кВ широко применяются комплектные трансформаторные подстанции типа КТПБ Куйбышевского завода «Электрощит». Со стороны низшего напряжения трансформаторов подстанция КТПБ-110 комплектуется КРУН 6 (10) кВ.

Преимуществами КТПБ перед подстанциями «рассыпного» типа являются большая компактность, меньшая площадь земельного участка для размещения ПС, быстрота ввода в эксплуатацию.
Создаются в нашей стране и конструкции герметизированных комплектных РУ с элегазовой изоляцией (КРУЗ), Эти РУ комплектуются из стандартных элементов. Герметизация металлической заземленной оболочки и работа по замкнутому циклу обеспечивают безопасность и отсутствие выбросов горячих газов и пламени в атмосферу, а также заметного шума при отключениях.
Эти РУ безопасны и для окружающей среды (экранирование электрических и магнитных полей), имеют полную комплектность поставки с одного предприятия для РУ любого типа, сжатые сроки монтажа и увеличенные межремонтные сроки.

На рис. 10-43 показана конструкция выпускаемой в нашей стране ячейки элегазовой трехполюсной, серии ЯЭ-110, на 110 кВ, в трехфазном исполнении, а на рис. 10-44 — ячейки ЯЭ-220, на 220 кВ, в однофазном исполнении. Эти ячейки предназначены в основном для закрытых подстанций глубокого ввода на территорию предприятий и жилых массивов. В них входят все элементы схемы электрических соединений: выключатели, разъединители, заземлители, трансформаторы напряжения и тока с аппаратурой управления, контроля, сигнализации, измерений и блокировки, что позволяет собрать любую схему подстанции. Изоляция — элегаз и литые из специальных смол изоляторы,
Рис. 10-40. КРУ завода «Электрощит» для напряжения 3—10 кВ с одной системой шин 1 — тележка с выключателем; 2 — механизм блокировки; 3 — отсек выключателя с: тележкой; 4 — отсек приборов; 5 — короб оперативных цепей; 6 — отсек сборных шин; 7 — съемный лист сборных шин; 8 — шинные разъединяющие контакты первичной цепи; 9 — отсек трансформаторов тока и кабель; 10 — линейные разъединяющие контакты первичной цепи

Рис. 10-41. КРУН завода «Электрощит» для напряжения 10 кВ с одной системой шин. Шкаф ячейки ввода на 2 кА с выключателем типа МГГ-10
служащие для фиксации токоведущих частей в герметическом корпусе.
РУ может быть размещено в относительно малогабаритном помещении. Ячейки транспортабельны. Смонтированные на платформах, они могут применяться в качестве передвижных РУ и использоваться при строительстве мощных станций. Это существенно сократит сроки сооружения РУ и количество монтажного персонала.
Помещения РУ с элегазовый оборудованием оснащаются вентиляцией, которая должна работать ежедневно не менее 1—2 ч, а при техосмотрах и ремонтах — беспрерывно.
Резюмируем преимущества ПС с КРУЭ по сравнению с ПС на обычном оборудовании:
сильно уменьшаются площади земельных участков под ПС (з 3—8 раз); уменьшение тем сильнее, чем выше класс напряжения;


Рис. 10-42. Комплектная трансформаторная подстанция наружной установки типа КТПН 6—10/0,4 кВ с трансформатором 100 кВ-А

1 — шкаф распределительный; 2 — заземлители; 3 — выключатель; 4 — трансформатор тока; 5 — разъединитель; 6 — 1 фаза сборных шин; 7 — вводы фазы кабеля

Рис. 10-44. Ячейки элегазовые трехполюсные ЯЭ-220 с одной системой сборных шин

Рис. 10-43. Ячейка элегазовая трехполюсная ЯЭ-110 с двумя системами сборных шин
1 — шкафы распределительный и полюсный; 2 — заземлители; 3 — кабельная приставка; 4 — системы трехфазных сборных шин; 5 — вводы кабельные; 6 — разъединители; 7 — трансформаторы гока; 8 — выключатель; 9 — крышка крайней ячейки; 10 — привод выключателя; 11 — опора

Рис. 10-45. КРУЭ 110 кВ облегченного типа с двумя системами сборных шин и с вертикальным расположением выключателей

сокращаются объемы строительно-монтажных работ и сроки строительства; сокращение также тем больше, чем выше класс напряжения ПС;
значительно снижается шум от РУ, что дает возможность размещать ПС непосредственно в центре нагрузок, т. е. в центре жилых застроек;
КРУЭ обладают высокой надежностью в эксплуатации и значительно большими межремонтными сроками;
на ПС с КРУЗ исключено биологическое воздействие на человека в электрическом поле, что особенно важно для ПС высокого и сверхвысокого напряжения;
значительно сокращается расход металла на строительные конструкции; он тем меньше, чем выше класс напряжения ПС.
Приводим сравнение ЗРУ и КРУЭ одинаковых параметров (220/110/10 кВ, 400 MB-А), т. е. обычной ПС и ПС с элегазовый оборудованием, расположенных в закрытых помещениях:

  ЗРУ КРУЭ
Объем строительно-монтажных работ, млн. руб. 3,8 2.3
Масса металлоконструкций, т    
Площадка, га 0,95 0,4

Компоновка КРУЭ 110 кВ облегченного типа показана на рис. 10-45. Конструкция предусмотрена для двойной системы сборных шин. Подача напряжения на системы шин производится сверху сквозь кровлю здания, ответвления присоединений выполняются сквозь левую боковую стену. Возле каждой ячейки монтируются щиты управления и защиты. Конструкция простая, надежная, удобная и безопасная для эксплуатации.


Рис, 10-46. КРУЭ 245 кВ с двумя системами сборных шин и с вертикальным расположением выключателей: а — поясняющая схема; б конструкция 1 - кабельная муфта; 2 — разъединитель; 3 — заземлитель; 4 выключатель

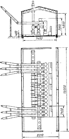
Рис. 10-47. КРУЭ 220 кВ для полуторной схемы электрических соединений подземной ГЭС
Несколько иной вариант компоновки показан на рис. 10-46. Здесь выполнена конструкция тоже для двойной системы сборных шин, но с обособленными (разделенными) фазами. Системы двух шин каждой фазы отнесены от систем других фаз.
Все РУ выполняется в виде трех одинаковых конструкций для фаз А, В и С, каждая с двумя системами шин своей фазы. В средней части каждой конструкции расположены тубы однофазных выключателей, рядом — ножи заземлителей. Отвод коммутации от конструкции осуществляется однофазными кабелями.


Рис. 10-48. КРУЭ 220 кВ. План к рис. 10-47
На рис. 10-47 показан поперечный разрез, а на рис. 10-48 — план герметизированного элегазового комплектного распределительного устройства на напряжение 220 кВ, выполненного для полуторной схемы электрических соединений подземной ГЭС. Силовые повышающие трансформаторы с масло-водяной системой охлаждения установлены в первом этаже здания. Со стороны НН они соединяются с генераторами комплектными экранированными токопроводами.
Во втором этаже располагается конструкция РУ, слева и справа — системы сборных шин, между ними три ряда выключателей. Соединение РУ с трансформаторами и отходы линий передачи осуществляются трехфазным кабелем. На кровле здания установлены разрядники.




Поделиться с друзьями:


Дата добавления: 2015-05-08; Просмотров: 2343; Нарушение авторских прав?; Мы поможем в написании вашей работы!


Нам важно ваше мнение! Был ли полезен опубликованный материал? Да | Нет



studopedia.su - Студопедия (2013 - 2025) год. Все материалы представленные на сайте исключительно с целью ознакомления читателями и не преследуют коммерческих целей или нарушение авторских прав! Последнее добавление




Генерация страницы за: 0.012 сек.