Студопедия

КАТЕГОРИИ:


Архитектура-(3434)Астрономия-(809)Биология-(7483)Биотехнологии-(1457)Военное дело-(14632)Высокие технологии-(1363)География-(913)Геология-(1438)Государство-(451)Демография-(1065)Дом-(47672)Журналистика и СМИ-(912)Изобретательство-(14524)Иностранные языки-(4268)Информатика-(17799)Искусство-(1338)История-(13644)Компьютеры-(11121)Косметика-(55)Кулинария-(373)Культура-(8427)Лингвистика-(374)Литература-(1642)Маркетинг-(23702)Математика-(16968)Машиностроение-(1700)Медицина-(12668)Менеджмент-(24684)Механика-(15423)Науковедение-(506)Образование-(11852)Охрана труда-(3308)Педагогика-(5571)Полиграфия-(1312)Политика-(7869)Право-(5454)Приборостроение-(1369)Программирование-(2801)Производство-(97182)Промышленность-(8706)Психология-(18388)Религия-(3217)Связь-(10668)Сельское хозяйство-(299)Социология-(6455)Спорт-(42831)Строительство-(4793)Торговля-(5050)Транспорт-(2929)Туризм-(1568)Физика-(3942)Философия-(17015)Финансы-(26596)Химия-(22929)Экология-(12095)Экономика-(9961)Электроника-(8441)Электротехника-(4623)Энергетика-(12629)Юриспруденция-(1492)Ядерная техника-(1748)

Схемы одностороннего питания группы тяговых подстанций от линии передачи




 

Как уже указывалось в п. 1.2, наиболее распространенной схемой электроснабжения электрифицированных железных дорог в Советском Союзе является схема питания от линии передачи 110-220 кВ, идущей вдоль линии железной дороги.

Для уменьшения несимметрии нагрузки у источника питания (ИП) в линии передачи и несимметрии напряжения одни и те же зажимы трансформаторов тяговых подстанций или точнее их наиболее нагруженные фазы поочередно присоединяют то к одним, то к другим фазам линии передачи. Порядок такого присоединения зависит от схемы соединения обмоток трансформаторов на тяговых подстанциях и от того, питается линия передачи с одной или о двух сторон. В большой мере такое чередование в схемах присоединения зависит от длины рассматриваемого участка железной дороги, расположения относительно источников питания, числа и реального расположения тяговых подстанций. Условия для различных участков при этом так отличаются, что делать какие-либо обобщения становится затруднительным. Поэтому, чтобы разобрать условия наилучшего решения поставленной задачи, рассмотрим идеализированную схему, на которой можно расположить любое число подстанций.

 

 

Рисунок 3.9. К определению нагрузки трехфазной системы при трехфазно-двухфазном трансформаторе (схема Скотта)

 

Наиболее простой получается схема питания тяговой сети через однофазные трансформаторы (рисунок 3.10, а).Для уменьшения неравномерности нагрузки трехфазной системы подстанции поочередно подключают к различным фазам. На рисунке 3.10, а внизу показано напряжение линий передачи. Это напряжение по фазе совпадает с напряжением фидерной зоны. Векторные диаграммы схемы даны на рисунке 3.10, б. При такой схеме питания тяговые подстанции не должны соединяться через контактную сеть: это привело бы к короткому замыканию. Следовательно, каждая фидерная зона контактной сети может получать питание только с одной стороны. Примерно в середине участка между подстанциями в этом случае устраивают нейтральную вставку.

 

 

 

Рисунок 3.10. Первый вариант схемы питания участка однофазного тока через однофазные трансформаторы от линии передачи, питаемой с одной стороны

 

Если бы нагрузки всех подстанций были постоянны по времени и равны и имели бы одинаковые углы сдвига фаз между током и напряжением, то каждые три рядом расположенные подстанции, подключенные к фазам АВ, ВС и СА, образовали бы треугольник с равномерной нагрузкой фаз и, следовательно, давали бы равномерную нагрузку трехфазной системы. Исходя из этих соображений стремятся по возможности осуществить питание железной дороги от тяговых подстанций с числом, кратным трем. Если пренебречь сопротивлением проводов линии передачи, то можно условно рассматривать все трансформаторы трех подстанций как один групповой трехфазный трансформатор, соединенный в ту или иную схему. Поскольку каждая из первичных обмоток трех однофазных трансформаторов присоединяется поочередно к различным фазам линии передачи (АВ, ВС и СА), то три первичные обмотки образуют треугольник (рисунок 1.20, б). Что касается вторичных обмоток трех однофазных трансформаторов, то их всегда одним концом соединяют с рельсами, т. е. они всегда соединены в звезду (правильную или неправильную) с нулевым проводом (рельсы). На рисунке 3.10 угол сдвига между напряжениями смежных фидерных зон получился равным 120°. Напряжение между контактными проводами смежных зон в √3 раз больше напряжения в тяговой сети.

Меняя (на противоположную) полярность в тяговой сети через одну подстанцию (переменной концов одной из обмоток), можно получить везде между напряжениями смежных зон угол 60° и разность напряжений между смежными зонами, равную напряжению в тяговой сети (рисунок 3.11). Здесь в тяговой сети чередуется шесть различных векторов напряжений. Каждые три подстанции загружают линию передачи равномерно (при тех же условиях, что и на рисунке 3.10).

 

 

Рисунок 3.11. Второй вариант схемы питания участка однофазного тока через однофазные трансформаторы от линии передачи, питаемой с одной стороны (обозначения позиций те же, что на рисунке 3.10)

 

 

 

Рисунок 3.12. Схема питания участка однофазного тока через трансформаторы, соединенные в открытый треугольник, от линии передачи, питаемой с одной стороны:

а – схема присоединения трансформаторов; б – векторная диаграмма (обозначение позиций те же, что на рисунке 3.11)

 

Если в схеме рисунка 3.11, а каждый трансформатор заменить двумя одинаковыми трансформаторами и раздвинуть их к концам фидерных зон, то получим схему (рисунок 3.12, а) с двусторонним питанием тяговой сети. Теперь на подстанциях П1, П2, ПЗ расположено по два (обозначены соответственно индексами 1 и 2)однофазных трансформатора, первичные и вторичные обмотки которых соединены в схему открытого треугольника.

Условия работы схемы не изменятся, если эти два трансформатора будут заменены одним трехстержневым а двумя обмотками, соединенными в открытый треугольник. Как и в предыдущей схеме, напряжения в фидерных зонах будут совпадать по фазе о линейными (а не фазными) напряжениями линии передачи (рисунок 3.12, б). Обратим внимание на некоторые особенности, которые надо учитывать при составлении схемы рисунка 3.12, а.

Составив из двух трансформаторов схему открытого треугольника (начнем, например, с подстанции П2), можно присоединить три зажима первичной обмотки к любым фазам линии передачи (см. рисунок 3.12, а). На вторичной стороне общую точку х1а2 придется присоединить к рельсам, а зажимы а1 и х2 в любой комбинации – к контактным проводам смежных зон (см. рисунок 3.12, а). Приняв ту или иную схему присоединения обмоток трансформатора подстанции П2, произвольно выбрать схему присоединения обмоток подстанций ПЗ и П1 нельзя, если хотим обеспечить параллельную работу по тяговой сети. Кроме того, чтобы равномерно нагрузить линию передачи, будем общий вывод поочередно подключать к различным фазам линии: на подстанции П2 к фазе В, на подстанции ПЗ к фазе С и т. д. Итак, для обеспечения параллельной работы по тяговой сети левый (на схеме рисунка 3.12, а)трансформатор подстанции ПЗ включаем точно так же, как правый подстанции П2, причем точка Х2, присоединенная к фазе С линии, должна быть общей в схеме открытого треугольника (условились поочередно менять наиболее загруженную фазу). Тогда оставшийся третий вывод остается лишь присоединить к фазе А. Таким же образом следует переходить к каждой подстанции. В результате и будет получена схема, изображенная на рисунке 3.12, а. Под фидерными зонами показано напряжение линии передачи, с которым совпадает по фазе напряжение в контактной сети. Везде, где к контактному проводу присоединен зажим а, имеем положительный знак, где х – отрицательный (см. векторную диаграмму рисунка 1.13, б).

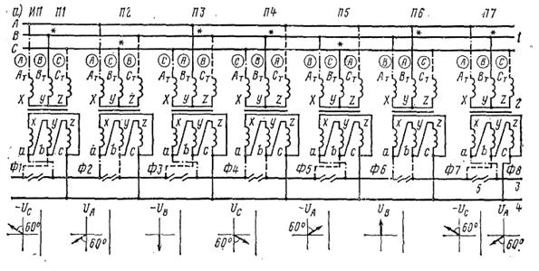
Схема питания участка при использовании трехфазных трансформаторов Y/∆ получается более сложной. Рассмотрим способ построения такой схемы питания (рисунок 3.13). Пусть на линии имеется ряд подстанций под номерами П1, П2, ПЗ питаемых от одной и той же продольной трехфазной линии передачи. Схему соединения обмоток на подстанции П1 возьмем такой же, как на рисунке 1.12, а. Однако в отличие от схемы рисунка 1.12, a соединим точку b с левой фидерной зоной, а точку а – с правой. При этом наиболее загруженными окажутся фазы первичной обмотки трансформатора и линии передачи, обозначенные буквами А и С. наименее загруженной является фаза на вторичной стороне, которую непосредственно не присоединяют к рельсам, т. е. наименее загруженной оказывается в данном случае фаза by и соответственно В. Если сохранить группу соединения трансформатора и схему его присоединения к линии передачи и для остальных подстанций, то на этих подстанциях окажутся наиболее и наименее загруженными те же самые фазы, что и на первой подстанции. Для уменьшения несимметрии нагрузки схему присоединения меняют так, чтобы поочередно загружать все фазы линии передачи.

 

 

Рисунок 3.13. Принцип построения схемы питания участка однофазного тока через трансформаторы со схемой соединения, Y/∆

(обозначения позиций те же, что на рисунке 3.12)

 

После принятия схемы соединения на первой подстанции произвольно выбрать схему присоединения смежных (справа и слева) подстанций нельзя, так как при параллельной работе каждая фидерная, зона контактной сети слева и справа должна питаться от одних и тех же фаз энергосистемы. На схеме рисунка 3.13 фидерная зона Ф1 имеет напряжение (– UC), а зона Ф2 напряжение UA. Пусть рассмотренная подстанция П1 является первой (крайней левой на рис. 3.18) подстанцией, а все остальные (П2, П3 и т. д.) расположены правее П1. Во вторичной обмотке подстанции П1 соединяются: а с у; b с z; в с х. Получается группа соединения трансформатора Y/∆ – 11.

Посмотрим, какой должна быть схема соединения трансформатора на П1, на этой подстанции наименее загруженной была фаза В. Для равномерной загрузки фаз трехфазной системы на подстанции П2 следует наименее загруженной иметь уже другую фазу, например С или А. Поставим условие, чтобы на П2 наименее загруженной оказалась следующая фаза С. Следовательно, во-первых, зоны Ф1 и Ф2 для обеспечения параллельной работы П1 и П2 должны питаться от того же напряжения Uaх, т.е. точка х должна быть присоединена к рельсам, а ввод а – к контактному проводу. Во-вторых, чтобы получить наименьшую нагрузку на фазе С, соответствующая ей фаза cz не должна непосредственно присоединяться к рельсам. В результате во вторичной обмотке х можно соединить только с b. Следовательно, х соединяется с b. Но так как соединяем вторичные обмотки в треугольник, то остается единственная возможность у соединить c c, z c а, в результате получим группу соединения трансформатора Y/∆ – 1. Приняв эти условия, тем самым определили схему присоединения зоны ФЗ. Действительно, так как к рельсам присоединен ввод b,то питание зоны Ф3 может быть теперь осуществлено только присоединением ввода c или ввода у к контактному проводу зоны Ф3 (см. рисунок 1.23). Соответственно трансформатор подстанции П3 получит группу соединения Y/∆ – 11. По условиям проектирования, строительства и эксплуатации удобнее иметь трансформаторы одной группы соединения, тем более, что в СССР стандартом на трансформаторы предусмотрена группа соединения Y/∆ – 11. Поэтому при разработке схемы питания с применением трансформаторов Y/∆ была поставлена задача – использовать только группу соединения Y/∆ – 11, Группа соединения Y/∆ – 11 отличается от группы соединения Y/∆ – 1 схемой соединения концов вторичной обмотки. Соединение это выполняется при изготовлении трансформатора и в условиях эксплуатации изменено быть не может. Таким образом, на подстанции, где по схеме получаются трансформаторы с группой соединения Y/∆ – 1, необходимо эти трансформаторы заменить на трансформаторы с группой Y/∆ – 11, причем так, чтобы векторы напряжения, подводимого к тяговой сети, остались бы без изменения (так как иначе станет невозможной параллельная работа по тяговой сети с фидерами остальных, нечетных подстанций). Векторные диаграммы групп соединения 11 и 1 (см. рисунках 1.12, в и 1.14, в)отличаются тем, что в первой низшее линейное напряжение (вторичное) опережает высшее (первичное) на 30°, тогда как во второй низшее напряжение отстает от высшего (при обычном направлении вращения векторов, т. е. против часовой стрелки). Отсюда ясно, что если изменить направление вращения векторов, то упомянутые векторные диаграммы поменяются местами.

Таким образом, если изменить направление вращения векторов трехфазной системы, от которой питается трансформатор группы 11, то получим то же расположение векторов первичной и вторичной сторон, как при группе 1 и нормальном вращении векторов. Этого можно достигнуть, изменив схему присоединения первичных обмоток трансформаторов четных подстанций к фазам линии передачи. Следовательно, если необходимо сохранить на подстанции П2 вторичное напряжение Uax = UA неизменным, а группу соединения изменить с Y/∆ – 1 на Y/∆ – 11, надо зажимы трансформатора С и B подстанции П2 присоединить соответственно к фазам линии передачи В и С (а не к фазам С и В), т. е. поменять их местами.

Кроме того, по конструктивным соображениям желательно, чтобы на всех подстанциях к рельсам присоединялся один и тот же вывод вторичной обмотки (например, с). В этом случае конструктивные решения распределительного устройства для различных подстанций получаются однотипными.

 

 

Рисунок 3.14. Схема питания участка однофазного тока через трехфазные трансформаторы Y/∆ – 11 от линии передачи, питаемой с одной стороны:

а – схема присоединения трансформаторов; б – векторная диаграмма (обозначения позиций те же, что на рис. 3.12)

Для большей ясности проследим (рисунок 3.14), как составляется такая схема с учетом всех изложенных соображений. До сих пор соединяли фазы линии передачи с одноименными фазами трансформаторов. В связи с изложенными соображениями придется менять схему присоединения. Для удобства дальнейшего изложения снабдим обозначения начал первичных обмоток трансформаторов индексами т, т.е. вместо А, В и С будем писать A т, В т и С т сохранив для линии передачи обозначения А, В и С. Подготовим на схеме линию передачи с фазами A, В и С, обозначенными с левого конца, откуда предполагается ее питание. Затем изобразим семь подстанций c совершенно однотипными трансформаторами с группой соединения Y/∆ – 11 (риcунок 3.14, а). Ниже покажем контактную сеть, секционированную (нейтральными вставками) у каждой подстанции, и рельсы. На всех обмотках трансформатора покажем маркировку концов, снабдив их на первичной стороне, как было указано, индексом т.

Схему соединения подстанции П1 можно выбрать произвольно. Пусть она будет такой, как это было показано на рисунке 3.23. Условимся, что на всех подстанциях у трансформаторов будет присоединен к рельсу вывод с вторичной обмотки. Теперь смежные фидерные зоны на всех подстанциях слева и справа могут питаться только от фаз трансформатора аc и bc. Для подстанции П1 принимаем, что левый фидер присоединен к вводу b (питание от фазы bc), а правый – к вводу а (питание от фазы ас).

Слабозагруженной фазой вторичной обмотки всех подстанций будет ab и соответственно на первичной стороне фаза Вт.

Для получения более симметричной нагрузки будем поочередно (по кругу) недогруженную фазу трансформатора подстанции В присоединять к различным фазам линии передачи.

На подстанции П1 менее загруженной оказалась фаза В. Соответственно на следующих подстанциях примем С, А, В, С (ит.д.), как это отмечено звездочками на рисунке 3.14, а. Следовательно, ввод трансформатора Вт должен присоединяться уже не к одноименным фазам, а к фазам, отмеченным звездочкой (см. рисунок 3.14, а). В кружочках около фазы первичной обмотки показана фактическая фаза системы.

Все остальные фидерные зоны также будут получать питание от вводов а и b, но произвольно выбрать фазу для питания каждой фидерной зоны, как и при составлении схемы рисунке 3.12, а,нельзя, после того как выбрана схема питания от первой подстанции. Действительно, зона Ф2 слева питается от вводов а и с (фаза ах), следовательно, от этих же точек она должна питаться и справа (на рисунке 3.14, а показано штрих - пунктирной линией). Это же определяет и схему присоединения зажима A тк фазе линии передачи А,иначе Uac первого и второго трансформатора не совпадут по фазе (на рисунке 1.24, а тоже показано штрих - пунктирной линией). Остающийся свободным зажим трансформатора С т, должен быть соединен с фазой В. В кружочках около А т и С т показаны обозначения фаз энергосистемы. Сопоставляя схему подстанций П1 и П2, видим что у П2 изменена последовательность фаз. Если на подстанции П1 имеем на первичной обмотке обычную последовательность фаз ABC (векторов напряжений), то на П2 имеем обратную АСВ. Именно поэтому трансформатор группы Y/∆ – 11 дает такое же расположение векторов первичных и вторичных напряжений, как и трансформатор группы Y/∆ – 1 при соединении вводов трансформа­тора с одноименными фазами линии электропередачи.

Далее построение схемы развивается тем же путем. Питание зоны Ф3 от подстанции П2 возможно только от ввода b. От подстанции П3 этой зоны также должно осуществляться от ввода b и т. д. Следовательно, все нечетные зоны будут получать питание от вводов b (штриховые линии) и все четные – от ввода а (штрихпунктирные линии). Напряжение между контактным проводом и рельсами на четных зонах будет положительным, а на нечетных – отрицательным, т.е. совпадающим по фазе с напряжением одной из фаз линии электропередачи или ему противоположным.

Остается определить схему присоединения свободных концов первичной звезды трансформатора к фазам линий электропередачи. Так как фидерная зона слева питается от фазы ,то и справа в первичной звезде луч Ст на подстанции П3 должен также присоединяться к фазе В. Следовательно, A тбудет присоединяться к фазе С. Проще можно поступить так: раз все выводы В туже присоединены к линии электропередачи и затем все нечетные подстанции будут иметь прямую последовательность фаз (АВС) на выводах первичной стороны, а четные – обратную последовательность фаз (АСВ),то нетрудно, если идти от В т, наметить и остальные фазы (на рисунке 1.15, а показаны кружочками). Внизу рисунка 3.14 показаны фазы, с которыми совпадают напряжения в тяговой сети и соответствующие положения векторов.

Все соображения, изложенные выше, о влиянии расположения подстанций и числа их на равномерность нагрузки применительно к схеме с однофазными подстанциями полностью сохраняются и для подстанций с открытым или полным треугольником на вторичной стороне, т е. желательно число подстанций иметь кратным трем, а среднюю нагрузку – одинаковой у различных подстанций.

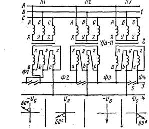
При применении трехфазно-двухфазных трансформаторов, соединенных по схеме Скотта, схема питания тяговых подстанций от трехфазной линии передачи получает вид, как на рисунке 3.15. Обычно при использовании этих трансформаторов зона слева от подстанции получает питание от вторичной обмотки одного трансформатора, а зона справа – от вторичной обмотки другого (см. рисунок 3.15). При этом все нечетные фидерные зоны получают питание от базисных трансформато­ров, а все четные – от высотных. Таким образом, напряжения всех четных фидерных зон совпадают по фазе между собой, но сдвинуты относительно первых на 900

 

 

Рисунок 3.15. Схема питания участка однофазного тока через трехфазно-двухфазные трансформаторы (схема Скотта)

(обозначения позиций те же, что на рис. 3.11)

 

Из изложенного ясно, что при равных нагрузках фидерных зон слева и справа от подстанций создается равномерная нагрузка фаз трехфазной системы.

Ни в одной из приведенных выше схем питания участков (см. рис. 3.15-3.20) не выделялся вопрос о питании двухпутных участков, поскольку схемы их присоединения к тяговым подстанциям были описаны ранее. Схемы же соединения трансформаторов на подстанции и на участке в целом не зависят от числа путей. Фидера различных путей одинакового напряжения объединяют названием – плечо питания подстанции.

В Японии на одной линии схема Скотта была использована несколько иначе. На двухпутном участке тяговая сеть пути одного направления питается от базисного трансформатора, а тяговая сеть второго пути – от высотного трансформатора (рисунок 3.16). Это дает возможность на всем протяжении движения поезда по главным путям не устраивать нейтральных вставок и секционировать сеть устройствами подобно тому, как это делается при постоянном токе. Однако на съездах между путями необходимо на небольшом протяжении устраивать нейтральные вставки Такая система может себя оправдать только на линиях, где нет развитых станций и число съездов невелико. Следует также отметить, что на этой линии во избежание протекания уравнительных токов по тяговой сети подстанция через контактную сеть не соединяются (см. рисунок 3.16).




Поделиться с друзьями:


Дата добавления: 2015-05-26; Просмотров: 1872; Нарушение авторских прав?; Мы поможем в написании вашей работы!


Нам важно ваше мнение! Был ли полезен опубликованный материал? Да | Нет



studopedia.su - Студопедия (2013 - 2025) год. Все материалы представленные на сайте исключительно с целью ознакомления читателями и не преследуют коммерческих целей или нарушение авторских прав! Последнее добавление




Генерация страницы за: 0.007 сек.