Студопедия

КАТЕГОРИИ:


Архитектура-(3434)Астрономия-(809)Биология-(7483)Биотехнологии-(1457)Военное дело-(14632)Высокие технологии-(1363)География-(913)Геология-(1438)Государство-(451)Демография-(1065)Дом-(47672)Журналистика и СМИ-(912)Изобретательство-(14524)Иностранные языки-(4268)Информатика-(17799)Искусство-(1338)История-(13644)Компьютеры-(11121)Косметика-(55)Кулинария-(373)Культура-(8427)Лингвистика-(374)Литература-(1642)Маркетинг-(23702)Математика-(16968)Машиностроение-(1700)Медицина-(12668)Менеджмент-(24684)Механика-(15423)Науковедение-(506)Образование-(11852)Охрана труда-(3308)Педагогика-(5571)Полиграфия-(1312)Политика-(7869)Право-(5454)Приборостроение-(1369)Программирование-(2801)Производство-(97182)Промышленность-(8706)Психология-(18388)Религия-(3217)Связь-(10668)Сельское хозяйство-(299)Социология-(6455)Спорт-(42831)Строительство-(4793)Торговля-(5050)Транспорт-(2929)Туризм-(1568)Физика-(3942)Философия-(17015)Финансы-(26596)Химия-(22929)Экология-(12095)Экономика-(9961)Электроника-(8441)Электротехника-(4623)Энергетика-(12629)Юриспруденция-(1492)Ядерная техника-(1748)

Машины и механизмы специального назначения




Помимо машин и механизмов для обработки муки, теста и кремов в кондитерских цехах предприятий общественного питания используются и другие машины и механизмы.

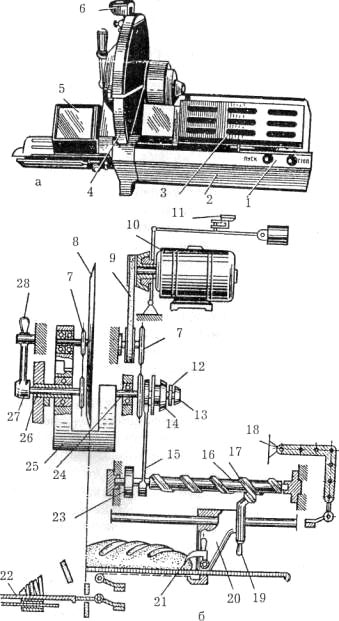
Размолочный механизм МД для дробления орехов и растирания мака входит в комплект универсального привода УКМ и состоит из прямоугольного корпуса, хвостовик которого крепится на горловине универсального привода. В верхней части корпуса находится загрузочный бункер, на дне которого расположен питательный валик. Для равномерного поступления продукта в зону измельчения возле валика установлен шибер, который с помощью регулировочного винта изменяет расстояние между валиком и шибером. В камере обработки находятся размолочные валки: ведущий и ведомый. Степень измельчения продукта можно регулировать путем изменения расстояния между валками с помощью винта в пределах от 0 до 2,5 мм. Механизм комплектуется четырьмя сменными валками, один из которых имеет гладкую, а три других — рифленую поверхность. Рифленость валков различная, что определяет степень измельчения и вид продукта; валки быстросъемные, замена их производится с помощью вытяжной шпонки. Для очищения поверхности размолочных валков от прилипших частей продукта к ним прижимаются скребки, снабженные регулировочными винтами.

Принцип действия. При включении механизма в работу получают вращательное движение питательный валик и раз-молочные валки. Продукты попадают на питательный валик, который равномерно подает их на размолочные валки. Вращаясь с различной скоростью (170 и 220 об/мин) в противоположные стороны, валки захватывают продукты, размалывают их и направляют через разгрузочное окно в подставленную тару.

Правила эксплуатации размолочного механизма. Перед началом работы проверяют санитарное состояние и техническую готовность механизма, собирают его и вставляют в горловину универсального привода. Затем с помощью регулировочного винта устанавливают зазор между шибером и питательным валиком, а также между размолочными валками. Для получения однородной массы из орехов вначале производят грубое их измельчение, а затем — окончательный помол. По окончании работы валки очищают щеткой, а наружную поверхность протирают сначала влажной, а затем сухой тканью.

Кофемолки предназначены для размола обжаренных зерен черного кофе. Они входят в комплект экспресс-кофеварок или устанавливаются самостоятельно. Наиболее распространены кофемолки "Савария" (рис. 8.11), состоящие из пустотелого корпуса 7 и загрузочной воронки 3. В корпусе установлены одно- или трехфазный двигатель 15 и размолочные диски. Подвижный размолочный диск 11 с рифленой поверхностью и промежуточный опорный диск 12 закреплены на валу электродвигателя.

Для поддержания размолочного диска и удаления молотого кофе с днища корпуса имеется опорный диск.

В верхней части корпуса установлена регулировочная гайка б, на которой смонтирован верхний неподвижный раз-молочный диск 10 с ребрами 9. При повороте регулировочной гайки верхний диск может приближаться к нижнему или удаляться от него, в результате чего меняется расстояние между размолочными дисками, а следовательно, и степень помола. К регулировочной гайке присоединяется металлическая оправа 4 стеклянной воронки 3.

Рис. 8.11. Кофемолка "Савария":

а — общий вид, б — разрез

Для изменения количества продукта, подаваемого к размолочным дискам, и полного прекращения подачи зерен в металлической оправе горловины предусмотрена заслонка 5.

В нижней части корпуса укреплена специальная вилка 1, на которую устанавливается быстросъемная кофеварочная чаша для загрузки дозы молотого кофе.

Дозатор кофемолки — объемного типа. Молотый кофе по переходному лотку 13 ссыпается в стеклянный сосуд 2 Дозатора и заполняет отсеки лопастного колеса 14 дозировочного маховичка. Емкость отсека между двумя соседними лопастями и определяет дозу кофе. Поскольку лопастное колесо состоит из двух совмещенных половин, емкость отсека может увеличиваться при подъеме верхней половины колеса за счет увеличения высоты лопастей. Масса дозы может варьироваться в пределах от 3 до 4,5 г с помощью установочного винта, расположенного в середине лопастного колеса. При вращении винта вправо масса дозы уменьшается, влево — увеличивается. Дозатор приводится в действие вручную посредством храпового механизма.

Принцип действия. При включении кофемолки в работу электродвигатель вращает рифленый размолочный диск. Зерна кофе из загрузочного бункера равномерно попадают в зазор между неподвижными вращающимися рифлеными поверхностями и размалываются. Под действием центробежной силы измельченный кофе попадает в дозатор или в подставленную тару Для получения порции кофе нужно повернуть дозирующий рычаг 8 до отказа. При этом лопастное колесо поворачивается и доза молотого кофе, находящаяся в отсеке, ссыпается через отверстие дозатора в подставленный фильтр чаши кофеварки, а дозирующий рычаг с помощью пружины автоматически возвращается в исходное положение.

Правила эксплуатации кофемолок. Перед началом работы в воронку засыпают поджаренные зерна кофе, причем заслонка горловины должна быть закрыта. Затем включают электродвигатель и, открыв заслонку, размалывают небольшое количество кофе. После этого заслонку закрывают и проверяют тонкость помола. Если качество его неудовлетворительное (помол слишком мелкий или слишком крупный), то тонкость помола регулируют с помощью регулировочной гайки Для этого винты, фиксирующие положение регулятора, отворачивают на 2—3 оборота, регулировочную гайку поворачивают влево (грубый помол) или вправо (мелкий помол) и вновь фиксируют положение регулятора винтами и контргайкой.

Дальнейший помол кофе производят до тех пор, пока дозатор не заполнится на 2/3 объема. После этого закрывают заслонку, а по окончании измельчения оставшихся в мельнице зерен выключают электродвигатель. Для загрузки дозатора чашу с фильтром устанавливают на вилку дозатора и поворачивают дозирующий рычаг. После разгрузки дозатора процесс повторяют. После работы кофемолку очищают сухой тканью или щеткой.

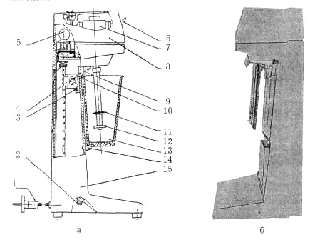
Смесительная установка (коктейлевзбивалка) МК-3 "Воронеж" (рис. 8.12) предназначена для приготовления молочных коктейлей путем механического перемешивания компонентов

Рис. 8.12. Коктейлевзбивалка "Воронеж":

а — разрез, б — внешний вид

Настольный полуавтомат включается в сеть с помощью штепсельной вилки 1. Внутри пустотелого корпуса 15 находится болт для заземления 2, а в верхней части — три двух-скоростных электродвигателя 7 однофазного тока. Переключатели скоростей 6 вынесены на верхнюю панель управления. Двигатели сверху закрыты крышкой 8 На выступающий удлиненный конец вала каждого двигателя насажена крыльчатка 12 и отбойное кольцо 11. Крыльчатка представляет собой цельнолитую капроновую крестовину для интенсивного перемешивания содержимого стаканов 13, а отбойное кольцо — диск с рифленой поверхностью. Включение двигателя происходит при установке стакана на нижней скобе 14 со всеми компонентами для коктейля. При этом край стакана фиксируется под верхней скобой 9 и через рычаг 10 перемещает тумблер 4 вверх, который и включает двигатель. При снятии стакана под действием возвратной пружины 3 тумблер опускается и двигатель отключается. В момент включения двигателя загорается сигнальная лампочка 5, а при отключении гаснет.

Принцип действия и правила эксплуатации коктейлевзбивалки. Перед началом работы проверяют санитарное состояние машины. Продукты для приготовления коктейля должны быть предварительно охлажденными до 2—8°С. Стаканы наполняют компонентами в объеме не более 450 см3 (на три порции). Включают переключатель, напряжение подается на двигатель, о чем свидетельствует загорание сигнальной лампочки.

Стакан поддевают под верхнюю скобу и устанавливают на нижнюю, при этом включается двигатель и начинается интенсивное перемешивание массы продукта в стакане. Перемешиваемая масса насыщается воздухом и увеличивается в объеме в 1,5—2 раза до образования плотной пены. Время приготовления коктейля зависит от частоты вращения вала двигателя и температуры компонентов, входящих в коктейль, но не должно быть более 1 мин. После окончания операции приготовления коктейля стакан осторожно снимают и готовый коктейль разливают на порции. При этом двигатель автоматически отключается. Каждый двигатель работает самостоятельно, поэтому можно одновременно готовить коктейли в трех стаканах. Но коллекторные однофазные электродвигатели быстро перегреваются, поэтому нужно следить за нагревом двигателей и желательно включать их поочередно.

После окончания работы установку отключают от сети, а стаканы и валы двигателей промывают горячей водой.

Технические характеристики машин и механизмов для обработки муки, теста и кремов приведены в табл. 8.3.

Таблица 8.3

Технические характеристики машин и механизмов для обработки муки, приготовления теста и кремов, взбивальных машин и механизмов

Машины и механизмы Марка Производительность, кг/ч Мощность электродвигателя, кВт Габаритные размеры, мм Масса, кг
Машина для просеивания муки МПМ-800   1,1 860x670x1310  
Малогабаритный просеиватель муки вибрационный МПМВ-300   1,1 825x750x1500  
Просеивательный механизм МП   1,1 335x430x590  
Тестомесильная машина ТММ-1М 2,8 1220x840x1005  
МТМ-15   1,1 650x440x650  
МТ-100-01   2,2 1050x670x1130 ПО
Машина для раскатки теста МРТ-60М   0,55 1050x740x1200  
НМРТ-80/500   0,37 1700x960x650  
МНРТ-130/600   0,7 3160x1080x1206  
МРСТ-120   0,4 2900x1000x1110  
Машина взбивальная МВ-35М 0,8 750x440x1100  
МВ-60 2,2 1165x650x1300  
МВ-6 12-16 0,25 450x300x550  
Многоцелевой механизм МС 4-7-8-20 0,6-0,1 580x480x660  
Механизм взбивальный MB   580x480x660  
Механизм размолочный МД 10-20 1,1 400x240x36  
Кофемолка «Савария»     0,36 400x230x530  
Коктейлевзбивалка МК-3   0,18 350x350x460  

 

Вопросы для самоконтроля

1.Как регулируется степень измельчения в размолочных механизмах?

2.Перечислите рабочие инструменты для размола продуктов.

3.Объясните, с какой целью на поверхность валков наносят рифления.


Глава 9. Машины для нарезки хлеба и гастрономических товаров

 

На предприятиях общественного питания для нарезки хлеба и гастрономических продуктов применяются соответственно машины МРХ-200 и МРГ-300А.

 

Машина для нарезки хлеба МРХ-200 (рис. 9.1) предназначена для измельчения хлеба и хлебобулочных изделий. Литая чугунная станина 2 машины устанавливается на столе. Камерой обработки является полый кожух 4, внутри которого находится рабочий орган — дисковый нож 8. В верхней части кожуха укреплено точильное приспособление б, а в нижней — два окна: загрузочное и разгрузочное, к каждому из которых примыкает соответствующий лоток. На загрузочном лотке расположена каретка 20 для закрепления хлеба и подачи его в зону нарезки. Хлеб закрепляется на каретке с помощью игольчатых захватов 21, сама каретка зацепляется с ходовым валом — винтом 16 с помощью рукоятки 19 с роликом 17.

 

Над обоими лотками находятся предохранительные устройства для предотвращения попадания рук обслуживающего персонала в зону измельчения. Над загрузочным лотком расположена предохранительная решетка 3, а над разгрузочным — откидной щиток 5. На боковой поверхности кожуха с одной стороны располагается механизм для регулирования толщины нарезаемых ломтиков хлеба, а на другой — рукоятка 27,28 для вращения ножа (при заточке или при удалении отходов).

 

Для включения машины на станине укреплен кнопочный выключатель с кнопками "Пуск" и "Стоп" 1.

 

Приводной механизм состоит из электродвигателя 10, клиноременной 9 и цепной 7 передач, главного вала 24,26, на котором расположен противовес 25 с кронштейном и еще одной цепной передачей 7. С помощью эксцентрика с надетым на него шатуном 15 приводной вал соединяется с ходовым винтом через обгонную муфту свободного хода 23.

Рис. 9.1. Машина для нарезки хлеба МРХ-200:

а — общий вид, б — кинематическая схема

На валу электродвигателя расположен электромагнитный тормоз с рукояткой растормаживания 11. Муфта свободного хода превращает возвратно-поступательное движение шатуна в прерывисто-вращательное движение ходового винта. Блокировка предохранительной решетки 18 и откидного щитка автоматически отключает двигатель при их открывании.

Принцип действия. При включении машины в работу движение от двигателя передается в двух направлениях: на дисковый нож и на каретку с хлебом. Через клиноременную и цепную передачу вращение передается на главный вал. Затем с помощью противовеса и кронштейна нож перемещается по окружности, а с помощью цепной передачи нож вращается вокруг своей оси. Таким образом, дисковый нож получает планетарное движение.

С главного вала через эксцентрик, шатун и муфту свободного хода ходовой винт получает прерывисто-вращательное движение и перемещает каретку с хлебом в сторону ножа прерывисто-поступательно. Машина сбалансирована так, что когда нож находится в верхнем положении кожуха, хлеб движется, а когда нож опускается — каретка останавливается, и нож отрезает ломтик хлеба определенной толщины. Нож опять начинает подниматься вверх, а каретка выталкивает отрезанный ломтик на приемный лоток 22 и цикл нарезки повторяется. Производительность машины — 200 резов (ломтиков) в минуту.

Правила эксплуатации хлеборезок. Перед началом работы машину осматривают и проверяют ее готовность к работе, в том числе надежность крепления всех ее частей и ограждений. Затем проверяют работу машины вручную, т.е. не включая электродвигателя. Для этого растормаживают вал двигателя, повернув против часовой стрелки рукоятку тормоза до упора. Далее проверяют работу машины на холостом ходу при включенном электродвигателе, а также работу блокировки, для чего слегка приподнимают предохранительную решетку. Двигатель должен остановиться. Запрещается работать с неисправной блокировкой — это может привести к травматизму.

Далее устанавливают требуемую толщину нарезаемых ломтей хлеба. Для этого ослабляют гайку 13 и поворачивают диск с делениями 14 так, чтобы цифра, показывающая толщину ломтя, совпала с цифрой на стопорном диске 12, после чего диск закрепляют гайкой.

Отведя каретку в правое положение, закрепляют на ней игольчатыми захватками хлеб (черный вначале разрезают вдоль пополам) и опускают защитную решетку. Разгрузочный лоток отводят в крайнее положение и нажимают кнопку "Пуск". В результате каретка с хлебом получает прерывисто-поступательное движение, а нож — планетарное. Как только от батона хлеба будет отрезан последний ломоть, каретка нажимает своим ограничителем на выключатель и машина останавливается. После этого поднимают защитную решетку, отводят каретку вправо и, сняв с захвата горбушку, закрепляют следующий батон.

Для удаления нарезанного хлеба разгрузочный лоток с ограждающим устройством отводят влево. Затем, сняв хлеб, продвигают лоток к корпусу до упора.

Дисковый нож затачивают ежедневно, так как при нарезке хлеба тупым ножом существенно ухудшается качество нарезаемых ломтей, увеличивается нагрузка на электродвигатель и, следовательно, больше потребляется электроэнергии. Для заточки дисковый нож поднимают в верхнее положение, закрепляют противовес стопорным винтом и выдвигают рукоятку ручного управления. Точильный механизм разворачивают на 180°, а точильные абразивные диски подводят вплотную к ножу с обеих сторон. Левой рукой вращают рукоятку ножа, а правой с помощью рычага слегка прижимают точильные диски к ножу. После заточки точильный механизм, стопорный винт и рукоятку устанавливают в первоначальное положение.

Нож в течение дня периодически зачищают от налипшего хлеба. Для этого его вместе с рукояткой устанавливают в то же положение, что и при заточке. Затем нажимают на кнопки, находящиеся в верхней части кожуха. Нож начинает вращаться. Скребки, прижимаясь с двух сторон к вращающемуся ножу, соскабливают с него налипший хлеб.

Во время работы нужно строго соблюдать правила безопасности. Нельзя работать на машине при неисправной блокировке, подталкивать хлеб к дисковому ножу рукой, ускорять разгрузку машины. Запрещается работать на машине при снятом точильном приспособлении. Застрявшие куски хлеба можно удалять только после выключения машины и полной остановки ножа (у хлеборезок, не имеющих тормозного устройства, нож после отключения движется некоторое время по инерции).

По окончании работы машину отключают от электросети, очищают от хлебных крошек и протирают сухой тканью

Машина для нарезки гастрономических продуктов МРГ-ЗООА (рис. 9.2) предназначена для нарезки гастрономических продуктов (колбасы, ветчины, окорока, корейки, колбасного сыра, рыбной гастрономии и т. д.) ломтиками различной толщины. Основанием машины является корпус 1, на котором крепятся электродвигатель 16, механизм передачи движения и регулятор толщины реза. Снизу корпус имеет четыре резиновые опоры для уменьшения шума и вибрации. Над корпусом расположены опорный столик 7 и дисковый нож 8, закрытый защитным кожухом 13. На задней стенке корпуса находится заточное приспособление, состоящее из двух абразивных камней, шарнирно закрепленных на кронштейне.

Передаточный механизм состоит из двухступенчатого червячного редуктора 15 и шарнирно-четырехзвенного механизма 14. Червячный редуктор имеет ведущий вал — червяк и два ведомых колеса. Движение от электродвигателя 16 через первую ступень червячного редуктора передается дисковому ножу, а через вторую — рычагу 2 с основанием 3 и лотком 10.

Машина комплектуется двумя сменными загрузочными лотками, один из которых предназначен для нарезки колбас под углом от 30 до 90° к оси продукта (лоток косого реза), другой — для нарезки гастрономических продуктов под прямым углом.

Рис. 9.2. Машина для нарезки гастрономических продуктов МРГ-300А:

а — общий вид, б — кинематическая схема

Лоток состоит из основания, подвижной опоры 11 и фиксаторов подвижной опоры 12. Положение подвижной опоры соответствует сечению продукта. Лоток косого реза дополнительно имеет фиксатор для установки угла реза продукта На рычаге лоток удерживается двумя зажимами 9.

Включение машины осуществляется пакетно-кулачковым выключателем 5.

Для преобразования движения вала редуктора из вращательного в качательное между редуктором и рычагом установлен шарнирно-четырехзвенный механизм

Регулятор толщины среза предназначен для изменения толщины ломтиков продукта и состоит из лимба с делениями, ручки 4, двух направляющих и опорного столика.

Деления лимба соответствуют зазору между плоскостями ножа и опорного столика. При нулевом положении лимба плоскость резания и плоскость опорного столика находятся на одном уровне. При вращении рукоятки регулятора толщины реза расстояние между плоскостью резания и плоскостью опорного столика изменяется, а следовательно, изменяется и толщина нарезаемого продукта.

Машина комплектуется точильным приспособлением, которое крепится на ее корпусе стопорным винтом.

Принцип действия. При включении машины в работу движение от электродвигателя передается в двух направлениях: на дисковый нож и каретку.

Нож совершает вращательное движение от первого червячного редуктора, а от второго червячного редуктора через шарнирно-четырехзвенный механизм движение передается на лоток с продуктом, который совершает качательное движение. Продукт по поверхности опорного стола лотком перемещается в сторону ножа. Нож отрезает ломтик определенной толщины, который выпадает вниз на приемный стол б через зазор между столом и ножом. Оставшийся продукт в лотке, опираясь на плоскость ножа, перемещается в правое конечное положение. При обратном движении лотка продукт соскальзывает с поверхности ножа на опорный столик и возвращается в крайнее левое положение. После чего лоток вновь движется в сторону ножа и цикл нарезки повторяется.

Правила эксплуатации машин для нарезки гастрономических продуктов. Перед началом работы машину осматривают и проверяют качество заточки режущей кромки дискового ножа. Для этого натянутую полоску бумаги подносят к лезвию неподвижного ножа: если нож заточен хорошо, бумага прорежется, плохо — разорвется. В последнем случае нож необходимо заточить. Затем на лимбе устанавливают необходимую толщину нарезки продукта. При этом рекомендуются следующие размеры толщины ломтей: сыры сычужные — 1,5—3 мм, плавленые — 5—8, рассольные — 5—10, колбасы вареные — 3—5, фаршированные — 3—5, полукопченые — 2—3, копченые — 1—2, рулеты — 3—4, окорок, буженина, шпик, карбонат, ветчина — 2—3, мясо отварное — 3—5 мм.

Далее на каретке закрепляют продукт.

На рычаг шарнирно-четырехзвенного механизма устанавливают один из лотков (в зависимости от характера нарезаемого продукта), кладут на него продукт и фиксируют его положение двумя подвижными опорами, причем продукт должен свободно опираться на поверхность опорного стола.

По окончании нарезки продукта машину останавливают и закладывают в каретку новую порцию продукта. Затем процесс нарезки продукта повторяют.

После нарезки двигатель выключают, лимб ставят в положение "О" и производят санитарную обработку машины. Такое положение предотвращает несчастный случай при случайном включении машины во время санитарной обработки, так как не будет соприкосновения с лезвием ножа.

При санитарной обработке машины щиток и нож тщательно промывают горячей водой с добавлением моющего средства, ополаскивают и насухо вытирают мягкой тканью. Санобработку ножа производят только прилагаемым очистителем.

Запрещается направлять или проталкивать застрявший продукт и очищать машину при включенном электродвигателе.

При санитарной обработке нож можно снимать только специальным съемником, а очищать — лопаткой-вилкой.

В процессе эксплуатации следят за состоянием режущей кромки ножа и по мере надобности затачивают его. При этом ограждение кожуха должно быть снято. Заточное приспособление устанавливают в рабочее положение: разворачивают его на 180° и опускают так, чтобы режущая кромка ножа оказалась между абразивами, затем закрепляют зажимом. Далее включают электродвигатель и осторожно нажимают на рычаг управления заточного камня, который при этом прижимается к вращающемуся ножу. Заточку продолжают до образования на режущей части лезвия ножа небольшой кромки (0,05—0,08 мм), которую затем удаляют правильным камнем (кнопку заточного камня при этом опускают). После этого лопатой-вилкой, обернутой мягкой тканью, удаляют с поверхности ножа абразивную пыль, возвращают заточное приспособление в исходное положение, а нож закрывают защитным кожухом.

Возможные неисправности рассмотренных машин и способы их устранения приведены в табл. 9.1, а технические характеристики этих машин — в табл. 9.2.

Таблица 9.1

Неисправности машин для нарезки хлеба и гастрономических продуктов и способы их устранения

Неисправности Причина Способы устранения
Машина не нарезает продукт Продукт в лотке в результате неправильной фиксации и не подается к ножу Выключить машину. Ослабить зажим и отодвинуть подвижные опоры, чтобы продукт свободно опускался
Машина не полностью прорезает продукт или делает неровный срез Затупился нож Заточить нож
При нарезке продукт чрезмерно крошится Затупился нож Заточить нож
При нарезке у колбас выпадает жир Занижена толщина нарезки, установленная на лимбе Увеличить толщину нарезки на лимбе
При повороте выключателя двигатель не работает Отсутствует контакт в штепсельном разъеме Восстановить контакт в штепсельном разъеме
Во время работы отключился электродвигатель Перегрузка двигателя: завышена толщина нарезки продукта (как правило, сыра) Установить выключатель в положение «0», лимбом уменьшить толщину нарезки продукта, рычажок автоматического выключателя установить в верхнее положение

 

 

Таблица 9.2

Технические характеристики машин для нарезки хлеба и гастрономических продуктов

Машина Марка Производительность, резов/мин Мощность электродвигателя, кВт Габаритные размеры, мм Масса, кг
Машина для нарезки хлеба МРХ-200   0,27 1200x600x480  
Машина для нарезки гастрономических продуктов МРГ-300А   0,37 680x480x570  

 

Вопросы для самоконтроля

1.Какие предохранительные устройства используются в машинах для нарезания гастрономии?

2.Какой вид движения совершает нож машины МРХ-200 и как движется каретка с хлебом?

3.Назовите меры безопасности при работе на хлеборезательной машине.

4.Изложите порядок окончания работы на машине МРГ-300А.


Глава 10. Посудомоечные машины

Посудомоечные машины предназначены для мытья и ополаскивания столовой и чайной посуды, столовых приборов. Посуда в таких машинах моется в несколько этапов с применением моюще-дезинфицирующих средств, которые резко улучшают качество обработки посуды. По принципу действия различают посудомоечные машины непрерывного и периодического действия. По назначению их подразделяют на универсальные (для всех видов посуды) и специализированные (для посуды определенного вида).

В настоящее время в эксплуатации находятся машины непрерывного действия: ММУ-1000, ММУ-1000К, ММУ-2000 и НМТ-1; машины периодического действия: ММУ-250, ММУ-500 (для мойки посуды) и машина ММП-4000 (для мойки столовых приборов). Налажен выпуск новых отечественных машин: МПУ-1000, МПУ-1400, МПУ-2000, МПУ-2800 и МПУ-700.

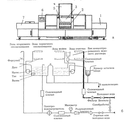
Посудомоечная машина универсальная ММУ-2000 (рис. 10.1) состоит из трех секций: загрузочной, моечной и разгрузочной. Посуду, которую через все секции транспортирует цепной конвейер 2, устанавливают на капроновые ячейки 5. Внутри нижней части загрузочной секции 1 расположен выдвижной бачок с перфорированным дном для сбора остатков пищи, присоединяемый к канализации. Рядом располагается бачок для концентрированного моющего средства, сообщающийся с первой ванной. Бачок снабжен блокировкой, которая автоматически отключит машину при отсутствии в бачке моющего средства. Моечная секция 3 туннельного типа разделена резиновыми фартуками на четыре зоны обработки посуды. Входное и выходное отверстия также закрыты резиновыми фартуками для предотвращения ожогов обслуживающего персонала. Секция снабжена раздвигающимися вверх дверцами 4. В нижней части моющей секции находится машинное отделение с двумя ваннами: для теплой и горячей воды. Душевые коллекторы находятся над и под конвейером для мытья посуды со всех сторон. Над последней зоной находится вентиляционное отверстие для удаления паров влаги. Внутри разгрузочной секции 7 расположен привод машины и автоматический электронагреватель. На боковой поверхности машины имеется пульт управления машиной 6, где установлена пусковая, контрольная и защитная аппаратура.

Принцип действия. При включении машины в работу посуду устанавливают на транспортер, с помощью которого через окно она направляется в моечную секцию. В первой зоне происходит струйная очистка посуды от остатков пищи проточной водой из водопровода. Остатки пищи смываются в бункер, а вода через перфорированное дно бункера сливается в канализацию.

Рис. 10.1. Посудомоечная машина ММУ-2000:

а — общий вид; б — гидравлическая схема

Затем посуда входит в зону мытья, где обрабатывается теплой водой с температурой 45—55°С с моющим средством. Вода в зону мытья подается из первой ванны насосом, а после обработки стекает в эту же ванну (рециркуляционный метод). Из зоны мытья посуда переходит в зону первичного ополаскивания, которое осуществляется тоже рециркуляционным методом: горячая вода с температурой 55— 65°С насосом из второй ванны подается в ополаскивающие души, а затем стекает в эту же ванну. Первичное ополаскивание необходимо для удаления с посуды остатков моющего средства.

Затем посуда поступает в зону вторичного ополаскивания для ее стерилизации — вода (кипяток) из водонагревателя ошпаривает посуду и стекает во вторую ванну (проточная циркуляция). При этом уровень воды в ванне повышается, находящиеся на поверхности остатки моющего средства через переливную трубку уровня сливаются в канализацию.

Расположенный сверху вентилятор отсасывает пары влаги из зоны вторичного ополаскивания, и посуда выходит из моечной секции в разгрузочную секцию наполовину обсушенная. В конце пути посуды над транспортером расположена блокировка (предохранительная рамка), при нажатии на которую посудой, не снятой с транспортера, автоматически отключаются машина и насосы.

Посудомоечные машины типа МПУ-1400, МПУ-2000, МПУ-2800 имеют аналогичное машине ММУ-2000 устройство и принцип действия; отличаются же некоторыми конструктивными особенностями и производительностью.

Универсальная посудомоечная машина МПУ-700 периодического действия предназначена для мытья глубоких и мелких тарелок, суповых мисок "баранчиков", стаканов, столовых приборов и подносов. Загрузка посуды производится кассеты двух видов: с капроновыми выступами для установки тарелок и с сетчатым дном для стаканов и столовых приборов, "баранчиков" и подносов. Конструкция машины позволяет устанавливать ее в линейном и угловом исполнении с направлением посуды слева направо. Машина комплектуется двумя приставными столами. Посуда в кассетах вручную через три секции перемещается по направляющим. Внутри загрузочного стола расположена ванна с подводом воды из магистрали, снабженная смесителем и душевой насадкой с клапаном. Моечная секция состоит из двух частей: верхняя — моечная камера, закрываемая подъемным кожухом, и нижняя — машинное отделение. Внутри загрузочного стола расположены бачок для раствора моющего средства, программный механизм для автоматического управления машиной и водонагреватель. На передней панели размещен пульт управления.

Принцип действия. На загрузочный стол машины устанавливают кассеты с посудой и с помощью душевой насадки вручную смывают с нее остатки пищи в ванну. При этом вода сливается в канализацию, а остатки пищи — в выдвижной перфорированный бачок. После этого поднимают кожух при помощи рукоятки и задвигают кассету в моечную камеру, кожух опускают и включают машину в работу. В начале цикла через соленоидный клапан в течение 10 с моющий раствор из бачка сливается в ванну. Затем клапан закрывается, на 60—70 с включается двигатель насоса, а вода с температурой 45—55°С из ванны через фильтр подается в моющие души. После окончания мытья насос отключается, делается пятисекундная пауза и открывается соленоидный клапан для подачи воды из водопровода через запорный вентиль в водонагреватель. Горячая вода с температурой 93—98°С на 10—15 с подается из водонагревателя в ополаскивающие души. На этом цикл работы машины завершается и она автоматически отключается. Уровень воды в ванне при этом повышается, остатки жира и моющих средств через сливную трубку уровня удаляются в канализацию.

Технические характеристики посудомоечных машин представлены в табл. 10.1.

 

 

Таблица 10.1 Технические характеристики посудомоечных машин

Наименование машины Марка Производительность, шт./ч Мощность электродвигателя, кВт Габаритные размеры, мм Масса, кг
Машина посудомоечная универсальная ММУ-250   25,7 1806x680x1440  
ММУ-500   25,7 1806x780x1440  
ММУ-1000   38,6 3800x1046x1292  
НМТ-1   33,18 3580x1050x1375  
ММУ-2000   26,6 4840x1082x1350  
МПУ-700   16,3 1900x900x1500  
МПУ-1000   40,0 3800x1100x1350  
МПУ-1400   33,5 3755x900x1350  
МПУ-2800   64,0 5000x1000x1450  

 

Парк зарубежных посудомоечных машин очень разнообразен. Наибольшее распространение получили машины производства Германии. На рис. 10.2 представлена машина серии GS непрерывного действия в линейном варианте и с разворотом роликового транспортера на 180° с широким диапазоном использования.

Посудомоечные машины периодического действия серии GS также выпускаются различного назначения и производительности. Это позволяет использовать их на предприятиях общественного питания и в пекарнях как в линейном, так и в угловом исполнении (рис. 10.3). Их можно использовать на средних и малых предприятиях для мытья не только столовой посуды, но и противней.

Посудомоечные машины периодического действия серии GR (Германия) предназначены для мытья кастрюль, кухонных приборов, противней размером 630 х 420 и 600 х 1000 мм (рис. 10.4).

Малогабаритная посудомоечная машина серии GSR 36 предназначена для мытья посуды и кухонных приборов и может устанавливаться под столом.

Рис. 10.2. Посудомоечная машина непрерывного действия серии GS (Германия)

Рис. 10.3. Линейный вариант посудомоечной машины периодического действия серии GS (Германия)

Рис. 10.4. Посудомоечные машины серии GS (Германия):

а — GS 62/2, б — GS 66

Посудомоечные машины непрерывного действия серии KTS корзинно-транспортировочные (Германия) предназначены для пекарен, кондитерских и других предприятий общественного питания для мытья еврокорзин, производительностью 540 корзин/ч.

Правила эксплуатации посудомоечных машин. После проведения санитарно-технического осмотра машину подготавливают к работе, для чего открывают вентиль подачи воды, включают нагрев и заполняют бачок раствором моющего средства (без него машина работать не будет). Предварительно с посуды удаляют крупные остатки пищи.

Машины непрерывного действия эксплуатируют два работника один на погрузке, другой на выгрузке. При достижении температуры воды в водонагревателе 93—98°С и загорании зеленой сигнальной лампочки машина готова к работе. Нажимают кнопку "Пуск" и начинают загружать посуду на конвейер. Во время работы запрещается открывать боковые дверцы машины, так как это может привести к ожогам. Во всех аварийных случаях машина отключается, на пульте загорается синяя сигнальная лампочка — машина перешла с режима "Работа" на режим "Подготовка". Если это произошло, нужно подождать пока загорится зеленая лампочка и вновь нажать кнопку "Пуск". Машины периодического действия обслуживает один оператор. Перед началом работы машины подготавливают моющий раствор и заполняют бачок дозатора. Затем открывают вентиль водопровода, подающего холодную (горячую) воду, опускают кожух камеры мытья, включают автоматический выключатель, переместив ручку вверх. При этом загорается лампочка "Сеть", а вода поступает в ванну.

Далее заполняют кассету посудой и удаляют остатки пищи теплой водой. Затем поднимают кожух камеры мойки, передвигают кассету, кожух закрывают. Переключатель программного механизма устанавливают на соответствующую программу. Дальнейшая работа происходит автоматически. По окончании цикла машина останавливается, оператор поднимает кожух и передвигает кассету с посудой на разгрузочный стол.

Через каждые 3 ч непрерывной работы машины нужно произвести смену воды в ванне. После окончания работы машину выключают, закрывают вентиль водопровода, сливают воду из ванны, очищают и промывают фильтр насоса, ванну и камеру. Наружную поверхность протирают влажной, а затем сухой тканью.

 

Вопросы для самоконтроля

1.Приведите примеры посудомоечных машин непрерывного и периодического действия.

2.Назовите назначение основных секций посудомоечных машин непрерывного действия.

3.Объясните,что такое рециркуляционный метод при мытье посуды?

4.Изложите процесс мытья посуды в машине МПУ-700.


Глава 11. Подъемно-транспортное оборудование




Поделиться с друзьями:


Дата добавления: 2015-06-25; Просмотров: 7717; Нарушение авторских прав?; Мы поможем в написании вашей работы!


Нам важно ваше мнение! Был ли полезен опубликованный материал? Да | Нет



studopedia.su - Студопедия (2013 - 2026) год. Все материалы представленные на сайте исключительно с целью ознакомления читателями и не преследуют коммерческих целей или нарушение авторских прав! Последнее добавление




Генерация страницы за: 0.012 сек.