Студопедия

КАТЕГОРИИ:


Архитектура-(3434)Астрономия-(809)Биология-(7483)Биотехнологии-(1457)Военное дело-(14632)Высокие технологии-(1363)География-(913)Геология-(1438)Государство-(451)Демография-(1065)Дом-(47672)Журналистика и СМИ-(912)Изобретательство-(14524)Иностранные языки-(4268)Информатика-(17799)Искусство-(1338)История-(13644)Компьютеры-(11121)Косметика-(55)Кулинария-(373)Культура-(8427)Лингвистика-(374)Литература-(1642)Маркетинг-(23702)Математика-(16968)Машиностроение-(1700)Медицина-(12668)Менеджмент-(24684)Механика-(15423)Науковедение-(506)Образование-(11852)Охрана труда-(3308)Педагогика-(5571)Полиграфия-(1312)Политика-(7869)Право-(5454)Приборостроение-(1369)Программирование-(2801)Производство-(97182)Промышленность-(8706)Психология-(18388)Религия-(3217)Связь-(10668)Сельское хозяйство-(299)Социология-(6455)Спорт-(42831)Строительство-(4793)Торговля-(5050)Транспорт-(2929)Туризм-(1568)Физика-(3942)Философия-(17015)Финансы-(26596)Химия-(22929)Экология-(12095)Экономика-(9961)Электроника-(8441)Электротехника-(4623)Энергетика-(12629)Юриспруденция-(1492)Ядерная техника-(1748)

Специализированные аппараты




К специализированным относятся аппараты и устройства для опаливания птицы и дичи, пассерования и припускания овощей и т. д.

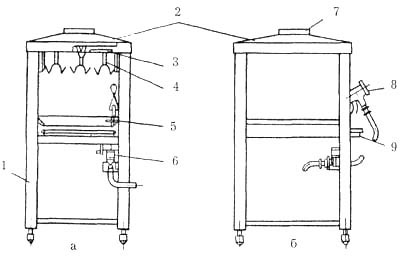
Устройство УОП-1 для опаливания птицы и дичи (рис. 19.5) работает на газовом обогреве и служит для опаливания кур, цыплят, рябчиков, тетеревов и т. д. на предприятиях общественного питания.

Устройство состоит из рамы 1, закрытой с трех сторон облицовками. Сверху к раме крепится крышка 2, в которой предусмотрено отверстие для подключения к вытяжной вентиляции 7. В центре крышки установлен поворотный диск 3, к которому крепятся восемь крюков 4 для закрепления тушек. В средней части рамы имеется выдвижной поддон 9 для сбора отходов при опаливании. На правой передней стойке рамы имеются кронштейны для установки опалочной горелки 8 и запальника 5. Горелка с помощью гибкого шланга соединяется с блоком автоматики безопасности 6 типа АБ.

Рис. 19.5. Устройство УОП-1 для опаливания птицы и дичи:

а — разрез; б — схема

Опалочная горелка состоит из коллектора, на котором имеются четыре сопловых отверстия диаметром 1 мм. Смесительная трубка выполнена в виде трубы с сетчатым стабилизатором пламени. Запорное устройство состоит из подпружиненного клапана, штока с уплотнителем, рычага. Запорное устройство смонтировано в ручке горелки. При нажатии на рычаг шток отжимает клапан от седла, открывая проход газу. При отпускании рычага клапан плотно прижимается пружиной к седлу, при этом доступ газа к горелке прекращается. На передней стороне ручки укреплен отражатель, обеспечивающий защиту руки от воздействия открытого пламени.

Помещение, в котором устанавливается УОП-1, должно иметь приточно-вытяжное устройство и естественное освещение.

Производительность при массе тушки 1,5 кг — 40— 60 шт./ч; тепловая мощность — 11700 Вт; габариты — 900x700x1800 мм, масса — 100 кг.

Аппарат тепловой электрический АТЭ-0,73 предназначен для пассерования нашинкованных овощей (лука, моркови) и припускания овощей (моркови, капусты) на предприятиях общественного питания.

Аппарат состоит из чаши (внутренний котел), вокруг которого располагается кожух (наружный котел). Чаша и кожух соединены между собой сваркой. Пространство между чашей и кожухом заполнено теплоизоляцией. Ко дну чаши крепится блок электронагревателей, которые закрыты снизу теплоизоляционным слоем. Кожух котла установлен на цапфах, которые опираются на две тумбы. На первой тумбе спереди расположена панель управления, а внутри тумбы — панель с электроаппаратурой включения тэнов и электродвигателем привода червячного редуктора, опрокидывающего чашу. На первой тумбе также располагаются два датчика-реле температуры: датчик предварительного нагрева чаши и датчик аварийного отключения тэнов. На нижнем листе кожуха располагается электродвигатель, коническая передача и вал привода мешалки. При включении мешалки скребки перемешивают пассеруемые овощи, что исключает возможность их подгорания. Расположение электродвигателя и привода мешалки в кожухе не препятствует опрокидыванию чаши. Механизм привода мешалки поворачивается вместе с чашей. Чаша аппарата закрывается крышкой. Крышка чаши поворачивается вокруг неподвижной оси вращения, ее можно установить под любым углом в пределах от 0 до 90°. Перед опрокидыванием чаши крышку устанавливают в вертикальные положение: если этого не сделать, то механизм опрокидывания чаши будет заблокирован.

Техническая характеристика аппарата АТЭ-0,73:

Площадь пода чаши, м2 0,73

Вместимость чаши, дм3 160

Время разогрева до 250°С, мин 12

Номинальная мощность, кВт 24,5

Номинальное напряжение, В 380 с нулевым проводом

Род тока трехфазный, переменный

Частота тока, Гц 50

Габаритные размеры, мм длина 1580

ширина 1270

высота 1050

Масса, кг 440

Вопросы для самоконтроля

1.Назовите, в каком соотношении регулируется мощность нагрева конфорок в плите ПЭСМ-4Ш.

2.Расшифруйте буквенно-цифровое обозначение плиты ПЭ-0.51-01.

3.Назовите формы конфорок электроплит.

4.Перечислите неправильные приемы эксплуатации, которые быстро выводят конфорки из строя.

5.Изложите правила безопасной эксплуатации газовых плит.

6.Приведите примеры плит, работающих на твердом топливе..


Глава 20. Водогрейное оборудование




Поделиться с друзьями:


Дата добавления: 2015-06-25; Просмотров: 1755; Нарушение авторских прав?; Мы поможем в написании вашей работы!


Нам важно ваше мнение! Был ли полезен опубликованный материал? Да | Нет



studopedia.su - Студопедия (2013 - 2026) год. Все материалы представленные на сайте исключительно с целью ознакомления читателями и не преследуют коммерческих целей или нарушение авторских прав! Последнее добавление




Генерация страницы за: 0.013 сек.