Студопедия

КАТЕГОРИИ:


Архитектура-(3434)Астрономия-(809)Биология-(7483)Биотехнологии-(1457)Военное дело-(14632)Высокие технологии-(1363)География-(913)Геология-(1438)Государство-(451)Демография-(1065)Дом-(47672)Журналистика и СМИ-(912)Изобретательство-(14524)Иностранные языки-(4268)Информатика-(17799)Искусство-(1338)История-(13644)Компьютеры-(11121)Косметика-(55)Кулинария-(373)Культура-(8427)Лингвистика-(374)Литература-(1642)Маркетинг-(23702)Математика-(16968)Машиностроение-(1700)Медицина-(12668)Менеджмент-(24684)Механика-(15423)Науковедение-(506)Образование-(11852)Охрана труда-(3308)Педагогика-(5571)Полиграфия-(1312)Политика-(7869)Право-(5454)Приборостроение-(1369)Программирование-(2801)Производство-(97182)Промышленность-(8706)Психология-(18388)Религия-(3217)Связь-(10668)Сельское хозяйство-(299)Социология-(6455)Спорт-(42831)Строительство-(4793)Торговля-(5050)Транспорт-(2929)Туризм-(1568)Физика-(3942)Философия-(17015)Финансы-(26596)Химия-(22929)Экология-(12095)Экономика-(9961)Электроника-(8441)Электротехника-(4623)Энергетика-(12629)Юриспруденция-(1492)Ядерная техника-(1748)

Система бустерного управления




Ручной режим управления ЛА

При ручном управлении отклонение лётчиком органа управления (ОУ) может выполняться непосредственно (так называемое обратимое ручное управление), когда лётчик, прикладывая усилия к рычагам управления, уравновешивает полностью или частично аэродинамический шарнирный момент отклоняемого ОУ. В этом случае перемещение рычагов управления требует от лётчика непрерывной затраты энергии.

Другой вид ручного управления — необратимое. Он связан с использованием для отклонения ОУ каких-либо вспомогательных устройств и источников энергии, например гидравлической или электрической системы. Гидравлический рулевой привод (бустер) в системе необратимого управления уравновешивает полностью шарнирный момент ОУ, а лётчик перемещает только золотник бустера, для чего требуется небольшое усилие (порядка 10—15 Н). Поскольку рулевой привод представляет собой систему с жёсткой обратной связью, то перемещение лётчиком рычага управления однозначно (и, как правило, линейно) связано с перемещением выходного штока бустера и, следовательно, с отклонением ОУ. Такое устройство позволяет управлять ЛА на больших скоростях и при его больших размерах.

Однако для появления у лётчика необходимых ощущений изменения режима полёта (скорости, перегрузки, угловых скоростей и др.) на рычагах управления должны искусственно имитироваться соответствующие изменения усилий, строго регламентированные в соответствии с опытом лётной эксплуатации. Применяемые для этого имитаторы усилий, которые обычно называются загрузочными устройствами, имеют различные принципы действия. Они могут быть пневматическими, гидравлическими и механическими. Последний тип получил наибольшее распространение (в виде регулируемых пружин). Загрузочные устройства должны обеспечивать регулирование усилий в зависимости от параметров полёта.

 

Система состоит (см.Рис.4.1) из источника энергии, распределительного устройства, исполнительного механизма и обратной связи, передающей сигнал с выхода исполнительного механизма на вход распределительного устройства. Три последних элемента выполняются в виде единого агрегата, называемого бустером и включаемого в проводку управления самолета между командным рычагом и рулем. В качестве энергетической системы обычно используется гидросистема самолета. Поэтому иногда бустер называют гидроусилителем.

Основные элементы бустера.

Бустер состоит из распределительного устройства, исполнительного механизма и обратной связи.

Распределительное устройство обычно представляет собой трехпозиционный четырехходовый цилиндрический или плоский золотниковый механизм с положительным перекрытием " с ". На рис.4.2 показана принципиальная схема распределительного устройства с цилиндрическим золотником.

 

Распределитель-ное устройство
Энергетическая система
Исполнительное устройство
Обратная связь
Гидроусили-тель (бустер)
Рис.4.1. Принципиальная схема бустерного управления

 

 

b
s
dз
 
 
Слив
Слив
Нагнетание
К исполнительному устройству
 
 
 
 
c

 

Рис.4.2. Распределительное устройство с цилиндрическим золотником,

где 1- плунжер; 2- гильза; 3- окно подвода жидкости из линии нагнетания; 4- рабочие пояски; 5- рабочие окна отвода жидкости

 

Плунжер золотника 1 через проводку управления перемещается командным рычагом летчика влево или вправо и открывает рабочие окна 5 в гильзе 2 (первая или вторая позиции золотника). Через одно окно жидкость из линии нагнетания 3 подается к исполнительному механизму, а через другое окно - жидкость от исполнительного механизма идет на слив. При перемещении золотника в другую сторону движение жидкости в окнах 5 изменяется на обратное. Это обеспечивает движение исполнительного механизма в обе стороны. При нейтральном положении золотника (3-я позиция, показана на рисунке) рабочие окна перекрываются рабочими поясками 4, обеспечивая фиксацию исполнительного механизма и руля в заданном положении.

В настоящее время более широкое применение находят золотники плоские, которые отличаются простотой изготовления и большей надежностью в работе по сравнению с золотниками цилиндрическими. При этом используются плоские золотники возвратно-поступательные (рис.4.3) и поворотные (рис.4.4).

 

Слив
Слив
Нагнетание
К исполнительному устройству
 
 
 
 
 
Рис.4.3. Распределительное устройство с плоским золотником,где 1- опорная плита; 2- плоский золотник; 3- прижимная плита; 4- пружины; 5- тяга

 

Такой золотник состоит из опорной плиты 1, плоского золотника 2, прижимной плиты 3 и пружин 4, прижимающих золотник к опорной плите. Опорная плита неподвижна и имеет пять каналов: линия нагнетания; две линии подвода гидрожидкости к исполнительному устройству; две линии слива. Подвижный плоский золотник с помощью тяги 5 перемещается летчиком (или приводом автоматической системы управления), соединяя одно из окон подвода гидрожидкости к исполнительному устройству с линией нагнетания, а другое окно – с линией слива, что обеспечивает перемещение штока исполнительного механизма в ту или иную стороны. При нейтральном положении золотника обеспечивается фиксация исполнительного механизма в заданном положении. Рабочие окна обычно имеют прямоугольное сечение, что обеспечивает получение линейной зависимости расхода жидкости по перемещению золотника.

На рис.4.4 показана принципиальная схема поворотного плоского золотника. Летчик тягой 3 поворачивает золотник 2 относительно оси 0 - 0, управляя подачей жидкости к исполнительному механизму через окна (4-6) в опорной плите 1. Валик, на котором закреплен золотник, выполняет функцию гибкого звена - торсиона, обеспечивающего при заклинивании золотника перемещение проводки управления 3 для передачи движения к дублирующим бустерам.

 

О
О
 
 
 
 
 
 
Рис.4.4. Поворотный плоский золотник,где 1- опорная плита; 2- плоский золотник, 3- тяга; 4- окно линии нагнетания; 5- окна подвода гидрожидкости к исполнительному устройству; 6- окна линии слива

 

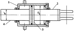
Исполнительный механизм бустера выполняется (см.Рис.4.5) в виде силового гидроцилиндра 1, внутри которого перемещаются штоки 2 и 4 с поршнем 3.

 

 

 

Рис.4.5. Схема силового гидроцилиндра с ложным штоком

 

Жидкость под рабочим давлением от золотникового распределителя подается в левую или правую рабочие полости цилиндра и перемещает шток в ту или иную сторону. Противоположная полость в это время сообщается со сливом. Рабочий шток 2 соединяется непосредственно или через проводку управления с рулем. Ложный шток 4 обеспечивает равенство рабочих площадей поршня с обеих его сторон, что дает равные усилия и скорости движения штока в левую и в правую стороны.

Иногда используются дифференциальные силовые цилиндры без ложного штока (рис.4.6), что дает выигрыш в массе исполнительного механизма. В этом цилиндре полость со стороны штока всегда соединена с линией нагнетания и давление в ней в процессе работы не меняется.

 

 

D

 

Рис.4.6. Схема дифференциального силового гидроцилиндра без ложного штока

 

Левая полость золотниковым распределителем сообщается либо с линией нагнетания, либо со сливом. В первом случае шток движется вправо (усилие на поршне слева больше, чем усилие справа из-за разницы рабочих площадей), а во втором случае - влево (сила на штоке создается давлением жидкости на кольцевую площадь поршня справа). Равенство усилий при движении в обе стороны обеспечивается только при соотношении диаметров поршня и штока . В этом случае площадь поршня слева в два раза больше кольцевой площади справа, что и обеспечивает одинаковые усилия в ту и другую стороны.

Обратная связь обеспечивает получение следящей системы, при которой руль строго следит за перемещениями командного рычага летчика, выдерживая требуемый коэффициент передачи по перемещениям. Для получения следящей системы обратная связь должна быть отрицательной и жесткой, как показано на рис.4.7.

 

 

 
 
 
А
Управляющий сигнал от летчика
К рулям управления
Рис.4.7. Принципиальная схема отрицательной жесткой обратной связи,где 1- гильза золотника; 2- плунжер золотника; 3- шток; 4- силовой цилиндр
 

Отрицательность обратной связи означает то, что при движении штока или цилиндра исполнительного механизма должно происходить закрытие рабочих окон в золотниковом механизме. Жесткость обратной связи обеспечивает прямую (линейную) пропорциональность закрытия окон по перемещению исполнительного механизма.

Самый простой способ получения обратной связи обеспечивается закреплением гильзы 1 золотникового механизма на штоке 3, внутри которого проложены каналы от рабочих окон к рабочим полостям силового цилиндра 4. Иногда гильза золотника размещается внутри штока. Управляющая тяга от летчика подходит к золотнику в точке А. Ее перемещения открывают рабочие окна и вызывают перемещение штока 3 вместе с гильзой 1. Шток с некоторым отставанием движется в ту же сторону, что и золотник. В конце движения, когда золотник останавливается, происходит полное закрытие рабочих окон и фиксация штока в новом положении. Перемещение штока копирует перемещение золотника, что и обеспечивает слежение руля за командным рычагом.

Более совершенный способ создания обратной связи обеспечивается установкой на входе в бустер дифференциальной качалки обратной связи (рис.4.8).

 

 

Рис.4.8. Бустер с дифференциальной качалки обратной связи

 

В этом случае (а) перемещение управляющей тяги 1 поворачивает дифференциальную качалку относительно точки 2 и двигает плунжер золотникового механизма, который перемещается на величину большую, чем перемещение тяги, что ускоряет открытие окон и ускоряет движение штока, т.е. повышает быстродействие бустера. В конце движения точка 1 фиксируется (летчик удерживает ручку управления в заданном положении) и дифференциальная качалка поворачивается в обратную сторону по мере движения штока до вертикального ее положения и закрытия рабочих окон. При этом закрытие рабочих окон происходит за счет встречного движения золотника и гильзы - т.е. ускорено. Это также повышает быстродействие бустера. Дифференциальная качалка может и замедлять работу золотникового механизма. Такое замедление может использоваться для устранения автоколебаний бустера. Замедленная работа (рис.4.8,б) золотникового механизма возможна в том случае, когда плечо l 1 меньше l 2. Кроме того, для устранения автоколебаний бустера иногда используют гидравлическое демпфирование золотника.




Поделиться с друзьями:


Дата добавления: 2015-06-04; Просмотров: 1174; Нарушение авторских прав?; Мы поможем в написании вашей работы!


Нам важно ваше мнение! Был ли полезен опубликованный материал? Да | Нет



studopedia.su - Студопедия (2013 - 2026) год. Все материалы представленные на сайте исключительно с целью ознакомления читателями и не преследуют коммерческих целей или нарушение авторских прав! Последнее добавление




Генерация страницы за: 0.011 сек.