Студопедия

КАТЕГОРИИ:


Архитектура-(3434)Астрономия-(809)Биология-(7483)Биотехнологии-(1457)Военное дело-(14632)Высокие технологии-(1363)География-(913)Геология-(1438)Государство-(451)Демография-(1065)Дом-(47672)Журналистика и СМИ-(912)Изобретательство-(14524)Иностранные языки-(4268)Информатика-(17799)Искусство-(1338)История-(13644)Компьютеры-(11121)Косметика-(55)Кулинария-(373)Культура-(8427)Лингвистика-(374)Литература-(1642)Маркетинг-(23702)Математика-(16968)Машиностроение-(1700)Медицина-(12668)Менеджмент-(24684)Механика-(15423)Науковедение-(506)Образование-(11852)Охрана труда-(3308)Педагогика-(5571)Полиграфия-(1312)Политика-(7869)Право-(5454)Приборостроение-(1369)Программирование-(2801)Производство-(97182)Промышленность-(8706)Психология-(18388)Религия-(3217)Связь-(10668)Сельское хозяйство-(299)Социология-(6455)Спорт-(42831)Строительство-(4793)Торговля-(5050)Транспорт-(2929)Туризм-(1568)Физика-(3942)Философия-(17015)Финансы-(26596)Химия-(22929)Экология-(12095)Экономика-(9961)Электроника-(8441)Электротехника-(4623)Энергетика-(12629)Юриспруденция-(1492)Ядерная техника-(1748)

Общие сведения о конденсатных насосах




 

1.1. Конденсатные насосы тепловых электростанций предназначены для откачки конденсата греющего пара из теплообменных аппаратов:

- конденсаторов турбин;

- подогревателей системы регенеративного подогрева питательной воды;

- сетевых подогревателей;

- сепараторов и пароперегревателей турбоустановок АЭС;

- конденсаторов испарительных установок.

Конденсатные насосы являются ответственными агрегатами в тепловой схеме турбоустановок и основными (после циркуляционных насосов) потребителями электроэнергии на собственные нужды машинного зала.

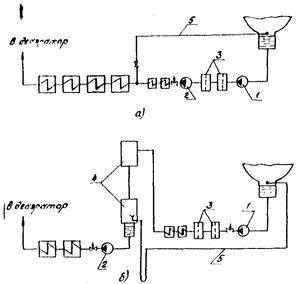
В схемах, где основной конденсат турбины подвергается очистке в фильтрах блочных обессоливающих установок (БОУ), для откачки конденсата из конденсаторов турбин устанавливаются две ступени конденсатных насосов. Две или три ступени конденсатных насосов для перекачки основного конденсата применяются в схемах энергоблоков, где устанавливаются контактные (смешивающие) подогреватели низкого давления. На рис. 1 и 2 приведены принципиальные схемы включения конденсатных насосов в системах регенеративного подогрева питательной воды паротурбинных, установок.

 

 

Рис. 1. Принципиальная схема включения конденсатных насосов паротурбинных установок:

1 - конденсатор; 2 - конденсатный насос основного потока конденсата; 3 - регулирующий клапан; 4 - охладители пара эжекторов и пара, поступающего из концевых уплотнений;

5 - линия рециркуляции основного конденсата; 6 - подогреватели низкого давления;

7 - конденсатный насос конденсата греющего пара ПНД; 8 - подогреватель сетевой воды (ПСВ); 9 - конденсатный насос конденсата греющего пара ПСВ; 10 – деаэратор

 

1.2. Учитывая высокую ответственность конденсатных насосов в схеме турбоустановок, их группы, как правило, формируются с резервом. В большинстве случаев группы насосов, перекачивающих основной конденсат, состоят из трех агрегатов с подачей, равной 50-60% максимального расхода конденсата, а остальные группы конденсатных насосов - из двух агрегатов со 100%-ной подачей каждый.

В качестве конденсатных насосов на электростанциях применяются исключительно центробежные насосы горизонтального и вертикального типов. Конденсатные насосы малой и средней подачи выполняются горизонтальными, секционного или спирального типа. Конденсатные насосы первого подъема о подачей 200 м3/ч и выше изготовляются в вертикальном исполнении, двухкорпусными, многоступенчатыми, секционного типа; насосы второго подъема большой производительности - горизонтальными, одноступенчатыми, спирального типа, с рабочим колесом двухстороннего входа.

 

 

Рис. 2. Принципиальные схемы включения двух ступеней конденсатных насосов:

а - сфильтрами очистки конденсата; б - с фильтрами очистки конденсата и контактными подогревателями низкого давления.

1 - конденсатный насос I ступени; 2 - конденсатный насос II ступени; 3 - фильтры очистки конденсата; 4 - контактные подогреватели; 5 - линия рециркуляция

 

Конструкции насосов предусматривают ряд решений, обеспечивающих снижение кавитационных разрушений рабочих органов насоса. К таким решениям относятся установка предвключенного осевого колеса (подпорного винта), выполнение равномерного подвода воды к входному патрубку насоса первой ступени, применение хромистой стали для деталей, подвергаемых кавитационному воздействию и т.п.

Отечественная промышленность выпускает конденсатные насосы с подачей от 12 до 2000 м3/ч и напорами от 40 до 220 м. Допустимый кавитационный запас насосов первой ступени составляет 1,6-4,5 м, насосов второй ступени 15-18 м.

КПД насосов малой подачи (до 50 м3/ч) находится на уровне 45-63% средней подачи (80-200 м3/ч) на уровне 65-71%, а у насосов большой подачи - 75-80%.

Для расширения диапазона экономичного использования насосов допускается подрезка рабочих колес по наружному диаметру, не превышая 10% номинального диаметра. Снижение КПД при этом на должно превышать 3%.

1.3. Характерной особенностью конденсатных насосов является перекачка воды с температурами, близкими к температурам насыщения, что предъявляет к ним требования высокой всасывающей способности. Насосы, откачивающие конденсат непосредственно из теплообменных аппаратов, обычно работают в условиях начальной кавитации при входе среды в рабочее колесо первой ступени. Кроме того, по условиям компоновки конденсатные насосы, как правило, работают с малыми подпорами на стороне всасывания; так как их заглубление связано со значительными затратами при строительстве. Для уменьшения вредного влияния кавитации и обеспечения длительной надежной работы насосов заводы рекомендуют ограничивать длительность наработки с малыми подачами и перегрузкой:

до - 0,2 Q ном - не более 3 мин;

св. 0,2 до 0,5 Q ном - до 5%общего времени наработки;

св. 0,5 до 0,85 Q ном - не более 15% общего времени наработки;

св. 0,85 Q ном до 1,05 Q ном- без ограничения времени;

св. 1,05 Q ном - по условиям нагрузки электродвигателя и кавитационного запаса.

1.4. В качестве привода к конденсатным насосам используются асинхронные электродвигатели с напряжением 0,38 и6 кВ, частотой вращения 1000, 1500 и 3000 об/мин (16,7; 25 и 50 с-1). Номинальная мощность электродвигателей выбирается по максимальной мощности, потребляемой насосом, с запасом 10-40%.

КПД электродвигателей при их номинальной загрузке в зависимости от их типа и мощности составляет 88-96%. В пределах (1,2¸0,6) N номКПД асинхронных электродвигателей заметно не изменяется.

1.5. Основными требованиями, предъявляемыми к конденсатным насосам, являются:

- надежная, экономичная, стабильная и долговечная работа насосных агрегатов при наличии частичной кавитации;

- обеспечение надежной параллельной работы на общую сеть;

- отсутствие подсоса воздуха и заражение кислородом конденсата через работающий и неработающий резервный агрегат;

- обеспечение быстрого автоматического запуска насосного агрегата из резерва;

- устойчивая работа в широком диапазоне изменения подачи, при изменениях вакуума в конденсаторе или давления в корпусах теплообменных аппаратов;

- обеспечение перегрузки сверх номинальной производительности в переходных режимах.

Кроме того, для конденсатных насосов весьма важными эксплуатационными показателями являются:

- минимальная высота подпора на стороне всасывания;

- крутизна характеристики QH и максимальный напор, развиваемый насосом при нулевой подаче (при работе на закрытую задвижку на стороне нагнетания).

По этим характеристикам определяются отметка установки насоса относительно аппарата, из которого откачивается конденсат, и расчетные параметры конденсатного тракта.

1.6. Работа конденсатных насосов, как и всех других центробежных насосов, характеризуется:

- подачей (производительностью);

-развиваемым напором;

- потребляемой мощностью.

Эти три основных параметра работы насоса связаны один с другим коэффициентом полезного действия:

, (1.1)

где G - массовая подача, кг/с;

Н - напор, м;

N н - мощность, потребляемая насосом, кВт,

На рис. 3 приведены основные характеристики насосов, какими их представляют заводы-изготовители насосов. Помимо, указанных характеристик Н = f (Q), N н = f (Q)и hн = f (Q)здесь приведена и характеристика D h доп = f (Q)- зависимость допустимого кавитационного запаса на стороне всасывания насоса от его подачи.

 

 

Рис. 3. Основные характеристики конденсатного насоса

 

D h доп = А ,

где А = 1,0¸1,6 - коэффициент запаса, устанавливаемый заводом в зависимости от типа и условий работы насоса;

- кавитационный запас, соответствующий первому критическому режиму кавитации (началу снижения параметров насоса).

1.7. Мощность (кВт), потребляемая приводом насоса, определяется из уравнения

, (1.2)

где hэ - КПД приводного электродвигателя.

Если подачу насоса G выразить в т/ч, а развиваемый насосом напор как разность давлений в напорном и входном патрубках

, (Р наг и Р вс – в кгс/см2),

а удельный вес жидкости g в кгс/м3, то уравнение (1.2) примет вид

. (1.2')

При Р наг и Р вс, выраженных в МПа,

, (1.2")

где r - плотность воды, кг/м3.

 




Поделиться с друзьями:


Дата добавления: 2015-07-02; Просмотров: 1696; Нарушение авторских прав?; Мы поможем в написании вашей работы!


Нам важно ваше мнение! Был ли полезен опубликованный материал? Да | Нет



studopedia.su - Студопедия (2013 - 2025) год. Все материалы представленные на сайте исключительно с целью ознакомления читателями и не преследуют коммерческих целей или нарушение авторских прав! Последнее добавление




Генерация страницы за: 0.009 сек.