Студопедия

КАТЕГОРИИ:


Архитектура-(3434)Астрономия-(809)Биология-(7483)Биотехнологии-(1457)Военное дело-(14632)Высокие технологии-(1363)География-(913)Геология-(1438)Государство-(451)Демография-(1065)Дом-(47672)Журналистика и СМИ-(912)Изобретательство-(14524)Иностранные языки-(4268)Информатика-(17799)Искусство-(1338)История-(13644)Компьютеры-(11121)Косметика-(55)Кулинария-(373)Культура-(8427)Лингвистика-(374)Литература-(1642)Маркетинг-(23702)Математика-(16968)Машиностроение-(1700)Медицина-(12668)Менеджмент-(24684)Механика-(15423)Науковедение-(506)Образование-(11852)Охрана труда-(3308)Педагогика-(5571)Полиграфия-(1312)Политика-(7869)Право-(5454)Приборостроение-(1369)Программирование-(2801)Производство-(97182)Промышленность-(8706)Психология-(18388)Религия-(3217)Связь-(10668)Сельское хозяйство-(299)Социология-(6455)Спорт-(42831)Строительство-(4793)Торговля-(5050)Транспорт-(2929)Туризм-(1568)Физика-(3942)Философия-(17015)Финансы-(26596)Химия-(22929)Экология-(12095)Экономика-(9961)Электроника-(8441)Электротехника-(4623)Энергетика-(12629)Юриспруденция-(1492)Ядерная техника-(1748)

Методические указания. Задание:вычертить аксонометрическое изображение группы геометрических тел




Лист 1 – 6

Лист 1 – 5

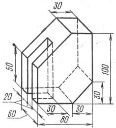
Задание: вычертить аксонометрическое изображение группы геометрических тел. Варианты задания в таблице 6. Пример выполнения приведен на рис. 14.

 

Рис. 14. Пример выполнения листа 1 – 5.

 

 

 

Задание: по аксонометрическому изображению вычертить три вида, так что бы чертеж читался однозначно с нанесением всех необходимых размеров. Варианты даны в таблице 7. Пример выполнения задания дан на рис. 15.

Рекомендуется в начале выбрать основной вид изображения, которое должно давать наиболее полное представление о форме и размерах предмета. Другие виды определяют в зависимости от основного.

Под видом следует понимать изображение того, что повернуто к наблюдателю видимой частью предмета. Этот вид называют главным и располагают на фронтальной плоскости проекций.

Определив габаритные размеры, наметьте места для каждого вида с тем, чтобы они равномерно заняли все поле чертежа.

Вычертите проекции, нанесите на них выносные и размерные линии согласно ГОСТ 2.307-68 и нанесите размеры.

Таблица 7.

   
   
   
   
   
   

 

Рис. 15. Пример выполнения листа 1 – 6.




Поделиться с друзьями:


Дата добавления: 2015-06-28; Просмотров: 2026; Нарушение авторских прав?; Мы поможем в написании вашей работы!


Нам важно ваше мнение! Был ли полезен опубликованный материал? Да | Нет



studopedia.su - Студопедия (2013 - 2026) год. Все материалы представленные на сайте исключительно с целью ознакомления читателями и не преследуют коммерческих целей или нарушение авторских прав! Последнее добавление




Генерация страницы за: 0.013 сек.