Студопедия

КАТЕГОРИИ:


Архитектура-(3434)Астрономия-(809)Биология-(7483)Биотехнологии-(1457)Военное дело-(14632)Высокие технологии-(1363)География-(913)Геология-(1438)Государство-(451)Демография-(1065)Дом-(47672)Журналистика и СМИ-(912)Изобретательство-(14524)Иностранные языки-(4268)Информатика-(17799)Искусство-(1338)История-(13644)Компьютеры-(11121)Косметика-(55)Кулинария-(373)Культура-(8427)Лингвистика-(374)Литература-(1642)Маркетинг-(23702)Математика-(16968)Машиностроение-(1700)Медицина-(12668)Менеджмент-(24684)Механика-(15423)Науковедение-(506)Образование-(11852)Охрана труда-(3308)Педагогика-(5571)Полиграфия-(1312)Политика-(7869)Право-(5454)Приборостроение-(1369)Программирование-(2801)Производство-(97182)Промышленность-(8706)Психология-(18388)Религия-(3217)Связь-(10668)Сельское хозяйство-(299)Социология-(6455)Спорт-(42831)Строительство-(4793)Торговля-(5050)Транспорт-(2929)Туризм-(1568)Физика-(3942)Философия-(17015)Финансы-(26596)Химия-(22929)Экология-(12095)Экономика-(9961)Электроника-(8441)Электротехника-(4623)Энергетика-(12629)Юриспруденция-(1492)Ядерная техника-(1748)

Полуоси

Полуоси применяют для привода ведущих неуправляемых колес.

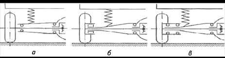
В зависимости от конструкции внешней опоры полуоси в балке моста, и, следова­тельно, от испытываемых нагрузок полуоси делят на по­луразгруженные, разгруженные на ¾ и полностью разгруженные.

Полуразгруженная полуось (а) в качестве внешней опоры имеет шариковый или роли­ковый подшипник, установленный между полуосью и балкой моста. Со стороны колеса такая полуось воспринимает все силы и мо­менты, действующие от дороги. Полу­разгру­женные полуоси имеют наиболее простую конструкцию и поэтому широко при­меня­ются на легковых автомобилях.

На ¾ разгруженная полуось (б) в качестве внешней опоры имеет роликовый под­шип­ник, установленный между балкой моста и ступицей колеса. Силы и моменты, дейст­вующие от дороги, воспринимаются час­тично подшипником, частично – полу­осью. Боковая сила вызывает перекос подшипника, что резко сокращает срок его службы, по­этому полуоси такого типа получили ограни­ченное распространение.

Полностью разгруженная полуось (в) в качестве внешней опоры имеет два роли­ко­вых или радиально-упорных шарикоподшип­ников, установленных между балкой моста и ступицей колеса. Такая конструкция приме­няется на автобусах и грузовых ав­томобилях средней и большой грузоподъемности, при этом полуось теоретически на­гружается только передавае­мым к колесу крутящим моментом.

<== предыдущая лекция | следующая лекция ==>
Дифференциалы | Несущие системы
Поделиться с друзьями:


Дата добавления: 2014-01-03; Просмотров: 345; Нарушение авторских прав?; Мы поможем в написании вашей работы!


Нам важно ваше мнение! Был ли полезен опубликованный материал? Да | Нет



studopedia.su - Студопедия (2013 - 2026) год. Все материалы представленные на сайте исключительно с целью ознакомления читателями и не преследуют коммерческих целей или нарушение авторских прав! Последнее добавление




Генерация страницы за: 0.012 сек.