Студопедия

КАТЕГОРИИ:


Архитектура-(3434)Астрономия-(809)Биология-(7483)Биотехнологии-(1457)Военное дело-(14632)Высокие технологии-(1363)География-(913)Геология-(1438)Государство-(451)Демография-(1065)Дом-(47672)Журналистика и СМИ-(912)Изобретательство-(14524)Иностранные языки-(4268)Информатика-(17799)Искусство-(1338)История-(13644)Компьютеры-(11121)Косметика-(55)Кулинария-(373)Культура-(8427)Лингвистика-(374)Литература-(1642)Маркетинг-(23702)Математика-(16968)Машиностроение-(1700)Медицина-(12668)Менеджмент-(24684)Механика-(15423)Науковедение-(506)Образование-(11852)Охрана труда-(3308)Педагогика-(5571)Полиграфия-(1312)Политика-(7869)Право-(5454)Приборостроение-(1369)Программирование-(2801)Производство-(97182)Промышленность-(8706)Психология-(18388)Религия-(3217)Связь-(10668)Сельское хозяйство-(299)Социология-(6455)Спорт-(42831)Строительство-(4793)Торговля-(5050)Транспорт-(2929)Туризм-(1568)Физика-(3942)Философия-(17015)Финансы-(26596)Химия-(22929)Экология-(12095)Экономика-(9961)Электроника-(8441)Электротехника-(4623)Энергетика-(12629)Юриспруденция-(1492)Ядерная техника-(1748)

Тормозные системы

Современные автомобили должны быть оборудованы рабочей, за­пасной и стоя­ночной тормозными системами. Некоторые автомобили обо­рудуются дополнительно вспомогательной тормозной системой. Эти сис­темы могут иметь общие элементы, но должны иметь не менее двух неза­висимых органов управления.

Рабочая тормозная система предназначена для уменьшения скоро­сти движения автомобиля с требуемой интенсивностью вплоть до полной остановки автомобиля.

Запасная тормозная система предназначена для торможения или полной оста­новки автомобиля в случае отказа рабочей тормозной системы. Как правило, ее функции выполняет один из контуров рабочей тормозной системы.

Стояночная тормозная система предназначена для надежного и не­ограничен­ного по времени удержания полностью груженого автомобиля на месте.

Вспомогательная тормозная система предназначена для длитель­ного поддержа­ния постоянной скорости движения на затяжных спусках без использования рабочей тормозной системы. Вспомогательная тормоз­ная система выполняется независимой от других тормозных систем.

Каждая тормозная система состоит из тормозных механизмов и тор­мозного при­вода.

Колесный тормозной механизм препятствует вращению колеса, вследствие чего между колесом и дорогой возникает тормозная сила.

Для сравнения тормозных механизмов используют следующие оце­ночные пара­метры:

- эффективность – отношение тормозного момента к приводному (чем больше тормозной момент, при одинаковом приводном, тем тормоз­ной механизм эффективнее);

- стабильность – зависимость коэффициента эффективности от ко­эффициента трения (чем слабее выражена эта зависимость, тем тормозной механизм стабильнее);

- реверсивность – зависимость эффективности от направления дви­жения автомо­биля (если тормозной момент при движении вперед равен тормозному моменту при движении назад, то тормозной механизм счита­ется реверсивным);

- уравновешенность – свойство тормозного механизма при работе создавать на­грузки на подшипники ступицы колеса (если тормозной меха­низм таких нагрузок не создает, то он считается уравновешенным).

Дисковый тормозной механизм является самым стабильным, ревер­сивным. К дру­гим преимуществам дискового тормоза следует отнести: высокое быстродейст­вие; ав­томатическое восстановление зазора ме­жду накладками и диском; легкость исполнения многоконтурного привода; позволяет легко обес­печить отрицательное плечо об­катки; повышен­ная энергоемкость на единицу массы; малая ме­таллоемкость; компактность; простота обслуживания.

Недостатки дисковых тормозов: самая низкая эффектив­ность из всех тормозных механизмов; неуравновешенность; повышенный износ поверх­ностей трения; требуют хорошего охлаждения и применения тормозной жидкости с вы­сокой температурой ки­пения; трудность при использовании в качестве стояночного тормоза; высокие требова­ния к точности изготов­ления и установки тормозного диска.

Дисковые тормозные механизмы применяются главным образом на легковых ав­томобилях: на автомобилях большого класса – на всех колесах; на автомобилях малого и среднего класса – в большинстве случаев только на передних колесах.

В настоящее время применяют четыре разновидности барабанных тормозных ме­ханизмов, которые отличаются особенностями силового взаимодействия колодок с при­водным устройством и барабаном.

У барабанного тормозного механизма с равными приводными силами и односто­рон­ним расположением опор колодок равенство приводных сил Р1 и Р2 обеспечивается одинаковыми размерами порш­ней рабочего цилиндра. Из схемы сил, дейст­вующих в тормозном механизме видно, что мо­мент силы трения Т относи­тельно опоры колодки оказывает на одну колодку действие, экви­валент­ное увеличению приводной силы (так как мо­менты на­правлены в одну сторону); а на вторую - эк­вивалентное уменьше­нию приводной силы (момент силы тре­ния и мо­мент приводной силы направлены в разные стороны). Колодку 1 называют пер­вичной (активной, самоприжимной), а колодку 2 – вторичной (пассив­ной, самоотжимной). Вследствие этого активная колодка обеспечи­вает примерно в два раза больший тормозной момент, чем пассивная, что при­водит к ускоренному из­нашиванию ее накладок. Для того чтобы уравнове­сить износ на­кладок, необходимо сде­лать одинаковыми давления на на­кладки, что достигается уменьшением длины и тол­щины пассивной на­кладки.

Такой тормоз недостаточно эффективен (тормозной момент меньше приводного), реверсивен, нестабилен (нелинейная статическая характери­стика), неуравновешен. Этот тип тормозного механизма применяется в рабочих тормозных системах грузовых авто­мобилей, имеющих массу не свыше 7,5 т и на задних колесах легковых автомобилей. Может использоваться в качестве стояночного тормоза.

В тормозном механизме с равными приводными силами и разнесенными опорами равенство приводных сил также обеспечивается одинаковыми разме­рами рабочих тор­мозных цилинд­ров. Такой тормоз недостаточно эф­фективен (тормоз­ной момент не­сколько больше приводного), неревер­сивен (при дви­жении автомобиля назад обе ко­лодки работают как пассивные), не­стабилен, уравновешен. Такие тормозные меха­низмы применяются на передних колесах автомобиля. Применение на задних колесах тормозов с односторонним расположением опор по­зволяет получить требуемое рас­пределение тормозных сил – на передних колесах больше, чем на задних, – соответственно нор­мальным реакциям, приходящимся на эти колеса.

Тормозной механизм с равными перемещениями колодок имеет симметричный профиль разжимного кулака, поэтому перемещения, а, следовательно, нормальные силы и силы трения, одинаковы для обеих колодок. Однако приводные силы не одина­ковы – автоматически ус­танавливается Р2 > Р1. Этот тор­мозной механизм недостаточно эффек­тивен, реверси­вен, стабилен (статическая характеристика линейна), уравновешен. Об­ласть применения тормозов с равными перемещениями колодок распространяется на ав­томо­били, оснащенные пневмоприводом тормозов (грузовые автомобили и ав­тобусы полной массой ³ 10 т).

Конструктивной особенностью тормозного механизма с самоусилением (серво­тормоза) является соединение нижних концов колодок тягой. При торможении на этой тяге появля­ется дополнительная реакция, увели­чивающая прижа­тие пассивной колодки к барабану. Обе колодки рабо­тают как активные.

Сервотормоз является самым эф­фективным из рассмотренных, однако самым не­ста­бильным и неуравновешенным (имеет место рез­кость срабатывания, ра­бота рыв­ками). Из-за этих недостатков сервотормоз в современ­ных авто­мобилях в качестве ко­лесного тормозного механизма не применяется. В то же время из-за большой эффектив­ности сервотормоз может использо­ваться в качестве трансмиссионного стояночного тормоза.

Тормозной привод служит для передачи силы, создаваемой водите­лем на органе управления (педали или рычаге), к тормоз­ным механизмам или для управления посто­ронним источником энергии, приводящим в дей­ствие тормозные механизмы. Тормоз­ной привод (по виду применяемого рабочего тела) может быть: механическим, гидравличе­ским, пневматиче­ским, электрическим и комбинированным (гидропневматическим, элек­тропневматиче­ским).

Механический привод представляет собой систему рычагов, тяг, тро­сов, валиков, через которые усилие от педали или рычага передается к тормозным механизмам. Такой тип привода в качестве привода рабочей тормозной системы совершенно не применя­ется. Причинами этого служат следующие недостатки механического привода: не обес­печивает одновре­менного начала работы нескольких тормозных механизмов и необходи­мого распределения приводных сил между ними; сложность и трудность ком­поновки на автомобиле; трудоемкий уход (необходимость частого ре­гулирования и сма­зывания); малый КПД (из-за больших потерь на трение).

Однако вследствие своей постоянной жесткости, такой тип привода имеет неог­раниченное время действия. Поэтому он всегда используется в качестве привода стоя­ночной тормозной системы.

Гидропривод применяется на всех легковых автомобилях и на грузо­вых автомоби­лях полной массой до 7,5 т. В сочетании с пневмоприводом гидропривод применяется и на автомобилях большой массы. Гидравличе­ский привод тормозов автомобиля является гидростатическим (передача энергии осуществляется давлением жидкости), принцип дей­ствия которого основан на свойстве несжимаемой жидкости, находящейся в покое, переда­вать создаваемое в любой точке давление одинаково всем точкам замкну­того объ­ема жидкости.

Именно свойство несжимаемости жидкости определяет основные преимущества гидропривода: малое время срабатывания; высокий КПД; возможность получения необ­ходимого распределения тормозных сил ме­жду несколькими тормозными механизмами; удобство компоновки; малые размеры и масса; простота конструкции; низкая стои­мость.

К недостаткам тормозного гидропривода относят: снижение КПД при низких температурах; выход из строя всей системы при местном по­вреждении привода или по­падании воздуха; ограниченное силовое переда­точное число.

Гидропривод состоит из педали, главного тормозного цилиндра, ко­лесных цилин­дров, а также трубопроводов, соединяющих цилиндры.

Для повышения надежности работы тормозной системы гидро­при­воды на совре­менных автомобилях выполняют двухконтурными; при вы­ходе из строя одного контура обеспечивается возможность тор­можения неповрежденным контуром, хотя и с меньшей эффективно­стью.

Выбор той или иной схемы определяется степенью потери эф­фективно­сти торможе­ния, допустимой несимметричностью тормозных сил, сложностью схемы.

При такой схеме один контур действует на передние тормозные механизмы, второй – на зад­ние. Схема самая про­стая и дешевая, однако при выходе из строя контура передних тормозов проис­ходит значительное снижение эффективности тор­можения.
У данной схемы один контур воздействует на все ко­леса, второй – только на передние. Схема сложнее и дороже, чем первая, однако при выходе из строя любого контура обес­печивается торможе­ние передними тормозными механизмами (у легко­вых автомобилей 90% тормозных сил создается именно ими).
В последние годы широкое распространение получила диагональная схема. При выходе из строя одного контура со­храняется 50% тормозной эффек­тивности. Однако такая схема может применяться только при отрицательном плече обкатки управ­ляемых колес, иначе автомобиль при торможении будет терять устойчивость в результате появления разворачиваю­щего момента.
В данной схеме двухконтурного тормозного гидропри­вода каждый из контуров действует на все колеса. Схема са­мая сложная и дорогая из рассмот­ренных, однако при выходе из строя одного кон­тура эффективность торможения не уменьшается.

Для облегчения работы водителя и сокращения тормозного пути в тормозной привод встраивают усилители. Усилитель может быть встроен в главный тормозной ци­линдр, расположенный вблизи тормозной педали, либо выполняется отдельным узлом.

На легковых автомобилях устанавливают, как правило, вакуумные усилители тормозного привода, встроенные в главный тормозной цилиндр.

Регуляторы тормозных сил (РТС) устанавливаются в автомобилях как с гидро-, так и с пневмоприводом. Как правило, РТС устанавливаются в контуре тормозных ме­ханизмов задних колес. Основное назначение ре­гулятора – ограничение тормозных сил на задних колесах для предотвра­щения их блокировки («юза») и возможного заноса. Иногда с целью со­хранения управляемости на дорогах с низким коэффициентом сцеп­ления РТС дополнительно устанавливают в контуре тормозов передних колес (клапан ограничения давления автомобилей КамАЗ).

Принцип работы любого РТС заключается в следующем: при малых усилиях на тормозной педали и, соответственно, малых давлениях рабо­чего тела в тормозной сис­теме, давления в рабочих тормозных цилиндрах или тормозных камерах передних и задних колес одинаковы. При увели­чении усилия на педали после достижения в системе некоторого расчет­ного давления регулятор уменьшает давление в аппаратах задних ко­лес по сравнению с передними. В связи с этим изменяется и распределение тор­мозных сил.

Динамические РТС с коррекцией точки отсечки широко применя­ются на легко­вых автомобилях с гидроприводом тормозов.

Корпус регулятора жестко закреплен на кузове автомо­биля. В кор­пусе находится дифференциальный клапан-пор­шень. Шток клапана-поршня опирается на торсион, со­единен­ный с задним мостом автомобиля.

В начале торможения, когда давление жидкости не­большое, она проходит через кольцевой зазор ме­жду головкой клапана-поршня и уп­лотнителем к тормозным ци­линд­рам зад­них колес (из камеры А в ка­меру Б).

Возрастающее давление жидкости действует на кла­пан-поршень регулятора с двух сторон головки неодинаково: сверху давление воспринимается боль­шей площадью (сверху диаметр клапана-поршня равен d2, снизу – (d2 - d1)). Под действием разности сил клапан-поршень стремится пе­реместиться вниз. Когда головка клапана-поршня при­жмется к уплотнителю полости А и Б будут разобщены. По­этому дальнейшее возраста­ние давления в по­лости А вызовет меньшее возрастание давления в полости Б.

Упругая сила РТ торсиона препятствует перемещению клапана-поршня вниз. Сила, воспринимаемая штоком клапана-поршня от торсиона зависит как от массы груза в кузове автомобиля, так и от замедления авто­мобиля при торможении.

При полной загрузке автомобиля и небольших замедлениях расстоя­ние между ку­зовом и задним мостом небольшое, торсион (пружина) закру­чен сильно, и сила, препят­ствующая опусканию клапана-поршня велика. Вследствие этого полости А и Б регуля­тора разобщается при большом дав­лении в полости Б, то есть и в колесных цилиндрах задних колес.

При порожнем автомобиле и больших замедлениях кузов поднима­ется над задним мостом; сила, воспри­нимаемая штоком от торсиона уменьша­ется и полости А и Б ра­зобщаются при меньшем давлении в полости Б. Таким образом изменяются тормозные силы на задних колесах в зависимости от на­грузки на них и замедления автомобиля.

Применение РТС на автомобилях связано с некоторой потерей тор­мозной эффек­тивности, так как предотвращение блокировки задних колес достигается их недоторма­живанием, поэтому дальнейшим развитие средств улучшения тормозной динамики яви­лись антиблокировочные системы (АБС). Назначение АБС – обеспечение оптимальной тормозной эффективности (минимального тормозного пути) при устойчивости и управ­ляемости автомобиля. Для этой цели необходимо независимо от во­дителя регулировать в процессе торможения подводимый к колесам тор­мозной момент.

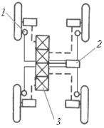
Любая АБС включает в себя следующие обязательные элементы:

- датчики 1, функцией которых явля­ется выдача информации об уг­ловой скоро­сти колеса, давлении рабочего тела в тор­мозном приводе, замедлении автомобиля, в зави­симости от принятой сис­темы регули­рования;

- блок управления 2 (обычно электрон­ный), куда поступает информация от датчи­ков и который после логической обработки поступив­шей информации дает команду ис­полнительным меха­низмам;

- исполнительные механизмы 3 (модуля­торы давления), ко­торые в зависимости от поступившей из блока управле­ния ко­манды, изменяют давление в тормозном приводе тормозных меха­низмов.

Процесс работы АБС может проходить по двух- или трехфазовому циклу. При двухфазовом цикле: первая фаза – нарастание давления, вторая фаза – сброс давления. При трехфазовом цикле: первая фаза – нарастание давления, вторая фаза – поддержание давления на постоянном уровне, тре­тья фаза – сброс давления. Достоинством трехфазо­вого цикла считается меньший расход рабочего тела (жидкости или воздуха), но моду­лятор по­лучается более сложным, чем при двухфазовом цикле.

Тормозной пневматический привод применяется на грузо­вых авто­мобилях сред­ней и большой грузоподъемности и на ав­тобусах. К преиму­ществам пневмопривода следует отнести: возможность получения боль­ших приводных сил при облегче­нии управления (мускульная энергия во­дителя затрачивается только на процесс управления впуском и выпуском сжатого воз­духа); удобство привода тормозных систем прицепа и полу­при­цепа, а также возможность управления тормозами прицепа при обеспе­чении желаемой разницы между режимами торможения прицепа и тягача; возможность ис­пользования сжатого воздуха для различных целей (управ­ление агрегатами трансмис­сии, регулирование давления в шинах, привод стекло­очистителей и других).

Недостатки пневмопривода: сложность производства и обслужива­ния; сравни­тельно высокая стоимость; постоянная затрата мощности на привод компрессора (до 5 – 6% от мощности двигателя); большая масса и габариты; большое время срабатывания (в 5 – 10 раз больше, чем у гидро­привода) из-за наличия большого количества клапанов и пружин и свойств сжатого воздуха.

В зависимости от применяемого пневмооборудования и принципа взаимосвязи с прицепами (полуприцепами) тягач может соединяться с прицепом (полуприцепом) по однопроводной, двухпроводной и комбини­рованной схемам.

Внешним признаком однопроводной схемы (а) является соединение тормозной системы тягача с тормозной системой прицепа одной магистра­лью 3, которая одновре­менно служит и управляющей и питающей линией.

При не нажатой тормозной педали 1 через соединительную магист­раль 3 проис­ходит подкачка ресиверов 5 прицепа сжатым воздухом.

При нажатии на тормозную педаль 1 давление в соединительной магистрали 3 па­дает (для управления прицепом при такой схеме используется тормозной кран 2 обрат­ного действия) и воздухораспределитель 4 прицепа соединяет ресиверы 5 прицепа с его тормозными камерами 6, вследствие чего прицеп затормаживается. Интенсивность тор­можения при этом возрастает с уменьшением давления в магистрали 3.

Аналогичная ситуация происходит при отрыве прицепа от тягача (в этом случае за счет падения давления в маги­страли 3 прицеп будет автоматически затормаживаться).

Основным недостатком однопроводной схемы является так называе­мая «истощае­мость» - при неоднократных и частых торможениях, напри­мер, на спуске, сжатый воздух из ресивера прицепа расходуется, давление в нем падает, на получая подзарядки из ком­прессора. В конечном итоге это может привести к невозможности торможения прицепа. По этой причине в настоящее время на подавляющем большинстве автопоездов применя­ется двухпроводная схема (б). Внешним ее отличием является соединение тор­мозных сис­тем тягача и прицепа двумя пневмолиниями: питающей 3 и управляющей 7.

У двухпроводной схемы подкачка ресиверов 5 прицепа происходит постоянно по­средством питающей магистрали 3.

При нажатии на тормоз­ную педаль 1 давление в управляющей магистрали 7 уве­личивается (для управления прицепом при такой схеме используется тормозной кран 2 прямого действия) и воздухораспределитель 4 прицепа соединяет реси­веры 5 прицепа с его тормозными камерами 6, вследствие чего прицеп за­тормаживается. Интенсивность торможения при этом возрастает с возрастанием давления в магистрали 7.

При отрыве прицепа от тягача также происходит автома­тическое торможение при­цепа (в этом случае воздухораспределитель 4 среагирует на падение давления в питающей магистрали 3).

Двухпроводная схема по сравнению с однопроводной сложнее и до­роже (требу­ется двойной комплект соединительной аппаратуры), менее удобна в обслуживании, не­достаточно гибка в регулировании нужной по­следовательности торможения звеньев ав­топоезда. Однако благодаря меньшему времени срабатывания (в 1,5 – 2 раза) и постоян­ному пополне­нию сжатого воздуха на прицепе двухпроводная схема обеспечивает более надежную и эффективную работу тормозной системы автопоезда.

При комбинированной схеме к тягачу могут присоединяться прицепы, оборудован­ные как для однопроводной, так и для двухпроводной схемы. При этом на тягаче устанав­ливается три соединительных головки: одна – для соединения с тормозной системой при­цепа, оборудованного для одно­проводной схемы; другие две – для соединения по двух­проводной схеме.

Гидравлическая часть комбинированного тормозного гидропневма­тического при­вода является его исполнительной частью, обеспечивает од­новременное начало тормо­жения всех колес автомобиля и обладает дру­гими преимуществами, свойственными гидроприводу; пневматическая часть – является командной, обеспечивает легкость управления и позво­ляет передать тормозные усилия на буксируемый прицеп.

Применение электропневматического привода тормозных механиз­мов целесооб­разно на длинномерных автопоездах. Один из основных не­достатков тормозного пнев­мопривода – повышенное время срабатывания больше всего сказывается на торможении многозвенных автопоездов, так как наряду с увеличением тормозного пути часто на­блюдается нарушение устойчивости автопоезда (в виде так называемого «складыва­ния»). В со­временных электропневматических приводах применяется электронное управление процессом регулирования давления, при котором обеспечива­ется не только следящее действие на всех режимах торможения, но и регу­лируется распределение тор­мозных сил между мостами, что определяет как тормозную эффективность, так и устой­чивость автопоезда.

 

<== предыдущая лекция | следующая лекция ==>
Рулевое управление | Основы теории эксплуатационных свойств АТС
Поделиться с друзьями:


Дата добавления: 2014-01-03; Просмотров: 1460; Нарушение авторских прав?; Мы поможем в написании вашей работы!


Нам важно ваше мнение! Был ли полезен опубликованный материал? Да | Нет



studopedia.su - Студопедия (2013 - 2026) год. Все материалы представленные на сайте исключительно с целью ознакомления читателями и не преследуют коммерческих целей или нарушение авторских прав! Последнее добавление




Генерация страницы за: 0.018 сек.