Студопедия

КАТЕГОРИИ:


Архитектура-(3434)Астрономия-(809)Биология-(7483)Биотехнологии-(1457)Военное дело-(14632)Высокие технологии-(1363)География-(913)Геология-(1438)Государство-(451)Демография-(1065)Дом-(47672)Журналистика и СМИ-(912)Изобретательство-(14524)Иностранные языки-(4268)Информатика-(17799)Искусство-(1338)История-(13644)Компьютеры-(11121)Косметика-(55)Кулинария-(373)Культура-(8427)Лингвистика-(374)Литература-(1642)Маркетинг-(23702)Математика-(16968)Машиностроение-(1700)Медицина-(12668)Менеджмент-(24684)Механика-(15423)Науковедение-(506)Образование-(11852)Охрана труда-(3308)Педагогика-(5571)Полиграфия-(1312)Политика-(7869)Право-(5454)Приборостроение-(1369)Программирование-(2801)Производство-(97182)Промышленность-(8706)Психология-(18388)Религия-(3217)Связь-(10668)Сельское хозяйство-(299)Социология-(6455)Спорт-(42831)Строительство-(4793)Торговля-(5050)Транспорт-(2929)Туризм-(1568)Физика-(3942)Философия-(17015)Финансы-(26596)Химия-(22929)Экология-(12095)Экономика-(9961)Электроника-(8441)Электротехника-(4623)Энергетика-(12629)Юриспруденция-(1492)Ядерная техника-(1748)

Релейно-контакторная аппаратура




 

Широкое применение в простейших схемах автоматизированного электропривода находит релейно-контакторная аппаратура, основ­ными элементами которой являются контакторы и электромагнит­ные реле.

Контактор представляет собой электромагнитный аппарат дис­танционного действия, предназначенный для оперативных пере­ключений силовых цепей двигателей, электротехнических установок и других потребителей.

Контакторы классифицируются по роду тока (постоянного и переменного тока); по числу полюсов (одно-, двух-, многополюс­ные); по конструкции электромагнита (с прямоходным якорем и с якорем клапанного типа); по способу гашения дуги (с дугогасительной катушкой, с дугогасительной камерой и т. п.).

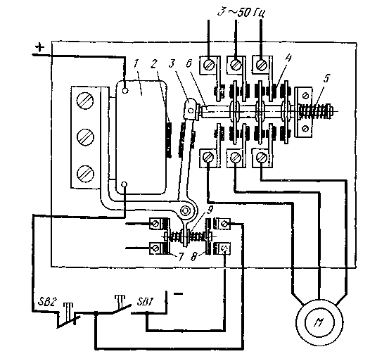
1- катушка; 2 - железный сердечник; 3 - подвижный якорь; 4 - главные контакты; 5 - возвратная пружина; 6 - изоляционный валик; 7,8 - блок-контакты Рисунок 1 – Схема электромагнитного контактора постоянного тока
Основными элементами контактора (рис. 1) являются втяги­вающий электромагнит (катушка) 1, железный сердечник 2, под­вижный якорь 3, главные контакты 4, вспомогательные контакты (блок-контакты) 7, 8, возвратная пружина 5. При нажатии на пусковую кнопку SB1 включается катушка 1 контактора, которая при этом возбуждается и притягивает якорь 3. Якорь с помощью изоляционного валика 6 жестко соединен с главными подвижными контактами и посредством рычажка 9 — с подвижными блок-контактами 7, 8. Контакты при этом переключаются. Главные кон­такты 4 замыкаются, присоединяя электродвигатель М к сети. Блок-контакты 8 (замыкающие) при этом замыкаются, а блок-контакты 7 (размыкающие) размыкаются.

Для остановки двигателя нажимают кнопку SB2 (стоп). Ка­тушка контактора обесточивается, якорь под действием возврат­ной пружины 5 и собственной массы отпадает, главные контакты 4 размыкаются, двигатель отключается от сети.

Таким образом, все контакты контактора делятся на замыкаю­щие и размыкающие. Замыкающие контакты 4 и 8 при включен­ной катушке данного аппарата замкнуты, а при отключенной ка­тушке разомкнуты. Размыкающие контакты 7 при включенной катушке разомкнуты, а при отключенной замкнуты. Как отмечалось, контакторы могут иметь катушки постоянного и переменного тока. Более надежно работают контакторы с катушками постоянного тока, у которых отсутствуют гудение, вибрация, а пусковые броски тока минимальны. По этой при­чине в электроприводе металлургических механизмов и агре­гатов используют в основном контакторы с катушками постоян­ного тока, получающими питание от специального выпрямителя небольшой мощности. Время включения контакторов состав­ляет 0,05—0,5 с, а время отключения 0,03—0,05 с.

Промежуточными называются многоконтактные элек­тромагнитные реле, используемые с целью «размноже­ния» поступающих на его вход сигналов, а иногда для их уси­ления. Серийно выпускаемые универсальные промежуточные реле имеют от 2 до 10 пар контактов. Катушки их рассчитаны на номинальные напряжения 24—660В; контакты на номи­нальный ток 0,4—10А; механическая износостойкость контак­тов 16·106 циклов.

Рисунок 2 - Схема устройства геркона  
Все более широкое применение находят промежуточные герконовые реле с электромагнитной памятью (рис. 2). Геркон 1 помещен в магнитное поле магнитотвердого феррита 4 с наконечниками 2. Импульс тока в катушке 3 приводит к срабатыванию реле — контакты 1 замыкаются, оставаясь замкнутыми и после окончания импульса тока управления за счет намагничивания ферритового сердечника. Для отпускания реле необходимо подать импульс тока обратного направления. Значение этого обрат­ного тока должно быть таким, чтобы ферритовый сердечник размагнитился, но не перемагнитился, иначе контакты снова замкнутся. Число контактов 1:10; потребляемая мощность ка­тушки 0,1—2,0Вт. Достоинствами герконов являются высокое быстродействие, износоустойчивость (до 109 срабатываний), малые габариты, невысокая стоимость.

а —схема; б — графики изменения магнитного потока; в —условные обозначения (КТ — катушка, КТ΄΄ — замыкающий контакт с выдержкой времени при замыкании; КТ΄- замыкающий контакт с выдержкой времени при размыкании; КТ΄΄΄ - размыкающий контакт с выдержкой времени при замыкании) Рисунок 3 - Электромагнитное реле времени  
По ходу многих технологических процессов часто требуются временные задержки (выдержки времени) между технологиче­скими операциями. Для требуемого в этих случаях отсчета вре­мени используются реле времени различных типов: электромагнитные, тепловые, пневматические, полупроводниковые, двига­тельные, реле с часовым механизмом и т. п. Наибольшее применение в схемах электропривода находят электромагнитные реле времени постоянного тока. Выдержка времени обеспечива­ется благодаря замедлению отпадания якоря реле после отклю­чения его катушки. Для замедления отпадания якоря на магните-провод 2 (рис. 3, а) насажена массивная металлическая гильза 3. После отключения катушки 1 действовавший в сердечнике магнитный поток Фн спадает по кривой 1 (рис. 3,б). Этот из­меняющийся поток наводит э.д.с. в короткозамкнутом витке (гильзе). В нем появляется ток, который создает дополнитель­ный магнитный поток (кривая 3), препятствующий (по правилу Ленца) исчезновению основного магнитного потока. Результи­рующий магнитный поток в сердечнике (кривая 2) спадает бо­лее замедленно. Отпадание якоря 6 (после отключения ка­тушки) происходит при снижении ее магнитного потока до величины Фот, при которой электромагнитная сила притяжения станет меньше отрывающего усилия пружины 4. Как видно из рис. 4, выдержка времени реле при наличии короткозамкнутого витка увеличивается и достигает величины tв. Для грубого регулирования выдержки времени между якорем и сердечником крепят тонкую (0,1—0,5 мм) немагнитную прокладку 7, с помощью которой изменяется индуктивность магнитной цепи реле, а следовательно, и выдержка времени. При наличии про­кладки номинальный магнитный поток снижается, и выдержка времени уменьшается. Более тонкое регулирование выдержки времени осуществляется винтом 5. При уменьшении натяжения пружины 4 увеличивается выдержка времени, так как умень­шается величина Фот.

 




Поделиться с друзьями:


Дата добавления: 2015-07-13; Просмотров: 1904; Нарушение авторских прав?; Мы поможем в написании вашей работы!


Нам важно ваше мнение! Был ли полезен опубликованный материал? Да | Нет



studopedia.su - Студопедия (2013 - 2026) год. Все материалы представленные на сайте исключительно с целью ознакомления читателями и не преследуют коммерческих целей или нарушение авторских прав! Последнее добавление




Генерация страницы за: 0.009 сек.