Студопедия

КАТЕГОРИИ:


Архитектура-(3434)Астрономия-(809)Биология-(7483)Биотехнологии-(1457)Военное дело-(14632)Высокие технологии-(1363)География-(913)Геология-(1438)Государство-(451)Демография-(1065)Дом-(47672)Журналистика и СМИ-(912)Изобретательство-(14524)Иностранные языки-(4268)Информатика-(17799)Искусство-(1338)История-(13644)Компьютеры-(11121)Косметика-(55)Кулинария-(373)Культура-(8427)Лингвистика-(374)Литература-(1642)Маркетинг-(23702)Математика-(16968)Машиностроение-(1700)Медицина-(12668)Менеджмент-(24684)Механика-(15423)Науковедение-(506)Образование-(11852)Охрана труда-(3308)Педагогика-(5571)Полиграфия-(1312)Политика-(7869)Право-(5454)Приборостроение-(1369)Программирование-(2801)Производство-(97182)Промышленность-(8706)Психология-(18388)Религия-(3217)Связь-(10668)Сельское хозяйство-(299)Социология-(6455)Спорт-(42831)Строительство-(4793)Торговля-(5050)Транспорт-(2929)Туризм-(1568)Физика-(3942)Философия-(17015)Финансы-(26596)Химия-(22929)Экология-(12095)Экономика-(9961)Электроника-(8441)Электротехника-(4623)Энергетика-(12629)Юриспруденция-(1492)Ядерная техника-(1748)

Бесконтактная аппаратура. Датчики




Бесконтактная аппаратура находит все более широкое приме­нение в электрооборудовании металлургических цехов благо­даря таким достоинствам, как высокая допустимая частота включений, долговечность, быстродействие, надежность, срав­нительно малая чувствительность к влиянию окружающей среды, отсутствие потребности в регулировке и уходе в процессе эксплуатации, широкие возможности в отношении глубины авто­матизации технологических процессов и т. п. В бесконтактных системах автоматического управления функции реле выполняют логические элементы, а функцию контакторов—бесконтактные переключающее (выходные) устройства. В качестве командоаппаратов используются бесконтактные аппараты, в основном сельсинного типа, типа вращающегося трансформатора и т. п. Для контроля различных физических величин используются разнообразные датчики: скорости, тока, э. д. с, температуры, положения и т. п.

Датчики положения служат для контроля положения машины или ее отдельных элементов в пространстве и для ограничения их движения. В электроприводе металлургических машин и агрегатов широко используются путевые датчики, ко­нечные выключатели. В качестве путевых, конечных выключа­телей используются в основном контактные аппараты механического, нажимного, рычажного, вращающегося действия.

В бесконтактных системах управления в качестве датчиков положения и задающих (командных) устройств широко используются сельсинные командоаппараты в рычажном, маховичном и педальном исполнениях.


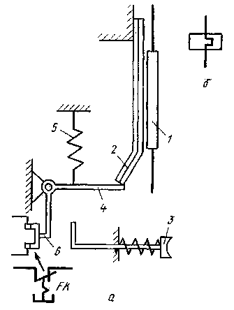
а —схема; б — статическая характеристика; в —услов­ное обозначение Рисунок 5 - Сельсннный командоаппарат  
На рис. 5, а представлена схема сельсинного командоаппарата. Однофазная статорная обмотка возбуждения сельсина ОВ получает питание от сети переменного тока частотой 50 Гц. Она создает пульсирующий магнитный поток, который индуктирует в каждой фазе вторичной трехфазной обмотки 1,2 и 3 сельсина э. д. с., величины которых зависят от взаимного расположения каждой из вторичных обмоток относительно первичной, т.е. от угла β. Выходным напряжением сельсина является разность э. д. с. фаз 1 и 3 ро­тора (обмотка 2 не используется)

где β — угол сдвига фаз вторичной и первичной обмоток; Еmax— максимальное значение индуктируемой э. д. с. при сов­падении оси данной обмотки (1или 3 ) с осью обмотки ОВ (рис. 5,б).

Нулевое напряжение на выходе имеет место, когда ось первичной обмотки ОВ совпадет с осью вторичной фазовой обмотки 2. Изменением угла поворота ротора сельсина, можно изме­нять величину управляющего сигнала, подаваемого в схему уп­равления электроприводом, и тем самым управлять работой двигателя (включать, отключать, изменять скорость и т.п.). Рукоятка бесконтактного командоаппарата имеет ряд положений, фиксируемых с помощью фрикциона. Выходное напря­жение сельсина составляет 0—10 В, выходной ток до 0,4 А. Вы­ходное напряжение сельсина через трансформатор подается в фазочувствительное выпрямительное устройство ФЗУ и далее, после его преобразования, в схему управления. При исполь­зовании сельсина в качестве датчика положения на его ротор воздействует перемещающийся механизм.

Содержание отчета

Тема работы

Цель работы

Оборудование и материалы

Ход работы: схемы и принцип действия электромагнитного контактора постоянного тока, теплового реле, электромагнитного реле времени, герконового реле, сельсинного командоаппарата

Контрольные вопросы с ответами в соответствии с вариантом по номеру в журнале.

Вывод о проделанной работе

 

 

Рисунок 4 - Схема устройства геркона  

 

1- катушка; 2 - железный сердечник; 3 - подвижный якорь; 4 - главные контакты; 5 - возвратная пружина; 6 - изоляционный валик; 7,8 - блок-контакты Рисунок 1 – Схема электромагнитного контактора постоянного тока

1 — нагревательный элемент; 2 — биметал­лическая пластина; 3 — кнопка; 4 — ры­чаг; 5 — пружина; 6 — контакты Рисунок 2 - Схема теплового реле и условное обозначе­ние и контакта (а) и нагревательного элемента (б)  
а —схема; б — графики изменения магнитного потока; в —условные обозначения (КТ — катушка, КТ΄΄ — замыкающий контакт с выдержкой времени при замыкании; КТ΄- замыкающий контакт с выдержкой времени при размыкании; КТ΄΄΄ - размыкающий контакт с выдержкой времени при замыкании) Рисунок 3 - Электромагнитное реле времени  

 

 

а —схема; б — статическая характеристика; в —услов­ное обозначение Рисунок 5 - Сельсннный командоаппарат  




Поделиться с друзьями:


Дата добавления: 2015-07-13; Просмотров: 983; Нарушение авторских прав?; Мы поможем в написании вашей работы!


Нам важно ваше мнение! Был ли полезен опубликованный материал? Да | Нет



studopedia.su - Студопедия (2013 - 2026) год. Все материалы представленные на сайте исключительно с целью ознакомления читателями и не преследуют коммерческих целей или нарушение авторских прав! Последнее добавление




Генерация страницы за: 0.008 сек.