Студопедия

КАТЕГОРИИ:


Архитектура-(3434)Астрономия-(809)Биология-(7483)Биотехнологии-(1457)Военное дело-(14632)Высокие технологии-(1363)География-(913)Геология-(1438)Государство-(451)Демография-(1065)Дом-(47672)Журналистика и СМИ-(912)Изобретательство-(14524)Иностранные языки-(4268)Информатика-(17799)Искусство-(1338)История-(13644)Компьютеры-(11121)Косметика-(55)Кулинария-(373)Культура-(8427)Лингвистика-(374)Литература-(1642)Маркетинг-(23702)Математика-(16968)Машиностроение-(1700)Медицина-(12668)Менеджмент-(24684)Механика-(15423)Науковедение-(506)Образование-(11852)Охрана труда-(3308)Педагогика-(5571)Полиграфия-(1312)Политика-(7869)Право-(5454)Приборостроение-(1369)Программирование-(2801)Производство-(97182)Промышленность-(8706)Психология-(18388)Религия-(3217)Связь-(10668)Сельское хозяйство-(299)Социология-(6455)Спорт-(42831)Строительство-(4793)Торговля-(5050)Транспорт-(2929)Туризм-(1568)Физика-(3942)Философия-(17015)Финансы-(26596)Химия-(22929)Экология-(12095)Экономика-(9961)Электроника-(8441)Электротехника-(4623)Энергетика-(12629)Юриспруденция-(1492)Ядерная техника-(1748)

Часть раздаточной коробки автомобиля




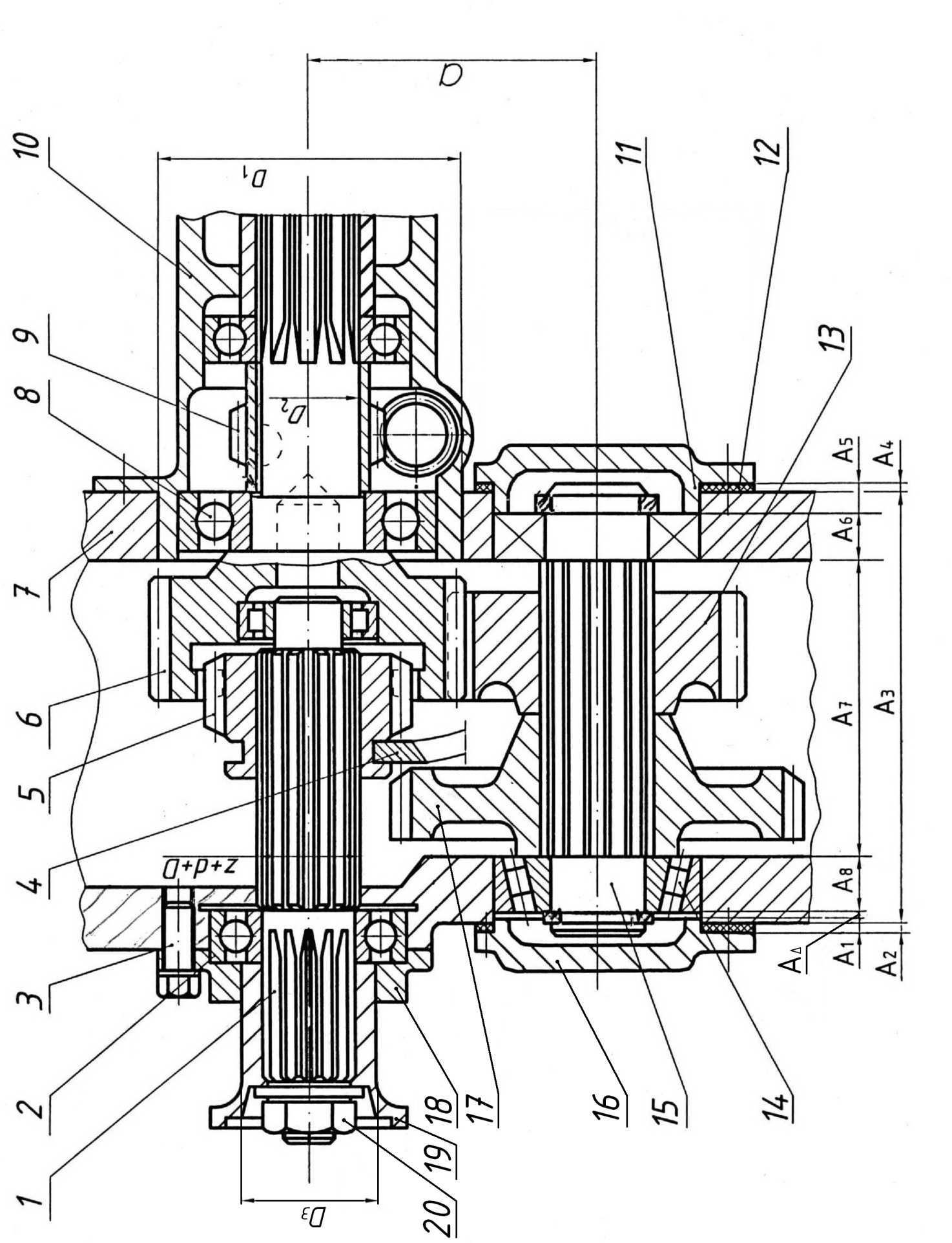
На рис.3 изображена часть раздаточной коробки автомобиля; эта коробка служит для передачи крутящего момента к ведущим мостам автомобиля.

Зубчатое колесо 5 включения заднего моста перемещается по шлицам передаточного вала 1 с помощью вилки 4. Правый конец вала опирается на подшипник качения, установленный в гнездо зубчатого колеса 6, изготовленного как одно целое с вторичным валом.

Левый конец вала 1 имеет подшипник 2, который закрыт крышкой 18, которая установлена на крыльчатке 19 по D3 с незначительным зазором и крепится винтами 3 с нормальной длиной свинчивания к корпусу 7.

Величина зазора должна быть строго выдержана (оговорено заданием). Гайка 20, которая закрепляет крыльчатку, имеет короткую длину свинчивания.

На хвостовике вторичного вала 6 по D2 на сегментной шпонке с незначительным зазором установлено зубчатое колесо 9 привода спидометра.

В корпус 10 установлен подшипник 8 вторичного вала. Корпус 10 точно центрируется по D1 в корпусе раздаточной коробки 7.

На шлицевом валу 15 смонтированы промежуточное колесо 13 и зубчатое колесо понижающей передачи 17. При положении, указанном на чертеже, включена прямая передача; при введении зубчатого колеса 5 в зацепление с зубчатым колесом 17, включается понижающая передача.

Шлицы в отверстиях зубчатых колёс закаливаются.

Зубчатая передача среднескоростная, колёса стальные с нагревом до

+70 º С, корпус раздаточной коробки изготавливается из силумина и нагревается до +60 º С.

Крышки подшипников 16 и 11 должны свободно устанавливаться в отверстия корпуса, так как их подтяжкой регулируются зазоры в конических подшипниках 14. Крышки подшипников крепятся при помощи болтов, имеющих резьбу нормальной длины свинчивания.

Подшипники качения испытывают умеренные толчки и вибрации и при работе имеют перегрузки до 300 %. Между крышкой 16 и подшипником 14 предусмотрен тепловой зазор, величина которого обеспечивается расчетом размерной цепи.

 

 
 

 


 





Поделиться с друзьями:


Дата добавления: 2015-07-13; Просмотров: 661; Нарушение авторских прав?; Мы поможем в написании вашей работы!


Нам важно ваше мнение! Был ли полезен опубликованный материал? Да | Нет



studopedia.su - Студопедия (2013 - 2026) год. Все материалы представленные на сайте исключительно с целью ознакомления читателями и не преследуют коммерческих целей или нарушение авторских прав! Последнее добавление




Генерация страницы за: 0.01 сек.