Студопедия

КАТЕГОРИИ:


Архитектура-(3434)Астрономия-(809)Биология-(7483)Биотехнологии-(1457)Военное дело-(14632)Высокие технологии-(1363)География-(913)Геология-(1438)Государство-(451)Демография-(1065)Дом-(47672)Журналистика и СМИ-(912)Изобретательство-(14524)Иностранные языки-(4268)Информатика-(17799)Искусство-(1338)История-(13644)Компьютеры-(11121)Косметика-(55)Кулинария-(373)Культура-(8427)Лингвистика-(374)Литература-(1642)Маркетинг-(23702)Математика-(16968)Машиностроение-(1700)Медицина-(12668)Менеджмент-(24684)Механика-(15423)Науковедение-(506)Образование-(11852)Охрана труда-(3308)Педагогика-(5571)Полиграфия-(1312)Политика-(7869)Право-(5454)Приборостроение-(1369)Программирование-(2801)Производство-(97182)Промышленность-(8706)Психология-(18388)Религия-(3217)Связь-(10668)Сельское хозяйство-(299)Социология-(6455)Спорт-(42831)Строительство-(4793)Торговля-(5050)Транспорт-(2929)Туризм-(1568)Физика-(3942)Философия-(17015)Финансы-(26596)Химия-(22929)Экология-(12095)Экономика-(9961)Электроника-(8441)Электротехника-(4623)Энергетика-(12629)Юриспруденция-(1492)Ядерная техника-(1748)

А - мод 2Н125, б - мод 2Н135

Коробки скоростей. Наиболее распространенные отечественные вертикально-свер­лильные станки мод. 2А125 и 2А135 имеют многоваловые 9-скоростные коробки скоростей со знаменателем геометрической прогрессии ф = 1,41 и диапазоном регулирования R = 16, по­строенные по структуре 3x3. Для этих станков разработаны новые унифицированные коробки скоростей (рис. 6.21). Габарит сверлильной головки станка модели 2Н125 позволяет разместить в ней двенадцатиступенчатую ко­робку скоростей, имеющую не более четырех валов (рис. 6.21- 6, а), поэтому она выполнена по обычной многоваловой схеме со струк­турной формулой 3x2x2 с повышающей передачей на шпиндель. Коробки скоростей станков мод. 2Н135 (рис. 6.21, б) вы­полнены по сложенной схеме со структурной формулой (3x2) + (3x2). С первого вала 8 на второй вал 7 вращение передается с помощью одного передвижного тройного блока 9. С вала 7 передача последовательно идет на валы 6, 5 и 1 соответственно через двойной блок 12, зубчатые колеса 13, 14, 4 и блок 2. По этой кинематической цепи шпиндель получает шесть низких скоростей. Шесть высоких скоростей обеспечиваются по укороченной цепи: от колес, расположенных на валу 7, через блок 2У который имеет три фиксированных положения. В этом случае блок 12 находится в нейтральном положении, в результате чего валы 6 и 5 отклю­чены. Такая схема позволяет существенно понизить шум коробки скоростей и повысить ее КПД. В этих коробках количество уни­фицированных деталей достигает 80%.

Конструкция коробок скоростей во многом зависит от компо­новки станка. Станки мод, 2А125 и 2А135, скомпонованные по типу кронштейн, имеют вытянутую коробку скоростей, у которых электродвигатель на лапах расположен вертикально и крепится к задней стенке коробки скоростей. Электродвигатель с первым валом связан через ременную передачу. Станки новой гаммы вы­полнены по компоновке типа агрегат. Здесь в качестве привода главного движения применен односкоростной фланцевый асин­хронный электродвигатель вертикального исполнения. С коробкой скоростей он связан через упругую муфту.

Опоры валов коробки скоростей размещены в двух плитах, верхней 3 и нижней 11, скрепленных между собою четырьмя стяжками 10. Вал 1 коробки скоростей - гильза со шлицевым отверстием, через которое передается вращение шпинделю станка. Все валы коробки скоростей шлицевые, что значительно упро­щает сборку. Коробка скоростей собирается отдельно независимо от других узлов и затем монтируется в сверлильную головку. Механизмы коробки скоростей, как и всей сверлильной головки, смазываются от плунжерного насоса, закрепленного на нижней плите коробки. Работа насоса контролируется с помощью специаль­ного маслоуказателя, установленного в верхней плите 3. Важно помнить, что если масло не поступает в контрольный глазок, ра­боту на станке следует прекратить, осмотреть насос и трубопровод. Для доступа к насосу смазки необходимо снять левую боковую крышку сверлильной головки. Смазка подшипников и зубчатых колес коробок скоростей и подач, а также механизма подач про­изводится маслом индустриальное 20 (ГОСТ 1707—51), которое нужно менять один раз в 3 мес.

Коробки подач вертикально-сверлильных станков новой гаммы представляют собой многоваловые механизмы, образованные путем последовательного соединения групповых передач. Коробки подач станков мод. 2Н118, 2Н125, 2Н135 и 2Н150 имеют соответственно 6, 9, 9 и 12 подач. В последних трех станках, изготовляемых на одном заводе, коробки подач широко унифицированы между собой. Они представляют собой трехваловые механизмы, построенные по структурным формулам 3x3 и 3x4 (рис. 6. 22).

В станках мод. 2Н125 (рис. 6.22, а) и 2Н135 девять различных подач обеспечивается двумя тройными зубчатыми блоками 5 и 9. Муфта 6, сидящая на валу 4, передает вращение через предо­хранительную муфту на червяк механизма подач. Коробки подач этих станков отличаются только передаточным отношением при­вода, т. е. кинематической цепью от шпинделя до первого вала коробки подач. В станке мод. 2Н135 движение от шпинделя пере­дается непосредственно на первый вал коробки подач через имею­щееся на нем зубчатое колесо, а в станке мод. 2Н125 - через колеса 1, 3 и 2, размещенные на консольных частях валов 7 и 8.

 

Рис. 6.22. Коробка подач вертикально-сверлильного станка

а - мод. 2Н125

Механизмы переключения скоростей и подач. В вертикально-сверлильных станках применяют следующие механизмы переключения скоростей и подач: однорукояточные, пресс-селективные, автоматические и многорукояточные. Исполь­зование того или иного механизма определяется назначением станка.

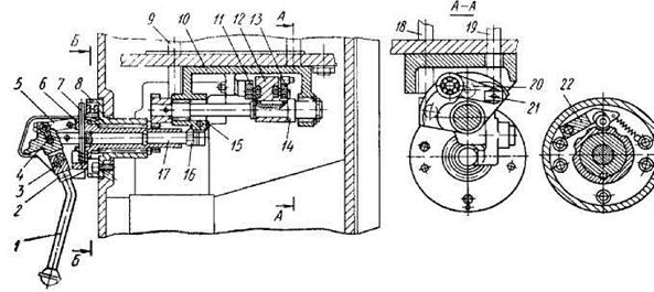
В универсальных станках мод. 2HU8, 2Ш25, 2Н135 и 2Н150 действуют однорукояточные механизмы переключения скоростей и подач (рис. 6.23). Они приводятся в действие рукояткой 1, которая имеет четыре положения по окружности и три вдоль оси поворота. Вращательное движение рукоятки 1 через ступицу 6 передается через пару зубчатых колес на вал 14. Ступица 6 смонтирована на игольчатых подшипниках во фланце 8, который жестко закреплен в корпусе сверлильной головки. Вал 14 также смонтирован на игольчатых подшипниках в корпусе 10, закрепленном на-нижней плите

 

Рис. 6.23. Однорукояточный механизм переключения скоростей в станке

<== предыдущая лекция | следующая лекция ==>
Конструкция сверлильных станков | Мод. 2Н135
Поделиться с друзьями:


Дата добавления: 2014-01-04; Просмотров: 2267; Нарушение авторских прав?; Мы поможем в написании вашей работы!


Нам важно ваше мнение! Был ли полезен опубликованный материал? Да | Нет



studopedia.su - Студопедия (2013 - 2026) год. Все материалы представленные на сайте исключительно с целью ознакомления читателями и не преследуют коммерческих целей или нарушение авторских прав! Последнее добавление




Генерация страницы за: 0.011 сек.