Студопедия

КАТЕГОРИИ:


Архитектура-(3434)Астрономия-(809)Биология-(7483)Биотехнологии-(1457)Военное дело-(14632)Высокие технологии-(1363)География-(913)Геология-(1438)Государство-(451)Демография-(1065)Дом-(47672)Журналистика и СМИ-(912)Изобретательство-(14524)Иностранные языки-(4268)Информатика-(17799)Искусство-(1338)История-(13644)Компьютеры-(11121)Косметика-(55)Кулинария-(373)Культура-(8427)Лингвистика-(374)Литература-(1642)Маркетинг-(23702)Математика-(16968)Машиностроение-(1700)Медицина-(12668)Менеджмент-(24684)Механика-(15423)Науковедение-(506)Образование-(11852)Охрана труда-(3308)Педагогика-(5571)Полиграфия-(1312)Политика-(7869)Право-(5454)Приборостроение-(1369)Программирование-(2801)Производство-(97182)Промышленность-(8706)Психология-(18388)Религия-(3217)Связь-(10668)Сельское хозяйство-(299)Социология-(6455)Спорт-(42831)Строительство-(4793)Торговля-(5050)Транспорт-(2929)Туризм-(1568)Физика-(3942)Философия-(17015)Финансы-(26596)Химия-(22929)Экология-(12095)Экономика-(9961)Электроника-(8441)Электротехника-(4623)Энергетика-(12629)Юриспруденция-(1492)Ядерная техника-(1748)

Блокинг-генераторы




Блокинг-генератором называют однокаскадный гене­ратор с сильной индуктивной обратной связью, служащий для генерирования коротких импульсов, близких по форме к прямоугольным. Обратная связь в блокинг-генераторах осуществляется с помощью специальных импульсных трансформаторов. Отличительной чертой блокинг-генераторов является большая скважность генерируемых импульсов, которая практически не может быть получена другими способами. Обычно длительность импульсов блокинг-генератора лежит в пределах от десятых долей микросекунды до десятых долей миллисекунды, а частота следования — от десятков герц до сотен килогерц.

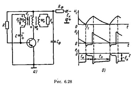
Рассмотрим работу блокинг-генератора с самовоз­буждением по одной из самых распространенных схем на транзисторе с общим эмиттером (рис. 6.28, а).

В цепь коллектора транзистора включена обмотка импульсного трансформатора , а в цепь базы — обмотка обратной связи между коллектором и базой . Нагрузка подключена к выходной повышающей обмотке ,что позволяет получить требуемые полярность и амплитуду выходных импульсов. Коллекторная и базовая обмотки включены встречно для обеспечения положительной обратной связи. Частота следования импульсов определяется времязадающей RС-цепью, под­ключенной к базе транзистора.

В качестве исходного примем состояние, при котором транзистор заперт, а конденсатор С, заряженный в предыдущем цикле работы до максимального напря­жения, медленно перезаряжается через резистор R и обмотку (см. рис. 6.28, б). Напряжение на базе положительно и транзистор удерживается в запертом состоянии. Когда в процессе перезарядки напряжение на базе, равное напряжению на конденсаторе (при медленном изменении тока напряжением на обмотке

можно пренебречь), достигнет нуля (момент времени t1), транзистор отпирается и появляются базовый и коллекторный токи. Приращение коллекторного тока вызывает в обмотке k ЭДС самоиндукции е1, за счет чего в обмотке наводится ЭДС взаимоиндукции e2 отрицательной относительно базы полярности. Процесс уменьшения напряжения на базе и соответствующего возрастания коллекторного и базового токов носит лавинообразный характер и заканчивается насыщением транзистора. В этот момент формируется фронт гене­рируемого импульса, а так как его длительность мала, то напряжение на конденсаторе практически не успевает измениться.

Затем начинается формирование вершины импульса. В это время ток базы не управляет током коллектора, скорость его изменения становится равной нулю и наводимая в обмотке ЭДС e2 начинает падать. В результате уменьшения базового тока в обмотке возникает ЭДС самоиндукции, препятствующая уменьшению базового тока и имеющая ту же полярность, что и ЭДС e2. Это приводит к быстрой зарядке конденса­тора С базовым током через малое сопротивление эмиттерного перехода насыщенного транзистора. Фор­мирование вершины импульса заканчивается в момент перехода транзистора из режима насыщения в активный режим.

При формировании среза импульса уменьшение коллекторного тока вызывает появление ЭДС е1, е2 в обмотках и . Их полярность обратна той, которая имела место при формировании фронта импульса. Благодаря действию положительной обратной связи в схеме возникает обратный лавинообразный процесс, во время которого токи коллектора и базы резко уменьшаются и транзистор запирается.

В связи с тем что процессы формирования фронта и среза импульса аналогичны, их длительность примерно одинакова. Инерционность транзисторов способствует некоторому удлинению фронта и среза генерируемых импульсов, однако для современных транзисторов их длительность не превышает десятков наносекунд.

Поскольку в момент запирания транзистора кол­лекторный ток не прекращается мгновенно, возникает ЭДС самоиндукции и на коллекторе появляется отрицательный выброс напряжения. Медленная разрядка

конденсатора определяет длительность паузы между импульсами, после чего процесс повторяется.

Блокинг-генератор можно перевести в ждущий режим, если запереть транзистор по базе положительным напряжением или по эмиттеру — отрицательным. Для запуска схемы необходимо подать отпирающий импульс, превышающий по амплитуде запирающее напряжение. При этом начинается описанный лавинообразный процесс, формируется один импульс и блокинг-генератор воз­вращается в исходное ждущее состояние.

 




Поделиться с друзьями:


Дата добавления: 2013-12-13; Просмотров: 2015; Нарушение авторских прав?; Мы поможем в написании вашей работы!


Нам важно ваше мнение! Был ли полезен опубликованный материал? Да | Нет



studopedia.su - Студопедия (2013 - 2026) год. Все материалы представленные на сайте исключительно с целью ознакомления читателями и не преследуют коммерческих целей или нарушение авторских прав! Последнее добавление




Генерация страницы за: 0.011 сек.