Студопедия

КАТЕГОРИИ:


Архитектура-(3434)Астрономия-(809)Биология-(7483)Биотехнологии-(1457)Военное дело-(14632)Высокие технологии-(1363)География-(913)Геология-(1438)Государство-(451)Демография-(1065)Дом-(47672)Журналистика и СМИ-(912)Изобретательство-(14524)Иностранные языки-(4268)Информатика-(17799)Искусство-(1338)История-(13644)Компьютеры-(11121)Косметика-(55)Кулинария-(373)Культура-(8427)Лингвистика-(374)Литература-(1642)Маркетинг-(23702)Математика-(16968)Машиностроение-(1700)Медицина-(12668)Менеджмент-(24684)Механика-(15423)Науковедение-(506)Образование-(11852)Охрана труда-(3308)Педагогика-(5571)Полиграфия-(1312)Политика-(7869)Право-(5454)Приборостроение-(1369)Программирование-(2801)Производство-(97182)Промышленность-(8706)Психология-(18388)Религия-(3217)Связь-(10668)Сельское хозяйство-(299)Социология-(6455)Спорт-(42831)Строительство-(4793)Торговля-(5050)Транспорт-(2929)Туризм-(1568)Физика-(3942)Философия-(17015)Финансы-(26596)Химия-(22929)Экология-(12095)Экономика-(9961)Электроника-(8441)Электротехника-(4623)Энергетика-(12629)Юриспруденция-(1492)Ядерная техника-(1748)

Деревянные модели и модельные плиты




 

Применяют при единичном и мелкосерийном производстве мелких и средних отливок. В зависимости от предъявляемых требований их подразделяют на три класса прочности. Деревянные модели изготовляют трех классов точности в соответствии с тремя классами прочности отливок.

Модельные комплекты первого класса прочности предназначены для длительного использования, второго класса – для периодического использования, третьего класса – для единичного производства неответственных, несложных отливок. Для изготовления моделей первого класса прочности используют заготовки, тщательно склеенные из тонких брусков с учетом направления годичных колец, с тем чтобы полностью предупредить коробление модели. Для моделей второго класса прочности заготовки склеивают менее тщательно, используя меньшее число брусков; для моделей третьего класса прочности заготовки склеивают из более толстых кусков.

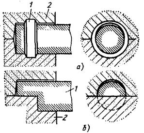
1 - стержень; 2 – форма.

а - кольцевой, предотвращающий перемещение стержня в осевом направлении;

б - с одним срезом, предотвращающий вращение стержня и перемещение в осевом направлении;

 

Рисунок - Стержневые фиксаторы

 

Отдельные части модели допускается делать из целого куска. Прочная модель лучше сохраняет свою точность. Поэтому модельные комплекты первого класса прочности изготовляют по I классу точности, второго класса прочности - I и II классам точности, а третьего — по III классу точности. Дерево является распространенным и недорогим материалом. Оно имеет малую плотность, легко обрабатывается, после чего получается гладкая, чистая поверхность. Недостатки дерева — гигроскопичность, возможность коробления, неоднородность строения и для некоторых пород недостаточная прочность и износостойкость. Для устранения короблении модели покрывают лаками и красками, формовочные уклоны деревянных моделей составляют 1—3°; чем выше модель, тем меньше формовочные уклоны. Уклоны на внутренних поверхностях модели делают больше, чем на наружных. Места соединения литейной формы со стержнем, называемые знаковыми частями, должны обеспечивать вполне определенное и устойчивое положение стержней в форме, поэтому знаковые части часто снабжают фиксаторами. Размеры и элементы стержневых знаков регламентируются ГОСТ 3606-80 и выбираются и зависимости от конструкции отливки и технологии изготовления формы. Между знаками формы и знаками стержней предусматривают зазоры, величина которых также выбирается по ГОСТ 3606-80 и зависит от размеров знаков и класса точности отливки.

Наиболее часто в модельном производстве используют сосну, ольху, бук, липу, ясень. Из сосны изготовляют средние и крупные модели. Сосна является самым дешевым материалом, легко обрабатывается, не склонна к загниванию. Из ольхи делают средние и мелкие модели, непрерывно находящиеся в работе. Обработанная поверхность получается гладкой. Бук и ясень применяют для изготовления особо прочных моделей. Липа относится к породам деревьев, древесина которых не обладает большой твердостью. Из нее изготовляют модели, предназначенные для получения небольшого числа отливок.

Процесс изготовления деревянной модели пли стержневого ящика складывается из следующих операции: выполнение в натуральную величину чертежа модели со знаковыми частями и т. п.; изготовление заготовок, их обработка (фрезерование, шлифование и пр.); сборка частей модели (склеиванием с помощью шпунтовых или шиповых соединений и пр.); контроль, приемка и окраска модели.

Модели красят масляной краской, затем покрывают щелочным лаком с целью получения гладкой рабочей поверхности и предохранения ее от воздействия влаги атмосферы и формовочной смеси. Окраску и маркировку проводят в соответствии с ГОСТ 2413—67. Для чугунного литья используют модели красного цвета, для стального — серого, для цветного — желтого. Стержневые знаки и другие не соприкасающиеся с металлом части окрашивают в черный цвет.

Металлические модели и плиты используются в основном в условиях крупносерийного и массового производства отливок. По сравнению с деревянными металлические модели имеют следующие преимущества: долговечность, большую точность и более гладкую рабочую поверхность. Их используют при машинной формовке, которая предъявляет определенные требования к конструкции и качеству модельной оснастки. Конструкция моделей, предназначенных для машинной формовки, должна быть максимально упрощена, даже за счет увеличения числа стержней.

 

 

1 - верхняя половина модели; 2 - знаковые части; 3 - нижняя половина модели

 

Рисунок – Деревянная модель

 

Это требует повышения точности моделей, центрирования отдельных элементов и узлов оснастки, а также надежности крепления их на модельных плитах. Материалами для металлических моделей и плит служат алюминиевые сплавы, чугун, сталь, бронза и латунь. Алюминиевые модели и плиты имеют малую массу, легко поддаются механической обработке и удобны в работе. Они не окисляются, постобработки приобретают гладкую поверхность. Недостатком алюминиевых моделей является их низкая прочность и малая износостойкость, что особенно сказывается в массовом производстве. Для не очень ответственных моделей используют сплавы АЛ24, АЛ26, для сложных и ответственных — АЛ22, АЛ28.

Чугунные модели прочны, дешевы, хорошо обрабатываются и после обработки имеют гладкую рабочую поверхность. Износостойкость чугуна значительно выше, чем алюминиевых сплавов. Недостатки чугунных моделей: большая масса и окисляемость. Для изготовления оснастки используют чугуны марок СЧ15, СЧ20.

Стальные модели и плиты отличаются высокой прочностью и износостойкостью. Для их изготовления используются стали марок 15Л—45Л, а также стальной прокат различного сортамента.

Бронзовые и латунные модели после обработки имеют очень гладкую поверхность, не окисляются; получаемый с их помощью отпечаток является наилучшим но качеству. Они более коррозийно-стойки, чем чугунные и стальные модели, по значительно тяжелее их. Их применяют сравнительно редко для изготовления небольших сложных отливок высокой точности и с повышенным качеством поверхности.

Легкими и жесткими являются облегченные модели — пустотелые, снабженные для жесткости ребрами, расположенными по внутренней полости.

Формовочные уклоны на металлических моделях делают меньше 0,5-10 вследствие того, что рабочие поверхности модели получаются более гладкими. Кроме того, металлические модели, как правило, применяют для машинной формовки, когда извлечение их из полуформ производится специальным механизмом.

Конструкция модельной плиты зависит главным образом от типа машины, на которой будет изготовляться полуформа, конструкции отливки, получаемой поданному модельному комплекту, и вида формы. Применяют модельные плиты трех разновидностей: для опочной формовки, для безопочной формовки и для изготовления оболочковых полуформ. Модельные плиты снабжают специальными лапками или приливами для крепления к столу машины. Для фиксирования опоки на плите они имеют минимум два штыря: один круглый — центрирующий, второй квадратный— направляющий. Центрирующий штырь предохраняет опоку от смещений в горизонтальном направлении, а направляющий — от смещений относительно поперечной оси плиты.

Процесс изготовления металлических моделей складывается из следующих операций: вычерчивание чертежа металлической модели; изготовление деревянной модели, предназначенной для получения металлической заготовки модели; литье металлической заготовки модели; ее механическая обработка; монтаж металлической модели на модельной плите; контроль и приемка металлической модельной оснастки.

 

1 — штырь центрирующий; 2 — модельная плита; 3 — верхняя половина модели; 4 — крепежный болт; 5 — штырь направляющий; 6 — контрольный штифт; 7 - модели литниковой системы

Рисунок – Расположение моделей отливки и литниковой системы на модельной плите

 

Размеры деревянной модели (промодели) для получения отливок металлических моделей увеличены в расчете на двойную усадку: сплава модели и сплава отливки. Промодель выполняется также с учетом припусков на обработку металлической модели. Литую металлическую модель подвергают тщательной механической обработке по рабочей поверхности, а также по поверхностям соприкосновения с модельной плитой. Затем обработанную модель монтируют на модельной плите.

Крепление половин моделей к плитам осуществляется винтами или болтами с нижней стороны плиты. В том случае, если половины моделей низкие, их крепят винтами сверху. Число и размеры винтов и болтов определяют в зависимости от формы и средних размеров половин модели.

 




Поделиться с друзьями:


Дата добавления: 2014-01-06; Просмотров: 2912; Нарушение авторских прав?; Мы поможем в написании вашей работы!


Нам важно ваше мнение! Был ли полезен опубликованный материал? Да | Нет



studopedia.su - Студопедия (2013 - 2026) год. Все материалы представленные на сайте исключительно с целью ознакомления читателями и не преследуют коммерческих целей или нарушение авторских прав! Последнее добавление




Генерация страницы за: 0.01 сек.