Студопедия

КАТЕГОРИИ:


Архитектура-(3434)Астрономия-(809)Биология-(7483)Биотехнологии-(1457)Военное дело-(14632)Высокие технологии-(1363)География-(913)Геология-(1438)Государство-(451)Демография-(1065)Дом-(47672)Журналистика и СМИ-(912)Изобретательство-(14524)Иностранные языки-(4268)Информатика-(17799)Искусство-(1338)История-(13644)Компьютеры-(11121)Косметика-(55)Кулинария-(373)Культура-(8427)Лингвистика-(374)Литература-(1642)Маркетинг-(23702)Математика-(16968)Машиностроение-(1700)Медицина-(12668)Менеджмент-(24684)Механика-(15423)Науковедение-(506)Образование-(11852)Охрана труда-(3308)Педагогика-(5571)Полиграфия-(1312)Политика-(7869)Право-(5454)Приборостроение-(1369)Программирование-(2801)Производство-(97182)Промышленность-(8706)Психология-(18388)Религия-(3217)Связь-(10668)Сельское хозяйство-(299)Социология-(6455)Спорт-(42831)Строительство-(4793)Торговля-(5050)Транспорт-(2929)Туризм-(1568)Физика-(3942)Философия-(17015)Финансы-(26596)Химия-(22929)Экология-(12095)Экономика-(9961)Электроника-(8441)Электротехника-(4623)Энергетика-(12629)Юриспруденция-(1492)Ядерная техника-(1748)

МДП-транзисторы




 

Комплементарные МДП-транзисторы.

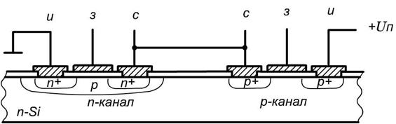
В комплементарных МДП ИС (КМОП) на одном кристалле изготавливаются МДП-транзисторы с n- и p-каналами. Для этого один из транзисторов делают в специальном кармане. В структуре, показанной на рис. 4.8, используется р-карман, в котором формируется n-канальный транзистор.

Рис. 4.8

МДП-транзисторы, получаемые методом двойной диффузии.

Структура такого МДП-транзистора аналогична структуре n-p-n транзистора рис. 4.9. Отличие в том, что n+слой, выполняющий роль истока, имеет почти такую же площадь, что и р-слой канала. Для этого диффузию донорной примеси для n+слоя проводят через то же самое окно в окисле, через которое проводили диффузию акцепторной примеси для р-слоя. Это позволяет получить толщину р-слоя, которая близка к длине канала около 1 мкм и менее, что обеспечивает граничную частоту усиления ~30 ГГц.

 

Рис. 4.9




Поделиться с друзьями:


Дата добавления: 2014-01-07; Просмотров: 432; Нарушение авторских прав?; Мы поможем в написании вашей работы!


Нам важно ваше мнение! Был ли полезен опубликованный материал? Да | Нет



studopedia.su - Студопедия (2013 - 2025) год. Все материалы представленные на сайте исключительно с целью ознакомления читателями и не преследуют коммерческих целей или нарушение авторских прав! Последнее добавление




Генерация страницы за: 0.008 сек.