Студопедия

КАТЕГОРИИ:


Архитектура-(3434)Астрономия-(809)Биология-(7483)Биотехнологии-(1457)Военное дело-(14632)Высокие технологии-(1363)География-(913)Геология-(1438)Государство-(451)Демография-(1065)Дом-(47672)Журналистика и СМИ-(912)Изобретательство-(14524)Иностранные языки-(4268)Информатика-(17799)Искусство-(1338)История-(13644)Компьютеры-(11121)Косметика-(55)Кулинария-(373)Культура-(8427)Лингвистика-(374)Литература-(1642)Маркетинг-(23702)Математика-(16968)Машиностроение-(1700)Медицина-(12668)Менеджмент-(24684)Механика-(15423)Науковедение-(506)Образование-(11852)Охрана труда-(3308)Педагогика-(5571)Полиграфия-(1312)Политика-(7869)Право-(5454)Приборостроение-(1369)Программирование-(2801)Производство-(97182)Промышленность-(8706)Психология-(18388)Религия-(3217)Связь-(10668)Сельское хозяйство-(299)Социология-(6455)Спорт-(42831)Строительство-(4793)Торговля-(5050)Транспорт-(2929)Туризм-(1568)Физика-(3942)Философия-(17015)Финансы-(26596)Химия-(22929)Экология-(12095)Экономика-(9961)Электроника-(8441)Электротехника-(4623)Энергетика-(12629)Юриспруденция-(1492)Ядерная техника-(1748)

Лекция 2. Фазы напряженно-деформированного состояния грунта. Принцип линейной деформируемости. Закон прочности Кулона – Мора. Закон ламинарной фильтрации Дарси

1. Фазы напряженно-деформированного состояния грунта изучаются с целью установления расчетных моделей деформирования грунтового основания, приемлемых для инженерных расчетов его прочности, устойчивости, сжимаемости, горизонтальных и угловых перемещений. В связи с этой проблемой традиционно рассматривается график (рис. 2.1) испытания грунтового основания штампом, изображающий зависимость осадки штампа от средних напряжений, действующих по его подошве. Предполагается, что в этом опыте отсутствует избыточное (по сравнению с атмосферным) поровое давление. Такие опыты, как уже отмечалось в лекции 1, называются опытами по дренированно-консолидированной схеме, а получаемые в таких опытах осадки называются стабилизированными (конечными). Предполагается также, что скорость нагружения в опыте достаточно мала, в результате чего деформации ползучести скелета грунта, если они имеют место при данном уровне нагружения, в основном успевают проявиться. По этой причине скорость нагружения в таких опытах регламентируется стандартами. Например, в штамповых опытах устанавливается (в общем случае, субъективный) критерий стабилизации осадки 0,01 мм за 2 часа. Анализ стабилизированных в указанном выше смысле графиков испытания основания штампом позволяет выделить следующие фазы напряженно-деформированного состояния грунта: 0 – фаза упругих деформаций; I – фаза уплотнения; II – фаза сдвигов; III – фаза выпора. Кратко охарактеризуем напряженно-деформированное состояние грунта в каждой из выделенных фаз.

Фаза упругих деформаций характеризуется уровнем напряжений в скелете грунта, не превышающим прочность структурных связей между минеральными частицами грунта или, что то же самое, структурной прочности грунта. Деформации грунта в этой фазе обратимы и пренебрежимо малы, т.к. обусловлены сжимаемостью минеральных частиц. Уровень напряжений, соответствующий концу этой фазы, называется структурной прочностью грунта рстр . и обычно не превышает 5–10 % допустимых на грунт давлений.

 

Рис. 2.1. Фазы напряженно-деформированного состояния грунта:
Рстр – структурная прочность; начРкр – начальное критическое давление;
предРкр – предельное критическое давление; R – расчетное сопротивление грунта;
0 – фаза упругой работы; I – фаза уплотнения; II – фаза сдвигов; III – фаза выпоров;
1 – основание в допредельном состоянии; 2 – зоны сдвигов; 3 – линии скольжения;
4 – зоны выпоров

Фаза уплотнения соответствует уровням напряжений в грунте, в диапазоне которых процесс его деформирования удовлетворительно подчиняется закону уплотнения Терцаги. Линейная зависимость между деформациями и напряжениями в этой фазе не является обратимой. При разгрузке штампа из диапазона давлений, соответствующего фазе уплотнения, грунт деформируется по линейной зависимости, не совпадающей с ветвью нагрузки. При полной разгрузке штампа (рис. 1.5) имеет место необратимая (пластическая) осадка, соответствующая нулевым напряжениям по подошве. Повторное нагружение штампа до уровня напряжений, достигнутых перед разгрузкой, происходит по графику, совпадающему с графиком разгрузки. Нагружение выше этого уровня происходит по закону первичной нагрузки. Таким образом, закон уплотнения Терцаги устанавливает линейную зависимость между напряжением и суммой упругой и пластической деформации грунта. Указанная особенность закона уплотнения формулируется как принцип линейной деформируемости: при простом нагружении грунта в фазе его уплотнения сумма упругой и пластической деформации линейно зависит от действующего напряжения. Коэффициентом пропорциональности в этой линейной зависимости является модуль деформации грунта Е, названный так в отличие от модуля упругости, характеризующего деформацию упругого тела. Модуль упругости грунта Ее определяется по графику разгрузки и является коэффициентом пропорциональности между упругой деформацией грунта и действующим напряжением. Модуль деформации используется в статических расчетах, а модуль упругости – в динамических расчетах грунтовых оснований.

Фаза сдвигов характеризует начало образования в грунте зон предельного равновесия. Зоной предельного равновесия в грунте называют геометрическое место точек, в которых не удовлетворяются условия прочности Кулона – Мора. Первоначально эти зоны образуются по краям штампа, где имеет место концентрация напряжений. Разрушение грунта сопровождается большими сдвиговыми деформациями, что нашло отражение в названии рассматриваемой фазы напряженно-деформированного состояния грунта. Уплотнение грунта в этой фазе практически не происходит. Грунт считается несжимаемым, а коэффициент Пуассона в этой фазе близок к 0,5. Давление на грунт, соответствующее началу фазы сдвигов, называют начальным критическим давлением – нач.ркр.

Фаза выпора является следствием развития фазы сдвигов в области грунтового массива, являющегося основанием штампа, с образованием поверхностей скольжения, отделяющих основание штампа от нижележащего грунтового массива. В результате этого осадки штампа происходят без увеличения нагрузки за счет перемещения грунта основания из-под штампа по плоскостям скольжения с выходом на поверхность грунтового массива. При этом вокруг штампа происходит поднятие (выпор) грунта, что нашло отражение в названии этой фазы. Непосредственно под штампом в фазе выпора образуется коническая переуплотненная зона, называемая ядром жесткости. Прочность этой зоны обусловлена боковыми давлениями со стороны окружающего грунта, находящегося в состоянии пластического течения. Как известно, коэффициент бокового давления в грунте в состоянии пластического течения стремится к единице. Таким образом, жесткое ядро находится до исчерпания несущей способности основания в состоянии компрессионного сжатия, близкого к трехосному сжатию, что и определяет его высокую прочность. В зонах пластического течения недоуплотненные грунты получают дополнительное уплотнение, а переуплотненные – разуплотняются. Это явление называется дилатансией. Давление, при котором наступает фаза выпора, называется предельным критическим давлением – пред.ркр.

В соответствии с охарактеризованными выше фазами напряженно-деформированного состояния грунта применяются следующие его расчетные модели:

Уровень напряжений р Расчетная модель Характеристики модели Методы анализа
p £ pстр . Упругая среда Модуль упругости Теория упругости
pстр . < p < нач.pкр . Линейно-деформируемая неупругая среда Модуль деформации при нагрузке и модуль упругости при разгрузке Теория упругости анизотропной среды
нач.pкр . £ p < пред.pкр . Упругопластическая среда Функциональная зависимость деформаций от напряжений Теория пластичности
p ³ пред.pкр . Дилатирующая среда Модули дилатансии (дилатации и контракции) Дилатансионная теория

 

2. Закон прочности Кулона – Мора устанавливает условия, при которых грунт деформируется без увеличения напряжений за счет изменения формы. При этом его объемная деформация предполагается неизменной (принцип несжимаемости в стадии пластического течения). Из приведенного определения становится очевидным невозможность определения прочностных характеристик грунта в опыте на компрессионное сжатие. По этой причине используют схемы испытаний, в которых нагружение сопровождается развитием сдвиговых напряжений и деформаций. Нашли распространение следующие схемы испытаний: срез по фиксированной плоскости (испытание грунта в срезном приборе); плоский сдвиг объема грунта в состоянии компрессионного сжатия (скашивание образца грунта в срезном приборе); сжатие грунта в условиях переменного бокового давления (испытание в стабилометре). Наиболее надежные результаты дают испытания в стабилометре. Тем не менее, самым распространенным способом определения прочностных характеристик грунта является испытание его в срезном приборе.

Если понятие прочности связного грунта не выходит за рамки традиционных представлений о прочности строительных материалов, то понятие прочности несвязных (сыпучих) грунтов требует дополнительных пояснений. Например, литературная метафора «строить замки на песке» начисто отрицает наличие прочностных свойств у песчаных оснований. В то же самое время строительная практика утверждает, что основание из крупнозернистого песка являются одним из самых надежных видов оснований. Механизм прочности несвязных грунтов заключается в следующем. Под действием сжимающих напряжений в грунте, в том числе, вызванных его собственным весом, на контактных поверхностях минеральных частиц возникают силы трения, препятствующие взаимным перемещениям частиц. Кроме этого, между минеральными частицами, пересекающими условную плоскость, имеются зоны зацепления (взаимного проникновения), создающие нагельный эффект. Таким образом, при сдвиге грунта по фиксированной плоскости возникает реакция, равная сумме сил трения по контактным поверхностям минеральных частиц. После преодоления сил трения происходит сдвиг грунта по фиксированной плоскости. При наличии зацепления между частицами сдвиг сопровождается переупаковкой минеральных частиц скелета грунта (рис. 2.2). Переупаковка скелета вызывает вначале доуплотнение грунта (контракция), а при дальнейшем сдвиге – разуплотнение грунта (дилатация). В предельном состоянии сдвиг грунта по фиксированной плоскости происходит без увеличения сдвигающей нагрузки. Таким образом, прочность несвязного грунта определяется уровнем действующих в нем сжимающих напряжений. Совершенно очевидно, что такой грунт не имеет прочности при одноосном напряженном состоянии, однако может обладать достаточно высокой прочностью при других видах напряженного состояния, которые возникают в грунтовом массиве при передаче на него нагрузок от фундаментов.

Рис. 2.2. Схемы дилатансионных явлений в песчаных и крупнообломочных грунтах: а – исходное состояние; б – контракция – доуплотнение от действия сдвиговых напряжений t; в – дилатация – разуплотнение под действием сдвиговых напряжений t; h – исходная высота образца; Dhd – уменьшение высоты образца за счет контракции; Dhk – увеличение высоты образца за счет дилатации

В первоначальном виде закон прочности сыпучей среды был сформулирован Кулоном в следующем виде: касательные напряжения на площадке сдвига в состоянии предельного равновесия грунта пропорциональны нормальным напряжениям, действующим на этой площадке. В последствии этот закон был распространен на связные грунты, обладающие отличной от нуля прочностью при нулевых значениях нормальных напряжений на площадке сдвига. На рис. 2.3 представлены графические построения, связанные с выводами различных форм представления закона прочности Кулона–Мора.

Рис. 2.3. Графическое построение для вывода уравнения закона прочности Кулона-Мора

Для площадки сдвига закон прочности Кулона–Мора имеет математическое выражение, уже известное нам из курса "Инженерные изыскания в строительстве":

t = с + s × tg j, (2.1)

где с – сцепление, параметр, соответствующий прочности грунта при нулевом значении нормального напряжения на площадке сдвига;
tg j – коэффициент пропорциональности, равный тангенсу угла внутреннего трения;
j – угол внутреннего трения;
s – эффективные нормальные напряжения на площадке среза.

Примечание. Здесь под эффективными напряжениями следует понимать разницу между полными напряжениями и избыточным (по сравнению с атмосферным) давлением в поровой воде. Избыточное давление в поровой воде называют нейтральными напряжениями. Сумма эффективных и нейтральных напряжений всегда равна полному напряжению. Ниже (см. лекцию № 8) будет показано, что в условиях завершенной фильтрационной консолидации нейтральные напряжения равны нулю, а эффективные напряжения равны полным напряжениям. Таким образом, наличие порового давления снижает прочность грунта, а опыты по определению прочностных характеристик грунта должны проводиться по дренированно-консолидированной схеме.

Формуле (2.1) на графике (рис. 2.3) соответствует прямая, наклоненная к оси нормальных напряжений s под углом внутреннего трения грунта j и отсекающая на оси касательных напряжений t отрезок, численно равный сцеплению грунта с. Указанная прямая является огибающей предельных кругов Мора, соответствующих прочности грунта при различных уровнях нормальных напряжений на площадке сдвига. График по формуле (2.1) называют также графиком прочности грунта, диаграммой прочности грунта или паспортом прочности грунта. В соответствии с формулой (2.1) прочность грунта неогра­ниченно возрастает при неограниченном увеличении нормальных напряжений на площадке сдвига. Последнее не согласуется с экспериментальными данными. Это объясняется тем, что при определенном уровне сжимающих напряжений в грунте происходят микроразрушения на контактах минеральных частиц, сдерживающие рост сил внутреннего трения. При очень высоком уровне сжимающих напряжений происходит разрушение материала минераль­ных частиц, и график прочности ниспадает до пересечения с осью нормальных напряжений. Однако уровень таких напряжений значительно превосходит уровень напряжений, действующих в основании фундаментов вплоть до исчерпания несущей способности основания. В связи с этим в практических расчетах оснований используют линейное уравнение прочности (2.1).

Уравнение (2.1) может быть использовано только в том случае, если заранее известна площадка сдвига, например, при плоском сдвиге фундамента относительно основания. В большинстве же случаев площадка сдвига заранее неизвестна. Поэтому представляют практический интерес другие формы записи уравнения прочности (2.1).

Уравнения прочности в главных напряжениях. Предельному состоянию грунта в точке А на графике прочности соответствует круг Мора, касающийся графика прочности в точке А, с главными напряжениями s1 и s2 (s1>s2). Как известно, центр круга Мора отстоит от начала осей координат на расстоянии (s1+s2) / 2, а его радиус равен (s1-s2) / 2. Уравнение прочности в главных напряжениях вытекает из следующих преобразований:

; ; ;

. (2.2)

Уравнение (2.2) можно преобразовать к виду, содержащему отношение главных напряжений:

;

;

;

;

(2.3)

Если в уравнениях (2.3) положить сцепление с равным нулю, то величина tg2 (45° - j / 2) будет представлять собой коэффициент бокового давления сыпучей среды в предельном состоянии. Этот коэффициент называют также коэффициентом активного давления. В отличие от этого коэффициент tg2 (45° + j / 2) называют коэффициентом пассивного давления. Он позволяет вычислить действующее напряжение при известном боковом давлении в сыпучей среде. При j = 0 говорят, что среда является идеально связной. Полученное в лекции № 1 выражение для коэффициента бокового давления через коэффициент Пуассона справедливо в предельном состоянии только для идеально связной среды, например, для пластичной глины. Для сыпучей среды коэффициент бокового давления в предельном состоянии остается меньшим единицы.

Уравнение прочности в компонентах тензора напряжений. Основным неудобством в применении уравнений (2.3) является необходимость вычисления в грунтовом массиве главных напряжений. Этого можно избежать подстановкой в уравнение (2.2) значений главных напряжений, выраженных через компоненты тензора напряжений:

;

; ;

; . (2.4)

3. Закон ламинарной фильтрации Дарси устанавливает зависимость скорости фильтрации поровой воды от градиента гидравлического напора. Как уже отмечалось, грунт является открытой термодинамической системой в отношении массопереноса в форме движения поровой воды. Движение поровой воды называют фильтрацией, а связанные с этим процессы – фильтрационными. Рассматриваются такие скорости, при которых не наблюдаются завихрения гидравлического потока. Такое движение характеризуется как спокойное или ламинарное. Гидравлическим напором называют давление в поровой воде, выраженное в единицах высоты эквивалентного водяного столба: H = p / gw, где gw – удельный вес воды. Градиентом гидравлического напора называют безразмерную величину, равную отношению разности гидравлических напоров на входе и выходе фильтрационного потока к длине пути фильтрации поровой воды: i = (Нвх .Нвых .) / L = tg j (рис. 2.4 б). В опытах (рис. 2.4 а) Дарси измерял расход воды (м3) при фильтрации ее через цилиндр с песком площадью поперечного сечения А. Им получена следующая экспериментальная зависимость:

Q = kf × i × A × t,

где kf – коэффициент пропорциональности, названный коэффициентом фильтрации; t – время фильтрации.

j
Рис. 2.4. Схемы фильтрации поровой воды: а – в приборе Дарси; б – в грунтовом массиве; 1 – песок; 2 – сетка; 3, 4 – уровни воды на входе и выходе; j - угол наклона потока угол уклона потока.

Определим понятие скорости фильтрации q (м/с) как расход поровой воды через единицу поперечного сечения в единицу времени. Тогда из экспериментальной зависимости Дарси будем иметь:

q = kf × i. (2.5)

Формула (2.5) уже рассматривалась в курсе "Инженерные изыскания в строительстве" и известна как закон ламинарной фильтрации Дарси, который можно сформулировать следующим образом: скорость фильтрации поровой воды прямо пропорциональна градиенту гидравлического напора.

Коэффициент фильтрации kf, входящий в формулу (2.5), можно трактовать как скорость фильтрации поровой воды при градиенте гидравлического напора (говорят также, гидравлическом градиенте), равном единице. В соответствии с рисунком (2.4 б) единичному значению градиента гидравлического напора соответствует угол наклона поверхности грунтового потока к горизонтальной плоскости j = 45°. Из приведенного выше определения следует, что коэффициент фильтрации имеет размерность скорости (м/с). В справочных материалах коэффициент фильтрации чаще всего приводится в м/сутки. Значения коэффициента фильтрации зависят от вида грунта и изменяются в широких пределах от 0,001 м/сутки для глин до 100 м/сутки для песков.

В формуле (2.5) фигурирует фиктивная скорость фильтрации, отнесенная к полному сечению грунта, включающему как сечения пор, так и сечения минеральных частиц. Так как фильтрация происходит только по сечениям пор, действительная скорость фильтрации выше фиктивной. Она может быть вычислена через пористость грунта: v = q / n. Действительная скорость учитывается при анализе суффозионных процессов в грунтах.

Реальные грунты обладают начальным гидравлическим сопротивлением. Это означает, что фильтрационные процессы протекают лишь при гидравлических градиентах, больших определенной величины. Эту величину называют начальным гидравлическим градиентом i0. Величина начального гидравлического градиента, как и коэффициент фильтрации, зависит от вида грунта. С учетом сделанного замечания, запишем окончательное выражение для закона ламинарной фильтрации Дарси:

q = kf × (i – i0). (2.6)

 


Лекция 3. Распределение напряжений в грунтовом массиве от действия внешних нагрузок. Задача Ж. Буссинеска и ее приложения

Проблемы распределения напряжений в грунтовом массиве рассматриваются в фазе его уплотнения. Как уже отмечалось, фаза уплотнения является стадией его напряженно-деформированного состояния, представляющей наибольший интерес для практики, так как при реальном проектировании напряжения в грунтовом массиве ограничиваются величиной, незначительно превышающей начальное критическое давление. Важнейшим следствием принципа линейной деформируемости, применимость которого находится в диапазоне напряжений, соответствующих фазе уплотнения, является правомерность использования для анализа напряженно-деформированного состояния грунтового массива аппарата теории упругости. При этом в указанном анализе модуль упругости должен быть заменен на модуль деформации, комплексно учитывающий развитие как упругих, так и пластических деформаций грунта. В общем случае задача о распределении напряжений в грунтовом массиве при заданных краевых условиях может быть сведена к решению дифференциальных уравнений равновесия, дополненных уравнениями совместности деформаций и физическими уравнениями в форме закона Гука. Такие задачи, как правило, решаются численными методами, так как получение для них замкнутых аналитических решений является весьма проблематичным (подынтегральные функции не являются, как правило, полными дифференциалами). По этой причине представляют особый практический интерес аналитические решения, полученные с использованием только уравнений равновесия на основании упрощающих гипотез. К таким решениям относится широко известная в механике грунтов задача Буссинеска о распределении напряжений в упругом полупространстве от действия вертикальной сосредоточенной силы на граничной плоскости. Представляют практический интерес не столько решения указанной задачи, сколько ее приложения. Используя принцип суперпозиций, решены задачи о распределении напряжений в грунтовом массиве при произвольной нагрузке на граничной плоскости полупространства, основанные на интегрировании решения Буссинеска. Такое же значение в механике грунтов имеет задача Фламана о распределении напряжений в полуплоскости при действии вертикальной силы на ее границе в условиях отсутствия деформаций, нормальных полуплоскости (такое напряженно–деформированное состояние называется «плоская деформация»).

Примечание: полупространством называют часть бесконечного (трехмерного) пространства, отсеченного бесконечной плоскостью; полуплоскостью называют часть бесконечной плоскости, отсеченной бесконечной линией (границей).

1. Решение задачи Буссинеска. Основано на следующих гипотезах (в последствии подтвержденных точными решениями):

а) нормальные напряжения на площадках, касательных к сферической поверхности с центром в точке приложения силы, являются главными напряжениями. По этой причине касательные напряжения на указанных площадках отсутствуют;

б) нормальные напряжения, лежащие в вертикальной плоскости, на площадках, нормальных к сферической поверхности с центром в точке приложения силы, равны нулю;

в) нормальные напряжения на площадках, касательных к сферической поверхности с центром в точке приложения силы, прямо пропорциональны косинусу угла видимости и обратно пропорциональны квадрату радиуса сферы. Под углом видимости понимается угол между радиусом сферы, проведенным в центр площадки, и центральной вертикальной осью сферы.

Постулированные гипотезы позволяют получить замкнутые аналитические решения о распределении напряжений в полупространстве от действия вертикальной силы на его границе, основанные исключительно на уравнениях равновесия. Решение задачи поясняется графическими построениями на рис. 3.1, на котором представлены вертикальный разрез полупространства и его сечения горизонтальными плоскостями.

Начало прямоугольной декартовой системы координат разместим в точке приложения вертикальной силы Р на границе полупространства. Ось z направим по вертикали вниз, ось x по горизонтали вправо, а ось y перпендикулярно плоскости чертежа. Относительно начала осей координат построена полусфера радиусом R, пересечение которой с вертикальной плоскостью, проходящей через центральную ось, образует полуокружность такого же радиуса. В сечении полусферы горизонтальной плоскостью на глубине z образуется окружность радиусом r. Угол видимости радиуса r на вертикальном разрезе обозначим b. В сечение полусферы горизонтальной

dz
Рис. 3.1. Графическое построение к решению задачи Буссинеска

 

плоскостью на глубине zdz образуется окружность радиусом r + dr с углом видимости на вертикальном разрезе b + db. Рассмотрим равновесие сферического кольца, выделенного из полусферы двумя горизонтальными плоскостями на глубине z и zdz. С учетом того, что длина образующей сферического кольца равна Rdb, площадь его поверхности определится формулой: S = 2×p×r × R×db. На поверхности сферического кольца действуют нормальные напряжения sR, а касательные напряжения в соответствии с гипотезой а) отсутствуют. Найдем напряжения sR из условия равновесия проекций всех сил, действующих по поверхности полусферы радиусом R, на вертикальную ось z. Условие равновесия:

. (3.1)

В соответствии с гипотезой в) sR = A × cosb / R2. Кроме этого r = R × sinb. Подставляя в уравнение (3.1) выражения для sR и r и выполняя преобразования, получим:

;

. (3.2)

Выполняем замену переменных в уравнении (3.2): u = cosb, du = - sinb ×db. Продолжая преобразования, получим выражение для неопределенного коэффициента А:

;
;
;
; .

Выразим cos b через ординату z: cos b = z / R. С учетом этого формула для определения напряжения sR будут иметь вид:

. (3.3)

Практический интерес представляют напряжения на горизонтальной площадке, наклоненной к площадке, на которой действуют напряжения sR, под углом b. В соответствии с гипотезой б) главный вектор напряжений на горизонтальной площадке sR¢ совпадает по направлению с вектором напряжения sR, а его модуль равен sR ¢ = sR × cos b. Проекции главного вектора напряжений sR¢ на координатные оси являются компонентами тензора напряжений на горизонтальной площадке. Поскольку главный вектор напряжений sR¢ совпадает по направлению с радиусом вектором R, направляющие косинусы вектора напряжений определяются формулами:

cos(sR¢, z) = z/R; cos(sR¢, x) = x/R; cos(sR¢, y) = y/R (3.4)

С учетом полученных выше зависимостей, компоненты тензора напряжений на горизонтальной площадке будут определятся формулами:

;

;

. (3.5)

Формулу для sz обычно табулируют. Для этого выполняют следующие преобразования:

;

;

. (3.6)

Коэффициент К, зависящий от безразмерного параметра r/z, приводится в справочных данных. Формулы (3.5) и (3.6) при z = 0, т.е. в точке приложения силы Р, дают бесконечные значения напряжений. Теоретически это объясняется тем, что сила Р действует на бесконечно малой площадке, в связи с чем напряжения на этой площадке стремятся к бесконечности. С практической точки зрения этот результат является некорректным и подлежит разрешению.

2. Напряжения в грунтовом массиве от действия группы сил. При нагружении линейно-деформируемой среды по аналогии с упругой средой применим принцип суперпозиций. Используя этот принцип, напряжение в грунтовом массиве от действия группы сил можно представить как сумму напряжений от действия отдельных сил. При этом слагаемые в указанной сумме могут определяться по формулам Буссинеска. Например, для загружения грунтового массива по схеме, представленной на рис. 3.2, нормальное напряжение на горизонтальной площадке на глубине z может быть определено по формуле:

. (3.7)

 

...
...
..

Рис. 3.2. Напряжение в грунтовом массиве от действия группы сил

 

Анализ формулы (3.7) позволяет сделать следующий практически важный вывод: при неизменных давлениях на основание увеличение площади его нагружения приводит к увеличению напряжений в грунтовом массиве.

3. Напряжения от нагрузки, распределенной по прямоугольнику. Эта задача имеет большое прикладное значение, т.к. большинство фундаментов имеют прямоугольную форму подошвы в плане. Кроме этого, при определении напряжений от распределенной нагрузки разрешается некорректность формул (3.5) и (3.6) при z = 0. Изобразим загруженную поверхность в плане (рис. 3.3). Совместим оси координат с центральными осями прямоугольника, ограничивающего загруженную давлением р (кПа) поверхность. Обозначим размеры прямоугольника: L, B – длина и ширина; l, b – полудлина и полуширина. Выделим на загруженной поверхности бесконечно малую площадку с координатами в центре площадки x и h и площадью dx×dh. Элементарная сила, действующая на площадку, будет равна: dP = p×dx×dh. Определим напряжение dsz в грунтовом массиве в точке с координатами x, y, z от элементарной силы dP, воспользовавшись формулой Буссинеска (3.5):

. (3.8)

 
 
 
z
dh

Рис. 3.3. Напряжение от нагрузки, распределенной по прямоугольнику:
Р – интенсивность нагрузки; l, b – полудлина и полуширина площади нагрузки

 

В формуле (3.8) учтено, что радиус-вектор R соединяет точку с координатами x, y, z, в которой определяется напряжение, и точку с координатами x, h, 0, в которой действует элементарная сила. Для определения напряжения sz в точке с координатами x, y, z от всей загруженной площади проинтегрируем выражение (3.8) по загруженной площади:

. (3.9)

Интеграл по формуле (3.9) имеет замкнутое аналитическое решение в тригонометрических функциях, впервые полученное в 1935 г. А. Лявом. Наиболее простые выражения для напряжений получаются по вертикалям в центральном сечении загруженной площади и по угловым точкам: sz = a × p;
szc = ac × p, где

;
. (3.10)

Формулы (3.10) использованы в СНиП на проектирование оснований для вычисления напряжений под подошвой фундамента в центральном сечении и в угловой точке. Анализ выражений (3.10) позволяет сформулировать следующее определение: напряжения в угловой точке на глубине z равны ¼ напряжений в центральной точке на глубине z / 2. Это определение использовано в СНиП на проектирование оснований для вычисления коэффициента aс по табулированному значению коэффициента a.

4. Метод угловых точек. Основывается по аналогии с формулой (3.7) на принципе суперпозиции. При этом для вычисления напряжений в любой точке грунтового массива используются формулы (3.10). Графические построения, связанные с техникой применения метода угловых точек для определения напряжений в грунтовом массиве, представлены на рис. 3.4. Различают два принципиально отличных случая применения метода угловых точек: вертикаль, по которой определяются напряжения, находится в пределах загруженной площади; вертикаль, по которой определяются напряжения, находится за пределами загруженной площади.

f1
f2
 

Рис. 3.4. Метод угловых точек: а – точка М расположена в пределах загруженной площади; б – точка расположена за пределами загруженной площади; в – точка М расположена за пределами загруженной площади в створе загруженной площади

В первом случае (рис. 3.4 а) загруженная площадь разбивается на четыре прямоугольника, для которых точка, в которой определяется напряжение, является угловой. Напряжения определяются по формуле:

, (3.11)

где ac,i – коэффициенты по формуле (3.10) для прямоугольников 1 – 4.

Во втором случае (рис. 3.4 б) строится фиктивная площадь нагружения, границами которой являются две стороны прямоугольника с действительной нагрузкой, и точка, в которой определяется напряжение. Незагруженная площадь в фиктивном прямоугольнике разделяется на два пересекающихся прямоугольника, для которых, как и в первом случае, точка, в которой определяется напряжение, является угловой. Рассматриваются: прямоугольник, образующий фиктивную площадь нагружения (aс,f); два пересекающихся прямоугольника (aс,1 и aс,2); прямоугольник области пересечения (aс,cr). Напряжение вычисляется по формуле:

. (3.12)

Здесь слагаемое, учитывающее влияние области пересечения, несмотря на отсутствие на ней нагрузки, входит в формулу со знаком «+», компенсируя тем самым двойное вычитание по этой области предыдущими членами формулы. Обобщая формулы (3.11) и (3.12), можно дать следующее определение методу угловых точек: напряжение в произвольной точке от нагрузки, распределенной по прямоугольной площади, равно алгебраической сумме напряжений в угловых точках прямоугольников, для которых рассматриваемая точка является угловой, при этом алгебраическая сумма площадей этих прямоугольников с учетом знаков в формуле суммирования напряжений должна совпадать с фактической площадью нагрузки. Используя это определение, непосредственно вытекающее из принципа суперпозиции, можно предложить самые различные схемы реализации метода угловых точек, например, для случая, представленного на рис. 3.4 в:

. (3.13)

 


Лекция 4. Задача Фламана. Закономерности распределения давлений. Изобары, распоры, сдвиги. Контактные напряжения. Напряжения от собственного веса грунта

1. Задача Фламана решена для плоского напряженного состояния при условии отсутствия поперечной деформации (плоская деформация) и методологически подобна задаче Буссинеска для полупространства. По этой причине рассмотрим лишь конечные результаты решения этой задачи. Пусть на поверхности полупространства (рис. 4.1) действует бесконечно протяженная полосовая нагрузка q (кН/м) вдоль координатной оси x единичной ширины.

sz(R,z)
R
Рис. 4.1. Напряженное состояние полуплоскости от действия бесконечно протяженной полосовой нагрузки единичной ширины q (кН/м)

Тогда в сечениях полупространства плоскостями, нормальными к оси x, будем иметь полуплоскости, напряженно-деформированное состояние которых подобно, а деформация по направлению оси x равна нулю. Как уже отмечалось, такое напряженное состояние называется плоской деформацией. Напряжения в точке М полуплоскости с радиусом-вектором R и координатами y, z в соответствии с решением Фламана определяются формулами:

. (4.1)

Практический интерес представляет распределение напряжений в полуплоскости от действия бесконечно протяженной полосовой нагрузки (рис. 4.2) конечной ширины В. Подобное напряженное состояние возникает в поперечных сечениях основания протяженного ленточного фундамента.

Y
Рис. 4.2. Напряженное состояние полуплоскости от действия полосовой нагрузки интенсивностью Р (кН/м2)

Пусть интенсивность нагрузки в пределах полосы постоянна и равна р (кН/м2). Соединим точку М с концами полосовой нагрузки в сечении полуплоскостью. Угол между проведенными таким образом лучами из точки М назовем углом видимости a. Интенсивность полосовой нагрузки dq шириной dy будет равна: dq = p × dy = p × R × db / cosbi, где bi – угол между вертикалью и лучом, проведенным из точки М к площадке dy; db – угол видимости площадки dy. Граничными значениями угла bi будут углы b1 и b2, составляемые с вертикалью лучами угла видимости a. Положительное направление указанных углов отсчитывается от вертикали при повороте ее в сторону луча по ходу часовой стрелки. Подставляя в уравнения (4.1) вместо q dq и производя их интегрирование по b, получим выражения для определения напряжений в грунтовом массиве от полосовой нагрузки:

. (4.2)

Можно показать, что b0 = b1 + a/2. При b0 = 0 b1 = - a /2, а b2 = a /2. Отсюда следует, что нормальные напряжения sz по оси симметрии полосовой нагрузки являются главными напряжениями, так как касательные напряжения tzy на площадках действия указанных напряжений равны нулю. Напряженному состоянию с компонентами тензора напряжений (4.2) соответствуют главные напряжения:

;

. (4.3)

Угол наклона площадки большего главного напряжения к площадке напряжения sz будет равен:

. (4.4)

Из уравнения (4.4) следует, что нормалью к площадке больших главных напряжений является биссектриса угла видимости a. Говорят также, что большая главная ось эллипса напряжений в точке М совпадает по направлению с биссектрисой угла видимости в этой точке (рис. 4.3). Можно доказать (рис. 4.4), что геометрическим местом точек с одинаковыми значениями главных напряжений являются окружности, проведенные через крайние точки полосовой нагрузки.

 
Рис. 4.3. Эллипсы главных напряжений при действии полосовой нагрузки

Рис. 4.4. Изолинии равных главных напряжений при действии полосовой нагрузки

2. Закономерности распределения напряжений. Изобары, распоры, сдвиги.

tzy1>tzy2>tzy3>tzy4
tzy1
tzy3
tzy4
tzy2
sy1>sy2>sy3
sy3
sy2
sy1
sz1>sz2>sz3
sz3
sz2
sz1
Изобарами называют линии равных вертикальных давлений (рис. 4.5 а). Распорами называют линии равных боковых давлений (рис. 4.5 б). Сдвигами называют линии равных касательных напряжений (рис. 4.5 в). Указанные линии строятся как графики sz = const, sy = const, tzy = const, например, с использованием уравнений (4.2). С удалением от центра загруженной поверхности и с увеличением глубины вертикальные давления уменьшаются. При этом линии равных давлений подобны концентрическим усеченным эллипсам с главной вертикальной осью, проходящей через центр загруженной поверхности. Горизонтальными сечениями изобар можно проследить закономерности изменения давлений по ширине грунтового массива. Общая закономерность сводится к следующему. С увеличением глубины интенсивность давлений уменьшается, а зона их действия по ширине увеличивается. При этом площади эпюр давлений в горизонтальных сечениях остаются постоянными. В несвязных грунтах можно приблизительно полагать, что область распределения давлений в грунтовом массиве ограничена расходящимися лучами, исходящими из крайних точек загруженной поверхности и наклоненными к горизонтали под острыми углами, равными углу внутреннего трения.

Распределение распоров характеризуется наличием седловидной впадины в центре загруженной поверхности. Максимальных значений распоры достигают на границах области распределения вертикальных давлений.

Сдвиги распределяются в форме двух симметричных зон с центрами по краям загруженной поверхности. Геометрически указанные распределения подобны концентрическим эллипсам, главные большие оси которых наклонены и расходятся от центра загруженной поверхности. Максимальные значения сдвигов достигаются (концентрируются) в крайних точках загруженной поверхности. Этот результат уже использовался при описании фаз напряженно-деформированного состояния грунтового основания.

3. Контактные напряжения. До сих пор изучались вопросы распределения напряжений от действия распределенной по площади нагрузки. Нагрузка передавалась непосредственно на поверхность грунтового массива без посредства какой-либо конструкции. Такая схема передачи нагрузки характерна при возведении на основании земляных сооружений, например, насыпей, при передаче нагрузки через гибкую плиту и т.п. Во всех этих случаях говорят, что нагрузка передается на основание через абсолютно гибкий штамп. Таким образом, абсолютно гибким штампом называют конструкцию, сопротивлением изгибу которой можно пренебречь. Нагрузка на основание от сооружений чаще всего передается через жесткие конструкции, называемые фундаментами. Если собственными деформациями такой конструкции можно пренебречь, ее называют абсолютно жестким штампом. Все остальные конструкции, через которые передается нагрузка на основание, называют фундаментами (говорят также, штампами конечной жесткости). Контактными напряжениями называют напряжения на контакте поверхности основания с нижней поверхностью конструкции, через которую передаются нагрузки. Нижняя поверхность такой конструкции называется подошвой фундамента. Вертикальные напряжения, действующие на основание со стороны подошвы фундамента, называют давлениями. Уравновешивающие эти давления напряжения, действующие на подошву фундамента со стороны основания, называют отпором грунта. Решим задачу о распределении давлений на основание под жестким штампом при действии на него вертикальной нагрузки.

Воспользуемся формулой, полученной Буссинеском, для определения осадок (вертикальных перемещений) wz поверхности линейно-деформируемого полупространства (рис. 4.6) от действия сосредоточенной силы Р:

, (4.5)

где n, Е – коэффициент Пуассона и модуль деформации грунта;
r – расстояние от точки приложения силы до точки, в которой вычисляется осадка (радиус-вектор).

Рис. 4.6. Осадка поверхности упругого полупространства от действия сосредоточенной силы

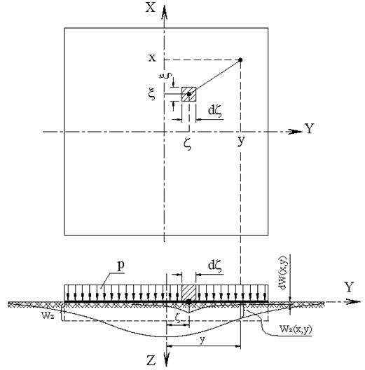
Используя формулу (4.5), определим осадку в точке с координатами x, y (рис. 4.7) от распределенной по площади F нагрузки интенсивностью р (кН/м2). При этом учтем, что элементарная сосредоточенная сила dP = p×dx × dh, а радиус-вектор r = [(x - x)2 + (y - h)2]1/2.

. (4.6)

Исследованиями по теории упругости установлено, что осадка абсолютно жесткого штампа с достаточной для практических целей точностью равна средней осадке абсолютно гибкого штампа. Средняя осадка абсолютно гибкого штампа может быть вычислена интегрированием по площади выражения (4.6) с последующим делением результата на площадь подошвы F:

. (4.7)

h
h
dh
dh
dx

Рис. 4.7. Осадка поверхности упругого полупространства от действия распределенной по площади F нагрузки интенсивностью р (кН/м2)

Принимаем в выражении (4.6) wz (x, y) = wz = const и разрешая его относительно р как функции x, y, получим формулу для распределения давлений p (x, y) под абсолютно жестким штампом:

. (4.8)

Наиболее простой вид решение уравнения (4.8) приобретает для штампа круглой формы в плане:

, (4.9)

где pm – среднее давление под подошвой штампа; r –радиус-вектор точки, в которой вычисляется контактное давление p (x, y); R – радиус круглого штампа.

Аналогичное решение получено для плоской задачи (плоская деформация). Формула для вычисления контактных давлений под абсолютно жесткой бесконечной полосой имеет вид:

, (4.10)

где y – координата точки, в которой определяется давление p (y); b – половина ширины полосы.

В помещаемой ниже таблице приведены сопоставительные данные о распределении контактных давлений под штампами разной конструкции при одинаковом значении среднего давления.

Таблица 4.1

Конструкция штампа Абсолютно жесткий круглый диаметром R Абсолютно жесткая полоса шириной 2× b Абсолютно гибкая полоса шириной 2× b
Давление в центре pm / 2 2×pm / p pm
Давления по краям ¥ ¥ pm

 

Как следует из таблицы, давления в центре жестких штампов меньше средних давлений. При удалении от центра контактные давления возрастают и стремятся к бесконечности в краевых точках. Давления в центре и по краям гибкого штампа равны заданному давлению на загруженной поверхности. Таким образом, конструкция штампа существенно влияет на характер распределения контактных давлений. Данные таблицы 4.1 интерпретированы графически на рис. 4.8. На этом же рисунке представлены графики распределения контактных давлений под штампами конечной жесткости. Анализируя эти графики, можно сделать следующий вывод: контактные давления под штампами конечной жесткости находятся в диапазоне соответствующих давлений для абсолютно жесткого и абсолютно гибкого штампов. Следует также обратить внимание на то, что в реальных грунтах контактные давления не могут неограниченно возрастать, так как их значения ограничиваются параметрами прочности основания.

 

2pm/p

Рис. 4.8. Распределение контактных давлений по подошве: 1 – абсолютно жесткого круглого штампа; 2 – абсолютно жесткой полосы; 3 – абсолютно гибкой полосы;
4 – штампа конечной жесткости

На основании обобщения результатов теоретических и экспериментальных исследований фундаментов конечной жесткости на грунтовых основаниях в нормах на проектирование оснований принят линейный закон распределения контактных давлений по подошве фундаментов. Эта гипотеза равносильна гипотезе плоских сечений в теории строительных конструкций. В связи с этим контактные давления определяются по упрощенной формуле:

, (4.11)

где P, Mx, My – продольная сила и изгибающие моменты относительно центральных осей на уровне подошвы фундамента;
A, Wx, Wy – площадь подошвы и моменты сопротивления площади подошвы фундамента относительно центральных осей.

4. Напряжения от собственного веса грунта. Вертикальные напряжения от собственного веса грунта называют бытовыми давлениями, а график их изменения по глубине – эпюрой бытовых давлений. Напряжения от собственного веса грунта определяются на основании следующих упрощающих гипотез: 1) напряженным состоянием грунта при действии его собственного веса является осесимметричное компрессионное сжатие; 2) вертикальные напряжения в грунте определяются суммированием напряжений от веса элементарных слоев грунта; 3) грунт, находящийся ниже уровня грунтовых вод, испытывает взвешивающее действие воды; 4) слой грунта, находящийся ниже водоносного слоя, называется водоупором и испытывает на своей поверхности гидростатическое давление водяного столба.

Удельный вес грунта во взвешенном состоянии определяется на основании следующих расчетов. Обозначим: Gsb (кН) – вес грунта объемом V3) во взвешенном состоянии; Gs, Vs – вес и объем частиц грунта в объеме V; gd, gs, и gw – удельные веса сухого грунта, частиц грунта и воды. Определим Gsb и gsb – удельный вес грунта во взвешенном состоянии:

. (4.12)

С учетом сделанных замечаний, бытовые давления в грунте определяются методом послойного суммирования:

, (4.13)

где gig или gsb для i –го слоя грунта; hi – толщина i –го слоя грунта;
HwL – расстояние от водоупора до уровня грунтовых вод; k – коэффициент, равный 1 для границы водоупора и 0 в остальных случаях.

Формула (4.13) используется для вычисления бытовых давлений на границах геологических слоев, на линии уровня грунтовых вод и на границе водоупора. В остальных сечениях бытовые давления могут быть определены по линейной интерполяции. На рис. 4.9 представлены характерные эпюры бытовых давлений в грунтовом массиве. На границах геологических слоев угол наклона эпюры, как правило, изменяется в связи с изменением величины удельного веса грунта. На линии уровня грунтовых вод (WL) имеет место самый заметный перегиб эпюры, вызванный уменьшением удельного веса грунта во взвешенном состоянии. На границе водоупора эпюра имеет скачок на величину гидростатического давления от веса столба воды над водоупором.

 

 

Рис. 4.9. Характерные эпюры распределения бытовых напряже

<== предыдущая лекция | следующая лекция ==>
Закон уплотнения Терцаги | Лекция 6. Устойчивость грунтовых откосов
Поделиться с друзьями:


Дата добавления: 2014-01-07; Просмотров: 4634; Нарушение авторских прав?; Мы поможем в написании вашей работы!


Нам важно ваше мнение! Был ли полезен опубликованный материал? Да | Нет



studopedia.su - Студопедия (2013 - 2026) год. Все материалы представленные на сайте исключительно с целью ознакомления читателями и не преследуют коммерческих целей или нарушение авторских прав! Последнее добавление




Генерация страницы за: 0.012 сек.