Студопедия

КАТЕГОРИИ:


Архитектура-(3434)Астрономия-(809)Биология-(7483)Биотехнологии-(1457)Военное дело-(14632)Высокие технологии-(1363)География-(913)Геология-(1438)Государство-(451)Демография-(1065)Дом-(47672)Журналистика и СМИ-(912)Изобретательство-(14524)Иностранные языки-(4268)Информатика-(17799)Искусство-(1338)История-(13644)Компьютеры-(11121)Косметика-(55)Кулинария-(373)Культура-(8427)Лингвистика-(374)Литература-(1642)Маркетинг-(23702)Математика-(16968)Машиностроение-(1700)Медицина-(12668)Менеджмент-(24684)Механика-(15423)Науковедение-(506)Образование-(11852)Охрана труда-(3308)Педагогика-(5571)Полиграфия-(1312)Политика-(7869)Право-(5454)Приборостроение-(1369)Программирование-(2801)Производство-(97182)Промышленность-(8706)Психология-(18388)Религия-(3217)Связь-(10668)Сельское хозяйство-(299)Социология-(6455)Спорт-(42831)Строительство-(4793)Торговля-(5050)Транспорт-(2929)Туризм-(1568)Физика-(3942)Философия-(17015)Финансы-(26596)Химия-(22929)Экология-(12095)Экономика-(9961)Электроника-(8441)Электротехника-(4623)Энергетика-(12629)Юриспруденция-(1492)Ядерная техника-(1748)

Литейное производство




 

Литейным производством называется отрасль машиностроения, производящая металлические изделия или заготовки путем заливки расплавленного металла в форму. После затвердевания металла в форме получается деталь (отливка). Отливка может быть или вполне законченным изделием, или чаще всего заготовкой, которую в дальнейшем подвергают механической обработке.

Литые детали изготавливают из стали, чугуна, медных, алюминиевых, магниевых сплавов. Вес отливки может колебаться от нескольких граммов до нескольких тонн. Методом литья можно изготовлять изделия из весьма сложной конфигурации, которые при помощи других видов обработки (механической, ковки, штамповки, сварки) получить или значительно трудно или невозможно. При серийном производстве стоимость литой детали, как правило, оказывается меньше по сравнению с деталью, приготовленной другими методами. Для единичного производства эта зависимость может быть обратной.

В зависимости от размеров и веса заготовки (отливки), материала и требований к качеству поверхности и точности размеров существует несколько методов литья.

 

1. ЛИТЬЕ В ЗЕМЛЯНЫЕ ФОРЫ (в “землю”)

 

Это самый старый и традиционный метод литья. Применяется для отливок из чугуна, стали и цветных металлов. Метод не требует дорогостоящего оборудования. Его технологический процесс заключается в следующем.

В технологические службы поступает чертеж готовой детали Рис. 53

а) Технологи выпускают чертеж заготовки с учетом припусков га механическую обработку, усадку, уточняют литейные уклоны на вертикальных стенках, Рис. 54. Согласно ГОСТа уклоны равны 1/5 для размеров стенок до 25 мм. 1/10 и 1/20 для промежуточных размеров (до 500 мм) и 1/50 для размеров свыше 500 мм. Уклоны необходимы для извлечения форм из формованной смеси без разрушения кромок (углов).

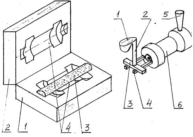
б) Из дерева изготавливают в модельном цехе модель, Рис. 55 по размерам технологического чертежа. Модель изготавливается разъемной, из нижней 1 и верхней 2 половины. У модели имеются специальные выступы 3, называемые знаками модели, они служат для создания в форме опорных отпечатков, необходимых для установки стержня.

в) Стержень Рис. 56, поз. 1 изготавливают из стержневой смеси, стоящей из основы, например, кварцевого песка и связующего жидкого стекла.

Стержень формуют в деревянном ящике 2, изготовленном в модельном цехе. После формовки стержни просушивают.

г) Модель формуют в так называемую формовочную смесь (“землю”) состоящую из песка, глины и связующих элементов, того же, например, жидкого стекла, воды. Добавляются противопригарные добавки.

Формовочные (и стержневые) смеси должны обладать эластичностью, газопроницаемостью, прочностью и податливостью. Смесь перемешивается на устройстве, которое называется – бегуны, состоящие из бака, вращающейся центральной оси с укрепленными на ней через рычаги роликами. Формованную смесь непосредственно перед употреблением разрыхляют на специальных машинах – разрыхлителях.

При повторном употреблении отработанной смеси ее просеивают для очистки от посторонних предметов и добавляют свежие формовочные материалы.

д) Формовку производят в специальных рамках, называемых опоками. Они делятся на нижнюю Рис. 57 поз. 1 и верхнюю 2. После заформовки половинок модели, в земле остаются пустоты, соответствующие форме модели. В выемки от стержневых знаков модели устанавливают стержень 3. В полость 4 теперь остается залить жидкий металл. Но для этого следует создать литниковую систему – систему каналов, по которой жидкий металл поступает в форму. Обычно литниковая система состоит по Рис. 58. из литниковой чаши 1, стояка 2, шлако-уловителя 4, выпора 5, расположенного в конце отливки 6.

В литниковой чаше гасится кинетическая энергия струи металла, в противном случае он может просто разрушить земляную форму. При протекании металла через шлакоуловители, в них остаются тяжелые шлаки (осадок), по питателям металл поступает в полость формы. При контакте горячего металла с землей, образуются газы, которые частично уходят через газопроницаемую “землю”, но часть этих газов и вытесняемый из формы воздух выходит через выпор 5, кроме того в выпоре остаются легкие шлаки, образуется усадочная раковина, что улучшает качество отливки, по степени появления жидкого металла в выпоре, можно судить о полноте заполнения формы. После остывания отливку выбивают из опок, при серийном производстве эту операцию производят на вибраторах.

Литниковую систему отбивают или отрезают. Недостатками литья в “землю” является наличие хозяйства для приготовления формовочной и стержневой смеси, повторение процесса формовки для каждой детали, большие припуски на механическую обработку ввиду низкого качества получаемой поверхности (поры, трещины, пригар и т.д.). Условия труда при литье в “землю” желают лучшего.

 


Рисунок 53 Рисунок 54

 

Рисунок 56 Рисунок 55

 

Рисунок 57 Рисунок 58


КОНСТРУИРОВАНИЕ ДЕТАЛЕЙ С УЧЕТОМ ИЗГОТОВЛЕНИЯ ФОРМ.

При конструировании деталей машин необходимо стремиться к наибольшему упрощению изготовления формы. Каждая отливка должна представлять в своей основе возможно простую фигуру. Количество и место нахождения всякого рода выступов (ребер, фланцев и пр.) не должно затруднять выемку модели из формы, не требовать отъемных частей модели, нескольких плоскостей разъема и подрезки при изготовлении формы.

Чем сложнее конфигурация отливки, тем труднее достигается точность заданных размеров. Сложные и громоздкие отливки при конструировании во многих случаях целесообразно делить на отдельные составляющие, соединяемые впоследствии болтовыми и прочими креплениями. Это относится к длинным деталям (станинам, лонжеронам), к отливкам с резко выступающими частями (например кронштейнам), а также к деталям машин, имеющим быстроизнашивающиеся части.

Сборная конструкция требует больше времени на механическую обработку, правда в большинстве случаев, простую, но зато снижает стоимость изготовления отливки, т.к. упрощается формовка, сборка форм и изготовление модели.

 

КОНСТРУИРОВАНИЕ ДЕТАЛЕЙ С УЧЕТОМ ЛИТЕЙНЫХ СВОЙСТВ СПЛАВА

При конструировании литой детали необходимо учитывать литейные свойства заливаемого в форму сплава и процесс затвердевания отливки.

Жидкотекучесть. При проектировании отливок необходимо назначить толщину стенок “d” обеспечивающую требуемую расчетную прочность и экономию металла. Однако при этом необходимо учитывать жидкотекучесть назначаемого для отливки сплава при температуре его разливки.

Для чугуна d =2,5-5 мм,8-10 мм, для небольших, средних и крупных отливок соответственно.

Для стали, обладающей худшей жидкотекучестью, чем чугун и бронза, соответственно 4-5, 10-12, 15-20 мм, для бронзы 2-3, 5-12, 12-15 мм.

Процесс кристаллизации. Следует учитывать, что кристаллизация металла происходит перпендикулярно поверхности теплоотдачи. При неправильно выбранной конструкции отливки возможно снижение механических свойств отливки из-за неудачного расположения кристаллов, образование пористости и трещин. В процессе работы в этих может произойти разрушение детали: рис. 59а в местах А и Б, рис. 60а в месте А.

При сопряжении стенок отливки нельзя допускать острых углов – возможное место образования трещин, стенки сопрягать радиусами (галтелями) рис 61.

Линейная усадка. При конструировании литых деталей необходимо учитывать вредные последствия усадки. Например, при конструировании маховика колес нельзя допускать четного количества спиц.

Т.к. в этом случае при усадке по диаметру в отливке образуется торможение усадки, которая может привести к появлению внутренних напряжений, вследствие чего в отливке могут образоваться трещины или коробление. В некоторых случаях спицы делают под углом к ободу Рис. 62 или спиральные рис. 63. Бруски лучше проектировать симметричными в поперечном сечении Рис. 64.

Объемная усадка. Недопустимо большое местное скопление металла в отдельных частях отливки, которая, как правило, приводит к образованию усадочных раковин и усадочной пористости, что создает опасные, непрочные части узлов рис. 65а – неправильно, б – правильно.


Рисунок 59а – неправильно Рисунок 60а – неправильно

 

Рисунок 59б – правильно Рисунок 60б – правильно

 

Рисунок 61 Рисунок 62

 

Рисунок 63 Рисунок 64

 

Рисунок 65а - неправильно Рисунок 65б - правильно





Поделиться с друзьями:


Дата добавления: 2014-10-15; Просмотров: 636; Нарушение авторских прав?; Мы поможем в написании вашей работы!


Нам важно ваше мнение! Был ли полезен опубликованный материал? Да | Нет



studopedia.su - Студопедия (2013 - 2026) год. Все материалы представленные на сайте исключительно с целью ознакомления читателями и не преследуют коммерческих целей или нарушение авторских прав! Последнее добавление




Генерация страницы за: 0.012 сек.