Студопедия

КАТЕГОРИИ:


Архитектура-(3434)Астрономия-(809)Биология-(7483)Биотехнологии-(1457)Военное дело-(14632)Высокие технологии-(1363)География-(913)Геология-(1438)Государство-(451)Демография-(1065)Дом-(47672)Журналистика и СМИ-(912)Изобретательство-(14524)Иностранные языки-(4268)Информатика-(17799)Искусство-(1338)История-(13644)Компьютеры-(11121)Косметика-(55)Кулинария-(373)Культура-(8427)Лингвистика-(374)Литература-(1642)Маркетинг-(23702)Математика-(16968)Машиностроение-(1700)Медицина-(12668)Менеджмент-(24684)Механика-(15423)Науковедение-(506)Образование-(11852)Охрана труда-(3308)Педагогика-(5571)Полиграфия-(1312)Политика-(7869)Право-(5454)Приборостроение-(1369)Программирование-(2801)Производство-(97182)Промышленность-(8706)Психология-(18388)Религия-(3217)Связь-(10668)Сельское хозяйство-(299)Социология-(6455)Спорт-(42831)Строительство-(4793)Торговля-(5050)Транспорт-(2929)Туризм-(1568)Физика-(3942)Философия-(17015)Финансы-(26596)Химия-(22929)Экология-(12095)Экономика-(9961)Электроника-(8441)Электротехника-(4623)Энергетика-(12629)Юриспруденция-(1492)Ядерная техника-(1748)

Карбюратори зі змінним перетином дифузорів




Більшістю це карбюратори з горизонтальним потоком суміші. Вони існують двох типів:

· зі змінним перетином дифузора, що виконує роль дроселя;

· з регулюванням кількості суміші дросельною заслінкою та золотником або шибером.

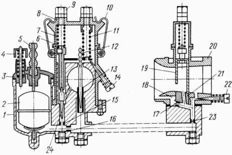
Карбюратори першого типу використовують у двигунах мотоциклів (рис. 29), моторних човнів, сільгосптехніки тощо.

Рис. 29. Карбюратор К-36: 1 — поплавцева камера; 2 — поплавець; 3 — кришка; 4 — утоплювач поплавця; 5 — штуцер; 6 — паливний коректор головної дозувальної системи; 7, 11 — пружина; 8 — кришка змішувальної камери; 9 — штуцер троса паливного коректора; 10 — засувка; 12 — дозувальна голка; 13 — розпилювач; 14 — гвинт регулювання підйому дроселя; 15 — жиклер паливного коректора; 16 — головний жиклер; 17 — повітряний жиклер; 18 — забірний повітряний карман холостого ходу; 19 — дросельна заслінка; 20 — змішувальна камера; 21 — канал холостого ходу; 22 — гвинт регулювання холостого ходу; 23 — жиклер холостого ходу; 24 — дозувальна голка паливного коректора

Рис.30. Схема карбюратора Stromberg: 1 — демпфер золотника; 2 — діафрагма; 3 — золотник; 4 — голка; 5 — регулятор кількості повітря; 6 — система холостого хода

Карбюратори другого типу (рис. 30) використовують як у мотоциклетних, так і у автомобільних ДВЗ. Компенсація у них здійснюється, як правило, голкою. Роль регулятора перетину дифузора виконує циліндричний золотник, який переміщається за допомогою діафрагми. Одна з порожнин діафрагми з’єднана з впускним трубопроводом. Демпферний механізм забезпечує запізнення відкриття золотника при різкому відкритті дросельної заслінки, що забезпечує збагачення суміші, тому у таких карбюраторах відсутній прискорювальний насос.

До недоліків таких карбюраторів відноситься нестабільність регулювальних параметрів.




Поделиться с друзьями:


Дата добавления: 2014-10-15; Просмотров: 559; Нарушение авторских прав?; Мы поможем в написании вашей работы!


Нам важно ваше мнение! Был ли полезен опубликованный материал? Да | Нет



studopedia.su - Студопедия (2013 - 2026) год. Все материалы представленные на сайте исключительно с целью ознакомления читателями и не преследуют коммерческих целей или нарушение авторских прав! Последнее добавление




Генерация страницы за: 0.008 сек.