Студопедия

КАТЕГОРИИ:


Архитектура-(3434)Астрономия-(809)Биология-(7483)Биотехнологии-(1457)Военное дело-(14632)Высокие технологии-(1363)География-(913)Геология-(1438)Государство-(451)Демография-(1065)Дом-(47672)Журналистика и СМИ-(912)Изобретательство-(14524)Иностранные языки-(4268)Информатика-(17799)Искусство-(1338)История-(13644)Компьютеры-(11121)Косметика-(55)Кулинария-(373)Культура-(8427)Лингвистика-(374)Литература-(1642)Маркетинг-(23702)Математика-(16968)Машиностроение-(1700)Медицина-(12668)Менеджмент-(24684)Механика-(15423)Науковедение-(506)Образование-(11852)Охрана труда-(3308)Педагогика-(5571)Полиграфия-(1312)Политика-(7869)Право-(5454)Приборостроение-(1369)Программирование-(2801)Производство-(97182)Промышленность-(8706)Психология-(18388)Религия-(3217)Связь-(10668)Сельское хозяйство-(299)Социология-(6455)Спорт-(42831)Строительство-(4793)Торговля-(5050)Транспорт-(2929)Туризм-(1568)Физика-(3942)Философия-(17015)Финансы-(26596)Химия-(22929)Экология-(12095)Экономика-(9961)Электроника-(8441)Электротехника-(4623)Энергетика-(12629)Юриспруденция-(1492)Ядерная техника-(1748)

Волочение




ПРЕССОВАНИЕ

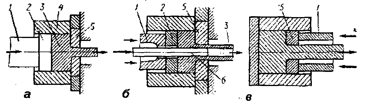
Прессованием называется способ обработки металлов давлением, при котором металл выдавли­вается из замкнутой полости через отверстие с получением про­филя по форме отверстия. Прессованные изделия получаются более точными, чем катанные.

Прессованием получают прутки диаметром 5-250 мм, проволоку диаметром 5-10 мм, трубы с наружным диаметром 20-400 мм и толщиной стенки 1,5-12 мм. Благодаря гибкости и легкости переналадки прессованием выгоднее, чем прокаткой, изготавливать малые серии изделий. Различают прямое и обрат­ное прессование.

При прямом прессовании (рис. 6.8 а) пуансон (пор­шень) 1давлением на планшайбу 2выталкивает металл 3 через отверстие в матрице 5 с получением прутка, имеющего сечение по форме отверстия.

При получении трубы (рис. 6.8 б) металл сначала про­шивается иглой 6, проходящей через полый пунсон и затем под давлением планшайбы 2 выдавливается в виде трубы 3 через кольцеобразное отверстие, образуемое иглой 6 и стенками от­верстия матрицы. При обратном прессовании (рис. 6.8 в) металл выходит через матрицу 5 и полый пуансон 1 в направле­нии, обратном движению пуансона. Прессование производится на гидравлических прессах с усилием 300-25 000 тонн.

 


 

 

 

Рис. 6.8. Схемы прессования изделий

 

 

Волочением получают проволоку, прут­ки, стержни и трубы (рис. 6.9 а). При волочении заготовка 1протаскивается через фильеру 2в холодном состоянии, приобретая гладкую поверхность и высокую точность поперечного размера. Калиброванные (холоднотянутые) прутки и трубы служат заготовкой при точной штамповке и при изготовле­нии деталей резанием на токарных автоматах. Волочение является исключительным методом для производ­ства очень тонкой проволоки диаметром от 0,002 до 10 мм (рис. 6.9 б), трубы диаметром до 500 мм и толщиной стенки 0,1-10 мм высокой точности с блестящей по­верхностью. Волочение труб без оправки (рис. 6.9 в) производится при уменьшении только диаметра, с оправкой - при умень­шении диаметра и стенки трубы (рис. 6.9 г). В процессе волоче­ния металл разогревается.

 

 

 

 

Рис. 6.9. Волоченые профили (а) и волочение металлопродукции:

б) прутка; в), г) соответственно круглой и фасонной трубы:

1 - заготовка; 2 - фильера




Поделиться с друзьями:


Дата добавления: 2014-11-16; Просмотров: 666; Нарушение авторских прав?; Мы поможем в написании вашей работы!


Нам важно ваше мнение! Был ли полезен опубликованный материал? Да | Нет



studopedia.su - Студопедия (2013 - 2026) год. Все материалы представленные на сайте исключительно с целью ознакомления читателями и не преследуют коммерческих целей или нарушение авторских прав! Последнее добавление




Генерация страницы за: 0.008 сек.