Студопедия

КАТЕГОРИИ:


Архитектура-(3434)Астрономия-(809)Биология-(7483)Биотехнологии-(1457)Военное дело-(14632)Высокие технологии-(1363)География-(913)Геология-(1438)Государство-(451)Демография-(1065)Дом-(47672)Журналистика и СМИ-(912)Изобретательство-(14524)Иностранные языки-(4268)Информатика-(17799)Искусство-(1338)История-(13644)Компьютеры-(11121)Косметика-(55)Кулинария-(373)Культура-(8427)Лингвистика-(374)Литература-(1642)Маркетинг-(23702)Математика-(16968)Машиностроение-(1700)Медицина-(12668)Менеджмент-(24684)Механика-(15423)Науковедение-(506)Образование-(11852)Охрана труда-(3308)Педагогика-(5571)Полиграфия-(1312)Политика-(7869)Право-(5454)Приборостроение-(1369)Программирование-(2801)Производство-(97182)Промышленность-(8706)Психология-(18388)Религия-(3217)Связь-(10668)Сельское хозяйство-(299)Социология-(6455)Спорт-(42831)Строительство-(4793)Торговля-(5050)Транспорт-(2929)Туризм-(1568)Физика-(3942)Философия-(17015)Финансы-(26596)Химия-(22929)Экология-(12095)Экономика-(9961)Электроника-(8441)Электротехника-(4623)Энергетика-(12629)Юриспруденция-(1492)Ядерная техника-(1748)

Аппаратурно-технологическое оформление процесса




На первых этапах развития газификации аппараты, применяемые в этом процессе, имели сравнительно высокий плотный слой топлива и неподвижную колосниковую решетку. Шлак выгружали вручную, вследствие чего производительность газогенераторов была невелика. Воздушное дутье подавали за счет естественной тяги, поэтому получаемые газы характеризовались невысокой теплотой сгорания, а сам процесс газификации имел очень ограниченное распространение. Широкое промышленное применение этот метод получил в первой четверти XX в. благодаря разработке газогенераторов с вращающейся колосниковой решеткой. Это позволило механизировать трудоемкий процесс удаления шлака и повысить производительность аппаратуры. Газогенераторы такого типа широко использовались в большинстве промышленно развитых стран вплоть до 60-х годов, обеспечивая практически полностью потребность в технологических, энергетических и бытовых горючих газах.

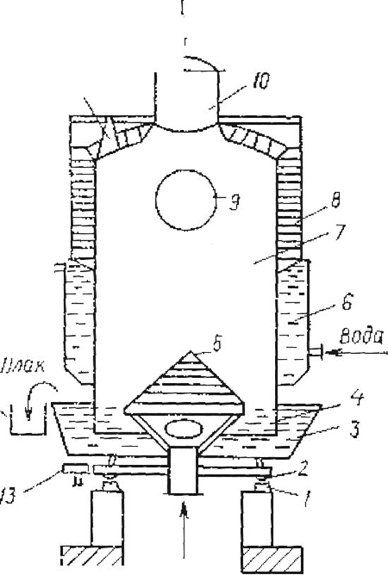
Схема газогенератора с вращающейся решеткой изображена на рис. 1.

На катках 2, движущихся по рельсовой опоре 1, установлена металлическая чаша 3, вращающаяся от привода 13. В центре чаши располагается колосниковая решетка 5 из чугунных пластин с отверстиями, имеющая форму шатра. Чаша 3 заполнена водой, предназначенной для охлаждения поступающего в нее шлака, кроме того, она служит гидравлическим затвором, изолирующим внутреннее пространство аппарата от атмосферы. В воду, находящуюся в чаше, погружена нижняя часть 4 («фартук») шахты 7 газогенератора. Глубина погружения «фартука» определяет допустимое давление в аппарате. Шахта опирается на фундамент с помощью опор, расположенных в ее средней части (на рисунке не показаны). Шахта имеет в верхней части устройство 10 для загрузки топлива, штуцер 9 для вывода газа (газослив), футеровку 8 и водяную рубашку 6. На колосниковой решетке находится плотный слой топлива, высота которого почти достигает штуцера 9. Снизу по трубопроводу подают дутье. Для более равномерного распределения дутья по сечению верхний колосник решетки (называемый «головкой», или «чепцом») располагают не в ее центре, а несколько смещая в сторону. В слое топлива, прилегающем непосредственно к колосниковой решетке, происходит его сгорание, в результате чего развиваются высокие температуры и выделяется тепло, требуемое для газификации. Это так называемая зона окисления. Полученный здесь поток раскаленных газообразных продуктов сгорания поступает в верхние слои топлива (в зону восстановления), где происходят основные реакции газификации, приводящие к образованию целевых продуктов (СО, Н2, СН4). Вследствие сильной эндотермичности реакций образования оксида углерода и водорода газы охлаждаются до 300-500 °С и затем поступают в верхние слои, где за счет их тепла происходят полукоксование (сухая перегонка) и подсушка топлива. В этой зоне выделяются смола и летучие продукты, а также вся влага, содержащаяся в топливе, т. е. здесь происходит подготовка топлива к газификации. Шлак, остающийся на колосниковой решетке, при ее вращении опускается вниз, охлаждается в чаше с водой и выводится из аппарата в приемник 12. В рассмотренном газогенераторе происходило периодическое налипание шлака на стенки. Его удаляли вручную при помощи металлических штанг, пропускаемых сквозь шуровочные отверстия 11. При переработке спекающихся топлив для предотвращения слипания непрерывно перемешивали слой топлива мешалкой, способной одновременно перемещаться и в вертикальной плоскости. Для газификации молодых топлив, имеющих большой выход летучих, зону подготовки выполняли высотой 4-5 м (она называлась «швельшахтой»).

До середины XX в. большое распространение имел процесс получения водяного газа в аппаратах периодического действия. Водяной газ, представляющий собой в основном смесь СО и Н2 с небольшой примесью других компонентов, широко использовали для энергетических целей, как сырье для синтеза аммиака и искусственного жидкого топлива, для бытовых нужд, а также для таких высокотемпературных процессов, как резка и сварка металлов. Основная особенность используемых для этой цели газогенераторов- отсутствие водяного затвора (вместо него установлен сухой шлакоудалитель). Зольная чаша была заменена герметичным кожухом с одним или двумя бункерами, из которых шлак периодически удаляли. Необходимое тепло получали, продувая через слой топлива воздух (фаза горячего дутья), благодаря чему развивались высокие температуры (850-900 °С). Затем в газогенератор подавали перегретый до 600-700 °С водяной пар, который, взаимодействуя с раскаленным топливом, образовывал целевой продукт-водяной газ (фаза холодного дутья). После снижения температуры до ~650 °С прекращали подачу пара и возобновляли воздушное дутье. Продолжительность фазы горячего дутья составляла ~1 мин, холодного ~3 мин.

В 20-х годах некоторое распространение получили безрешетчатые газогенераторы с плотным слоем топлива и жидким шлакоудалением. Это позволяло перерабатывать высокозольные топлива.

Рассмотренные способы газификации твердого топлива в плотном слое при атмосферном давлении в настоящее время почти утратили промышленное значение из-за невысокой производительности реакционной аппаратуры. Единственным вариантом такого процесса, достаточно широко используемым в промышленности, является газификация горючих сланцев. Как известно, при переработке сланцев образуется большое количество ценной смолы, для отгонки которой газогенератор снабжают высокой швельшахтой. Под ней расположена зона газификации полукокса, предназначенная для получения газа, который, поднимаясь в швельшахте, выполняет функцию внутреннего теплоносителя. Нижняя часть аппарата (рис.2) имеет вращающуюся чашу 1, заполненную водой, и колосниковую решетку 2, над которой располагается зона газификации полукокса, опускающегося из швельшахты 4. Ввиду высокой зольности полукокса тепло, выделяющееся при его газификации на воздушном дутье, обеспечивает лишь 60 % тепла, необходимого для полукоксования сланца в швельшахте. Поэтому в швельшахте размещена топка 5, в горелке 6 которой сжигают некоторую часть обратного газа (очищенного от паров смолы). Дымовые газы через дюзы 7 поступают в слой топлива и смешиваются с газообразными продуктами, поднимающимися из зоны газификации. Парогазовая смесь выводится из аппарата через газослив 9, а полукокс опускается в зону газификации.

Наиболее распространена в настоящее время газификация крупнозернистого топлива в плотном слое методом Lurgi, осуществляемым при повышенном давлении. Этот метод применяется на заводах разных стран мира, на которых эксплуатируется более 60 газогенераторов Lurgi. Ранее было показано, что увеличение давления позволяет существенно повысить теплоту сгорания получаемого газа за счет протекания реакций метанирования. Эти реакции экзотермичны, благодаря чему при Р = 2,8-3 МПа можно сократить потребность в кислороде на 30-35 %. Кроме того, одновременно возрастает производительность газогенератора (пропорционально давлению) и повышается КПД газификации.

В газогенераторе Lurgi (рис. 3) исходный уголь (размер частиц 5-30 мм) из бункера 2 периодически загружают в шахту 7 газогенератора, снабженную водяной рубашкой 12. При помощи охлаждаемого вращающегося распределителя 5 и перемешивающего устройства 6 топливо равномерно распределяется по сечению аппарата Парокислородное дутье подают под вращающуюся колосниковую решетку 11, на которой находится слой золы, способствующий равномерному распределению газифицирующего агента. При вращении колосниковой решетки избыточное количество золы с помощью ножей 8 сбрасывают в бункер 14. Образующийся в аппарате газ проходит скруббер 10, где предварительно очищается от угольной пыли и смолы (в случае необходимости смолу можно возвратить в шахту газогенератора). Вращение распределителя 5 и колосниковой решетки 11 осуществляется от приводов 4 и 9. В шахте газогенератора поддерживают давление ~3 МПа, поэтому, чтобы обеспечить безопасную загрузку топлива и выгрузку золы, каждый из бункеров 2 и 14 снабжают двумя конусообразными затворами (1, 3, 13 и 15). При загрузке топлива в бункер 2 затвор 1 открыт, а затвор 3 закрыт. Для передачи топлива в шахту затвор 1 закрывают, по обводной газовой линии соединяют бункер с шахтой газогенератора (для выравнивания давления) и открывают затвор 3. Перед следующей загрузкой топлива в бункер 2 закрывают затвор 3, сбрасывают газ в линию низкого давления, продувают бункер азотом или водяным паром, а затем открывают затвор 1. Аналогично осуществляют выгрузку золы из бункера 14. Типичный газогенератор Lurgi имеет диаметр 4 -5 м,, высоту 7-8 м (без бункеров) и производительность по углю 600-1000 т в сутки. Наряду с отмеченными выше достоинствами метода Lurgi следует указать, что в этом процессе приходится компримировать кислород, а не конечный газ, что значительно проще в технологическом отношении. Недостатки метода Lurgi:

- жесткие ограничения по размерам частиц – не менее 5 мм (так как при большом содержании мелочи снижается производительность аппарата);

- наряду с газификацией происходит термическое разложение топлива с образованием продуктов полукоксования, которые необходимо извлекать из газа и перерабатывать;

- низкая степень разложения водяного пара (30-40 %), вследствие чего остальное его количество при охлаждении газа конденсируется с образованием химически загрязненной воды, требующей тщательной очистки.

 

Рис 1. Газогенератор с вращающейся колосниковой решеткой:

1 – рельсовая опора, 2 – каток, 3 – чаша; 4 – «фартук», 5 – колосниковая решетка;6 – водяная рубашка, 7 – шахта, 8 – футеровка, 9 – газослив, 10 –загрузочное устройство, 11 – шуровочное отверстие; 12 – шлакоприемник, 13 – привод

 

 

Рис. 2. Газогенератор для переработки сланцев:

1 – чаша, 2 – колосниковая решетка, 3 – зона газификации, 4 – швелъшахта, 5 – топка, 6 – горелка, 7 – дюзы, 8 – футеровка, 9 – газослив, 10 – загрузочное устройство,11 – шуровочное отверстие, 12 – привод, 13 – каток, 14 – шлакоприемник

 

 

Рис.3. Газогенератор Lurgi:

1, 3, 13, 15 – затворы, 2, 14 – бункеры, 4, 9 – приводы, 5 – распределитель угля, 6 – перемешивающее устройство, 7 – шахта, 8 – ножи, 10 – скруббер, 11 – колосниковая решетка, 12 – водяная рубашка




Поделиться с друзьями:


Дата добавления: 2014-11-18; Просмотров: 1565; Нарушение авторских прав?; Мы поможем в написании вашей работы!


Нам важно ваше мнение! Был ли полезен опубликованный материал? Да | Нет



studopedia.su - Студопедия (2013 - 2025) год. Все материалы представленные на сайте исключительно с целью ознакомления читателями и не преследуют коммерческих целей или нарушение авторских прав! Последнее добавление




Генерация страницы за: 0.008 сек.