Студопедия

КАТЕГОРИИ:


Архитектура-(3434)Астрономия-(809)Биология-(7483)Биотехнологии-(1457)Военное дело-(14632)Высокие технологии-(1363)География-(913)Геология-(1438)Государство-(451)Демография-(1065)Дом-(47672)Журналистика и СМИ-(912)Изобретательство-(14524)Иностранные языки-(4268)Информатика-(17799)Искусство-(1338)История-(13644)Компьютеры-(11121)Косметика-(55)Кулинария-(373)Культура-(8427)Лингвистика-(374)Литература-(1642)Маркетинг-(23702)Математика-(16968)Машиностроение-(1700)Медицина-(12668)Менеджмент-(24684)Механика-(15423)Науковедение-(506)Образование-(11852)Охрана труда-(3308)Педагогика-(5571)Полиграфия-(1312)Политика-(7869)Право-(5454)Приборостроение-(1369)Программирование-(2801)Производство-(97182)Промышленность-(8706)Психология-(18388)Религия-(3217)Связь-(10668)Сельское хозяйство-(299)Социология-(6455)Спорт-(42831)Строительство-(4793)Торговля-(5050)Транспорт-(2929)Туризм-(1568)Физика-(3942)Философия-(17015)Финансы-(26596)Химия-(22929)Экология-(12095)Экономика-(9961)Электроника-(8441)Электротехника-(4623)Энергетика-(12629)Юриспруденция-(1492)Ядерная техника-(1748)

Приспособления. Примеры выбора расчетных параметров при расчете точности




Примеры выбора расчетных параметров при расчете точности

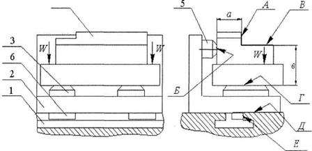
Пример 1.

В приспособлении фрезой 5 обрабатывается плоская поверхность А заготовки в размере а с допуском dа. Заготовка 4 устанавливается на установочные элементы (опорные пластины) 3 базовой поверхностью Б. Приспособление опорной поверхностью В корпуса 2 контактирует со столом 1 фрезерного станка (рис. 11.1). Так как направление расчетного параметра должно совпадать с направлением выполняемого при обработке заготовки размера и определять точность относительно положения рабочей поверхности установочных элементов (поверхность Б) и поверхности корпуса приспособления, контактирующей со станком (поверхность В), в качестве расчетного параметра следует принять либо допуск параллельности к определенной длине поверхности Б установочных элементов относительно поверхности В корпуса приспособления, либо допуск конструктивного заданного размера между поверхностью Б иВ приспособления.

 

Рис. 11.1. Установка приспособления опорной поверхностью В корпуса 2 на стол фрезерного станка.

 

Пример 2.

На фрезерном станке обрабатывается заготовка 4 по поверхностям А и В в размерах а и в сдопусками dа и dв. Базовыми поверхностями Б и Г заготовка устанавливается на опорные пластины 3 и 5 в корпусе 2 приспособления. Корпус контактирует со столом 1 фрезерного станка плоскостью Д. Его положение относительно Т-образных пазов стола обеспечивается направляющими шпонками 6 (рис. 11.2).

При анализе выполняемых размеров а и в, схем базирования и установки, можно установить, что допуск параллельности обрабатываемой поверхности А и В относительно Б и Г детали 4 может быть в пределах допуска dа и d. Положение заготовки будет определяться положением рабочих поверхностей установочных элементов 3 и 5 относительно поверхностей, контактирующих с поверхностями стола станка и определяющих положение приспособления на станке

В качестве расчетных здесь следует брать два параметра:

• допуск параллельности плоскости Г установочных элементов 3 относительно плоскости Д корпуса приспособления;

• допуск параллельности плоскости Б опорной пластины 5 и боковой поверхности Е направляющих шпонок 6 корпуса.

Рис. 11.2. Установка заготовки поверхностями А и В на стол фрезерного станка.

В случае, если допуск dа большой (например, 0,75 мм), а допуск dв, меньше (0,12 мм), то расчет приспособления следует вести по одному параметру, то есть допуску параллельности плоскости Г установочных элементов 3 и плоскости Д корпуса приспособления. Здесь допуск параллельности поверхности А и Б заготовки (на всей длине) принимается равным допуску dато есть 0,75 мм, так как это связывается с допустимым отклонением от // плоскости Б пластины 5 относительно боковой поверхности Е шпонок 6 (он принимается 1/2 или 1/3 приведенного допуска параллельности заготовки). Например, если длина детали 150 мм, длина пластины 5-50 мм, то допуск // на этой длине 0,25 мм. На чертеже приспособления следует указать допуск параллельности поверхности Б и боковой поверхности Е шпонок, равный 0,1 мм (0,25 (1/2,5) или 0,2 на длине 100 мм.

 

Пример 3.

Заготовка 2 устанавливается на наружную поверхность В тарельчатых пружин 7 по отверстию диаметром d и закрепляется закручиванием винта 5 в корпусе 1. При этом через детали 3, 4 и 6 осевая сила от винта 5 передается на пружины 7 (рис. 11.3).

Рис. 11.3. Установка заготовки на наружную поверхность тарельчатых пружин по отверстию.

 

Исходной величиной для расчета на точность является допуск соосности (допустимый эксцентриситет) осей отверстия диаметром d и наружной поверхности диаметром Д.

За расчетный параметр следует принять отклонение от соосности (эксцентриситет) установочной поверхности А корпуса (оси корпуса) приспособления и цилиндрической наружной поверхности В пружин 7. Именно от эксцентриситета осей поверхностей А и В будет зависеть точность изготовления детали по относительному расположению цилиндрических поверхностей.




Поделиться с друзьями:


Дата добавления: 2014-11-18; Просмотров: 850; Нарушение авторских прав?; Мы поможем в написании вашей работы!


Нам важно ваше мнение! Был ли полезен опубликованный материал? Да | Нет



studopedia.su - Студопедия (2013 - 2026) год. Все материалы представленные на сайте исключительно с целью ознакомления читателями и не преследуют коммерческих целей или нарушение авторских прав! Последнее добавление




Генерация страницы за: 0.013 сек.