Студопедия

КАТЕГОРИИ:


Архитектура-(3434)Астрономия-(809)Биология-(7483)Биотехнологии-(1457)Военное дело-(14632)Высокие технологии-(1363)География-(913)Геология-(1438)Государство-(451)Демография-(1065)Дом-(47672)Журналистика и СМИ-(912)Изобретательство-(14524)Иностранные языки-(4268)Информатика-(17799)Искусство-(1338)История-(13644)Компьютеры-(11121)Косметика-(55)Кулинария-(373)Культура-(8427)Лингвистика-(374)Литература-(1642)Маркетинг-(23702)Математика-(16968)Машиностроение-(1700)Медицина-(12668)Менеджмент-(24684)Механика-(15423)Науковедение-(506)Образование-(11852)Охрана труда-(3308)Педагогика-(5571)Полиграфия-(1312)Политика-(7869)Право-(5454)Приборостроение-(1369)Программирование-(2801)Производство-(97182)Промышленность-(8706)Психология-(18388)Религия-(3217)Связь-(10668)Сельское хозяйство-(299)Социология-(6455)Спорт-(42831)Строительство-(4793)Торговля-(5050)Транспорт-(2929)Туризм-(1568)Физика-(3942)Философия-(17015)Финансы-(26596)Химия-(22929)Экология-(12095)Экономика-(9961)Электроника-(8441)Электротехника-(4623)Энергетика-(12629)Юриспруденция-(1492)Ядерная техника-(1748)

Организация работ в электроустановках




Классификация изолирующих электрозащитных средств

Классификация технических способов и средств защиты от поражения электрическим током

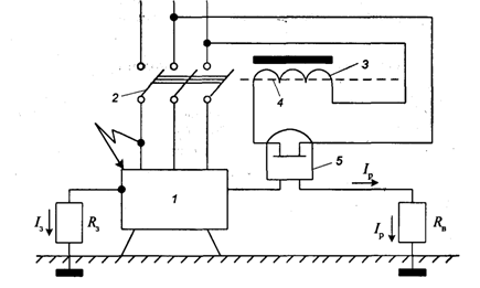
Принципиальная схема защитного отключения

Классификация защитного отключения

Устройство защитного отключения (УЗО)
Реагирующие на напряжение корпуса относительно земли
Реагирующие на дифференциальный (остаточный) ток
Реагирующие на комбинированный выходной сигнал
Реагирующие на ток замыкания на землю
Реагирующие на оперативный ток
Реагирующие на напряжение нулевой последовательности

1 – корпус электроустановки, 2- автоматический выключатель, 3 - отключающая катушка, 4 – сердечник катушки, 5 – реле максимального напряжения, Rз – сопротивление защитного заземления, Iз – ток замыкания, Iр – ток, протекающий через реле, Rв – сопротивление вспомогательного заземления

При замыкании фазного провода на заземленный или зануленный корпус электроустановки на нем возникает напряжение корпуса Vк . Если оно превышает заранее установленное предельно допустимое напряжение Vк доп (т. е. если Vк > Vк доп), срабатывает защитное отключающее устройство. Схема работает следующим образом. Вследствие разности потенциалов между корпусом электроустановки 1 и землей возникает ток Iр, который, проходя через реле 5, замыкает его контакты, подавая питание на отключающую катушку 3. Под влиянием возникшего электромагнитного поля внутрь нее втягивается сердечник 4, вызывая отключение автоматического выключателя 2, и установка обесточивается.

 

 


7.13. Методы защиты от статического электричества

Методы защиты от статического электричества
Исключение опасных проявлений образующегося статического электричества
Исключение условий образования зарядов статического электричества
Заземление технологического оборудования
Исключение воспламеняющих разрядов
Исключение условий воспламенения
Повышение электропроводимости диэлектриков
Повышение электропроводимости окружающей среды
Искровые разрядники
Перераспределение энергии электрического поля
Замена горючих сред негорючими
Снижение концентрации горючих веществ
Применение инертной среды
Уменьшение интенсивности электризации
Ограничение скорости ведения технологических процессов
Подбор контактирующих пар
Повышение влажности воздуха
Введение антистатических добавок
Введение электропроводящих наполнителей
Ионизация воздуха с помощью нейтрализаторов


Технические способы и средства защиты от поражения электрическим током
Защита от прямого прикосновения
Защита при прямом прикосновении
Защита при косвенном прикосновении
Основная изоляция токоведущих частей
Ограждения и оболочки
Установка барьеров
Размещение вне зоны досягаемости
Изолирование рабочего места
Электрозащитные средства
Защитное отключение
Применение сверхнизких напряжений (до 50 В)
Защитное шунтирование
Защитное электрическое разделение цепей
Выравнивание потенциалов
Защитное заземление
Автоматическое отключение питания
Уравнивание потенциалов
Выравнивание потенциалов
Защитное электрическое разделение цепей
Двойная или усиленная изоляция
Изолирующие помещения, зоны, площадки


Основные изолирующие электрозащитные средства
Дополнительные изолирующие электрозащитные средства
В электроустановках напряжением выше 1000 В
В электроустановках напряжением до 1000 В  
В электроустановках напряжением выше 1000 В  
В электроустановках напряжением до 1000 В  
Изолирующие штанги всех видов
Изолирующие клещи
Указатели напряжения
Устройства и приспособления для обеспечения безопасности работ при измерениях и испытаниях в электроустановках
электроизмерительные клещи
Диэлектрические перчатки
Ручной изолирующий инструмент
Диэлектрические ковры и изолирующие подставки
Изолирующие колпаки и накладки
Диэлектрические боты
Диэлектрические галоши
Штанги для переноса и выравнивания потенциалов
Лестницы приставные, стремянки изолирующие стеклопластиковые

а — основные средства: 1 — изолирующие клещи; 2 — гаечный ключ с изолирующими рукоятками; 3 — отвертка с изолирующими рукоятками; 4 — пассатижи с изолирующими рукоятками; 5, 6, 7 — указатели напряжения; 8 — токоизмерительные клещи; 9 — перчатки диэлектрические; б — дополнительные средства: 1 — галоши диэлектрические; 2 — боты диэлектрические; 3 — туфли антистатические; 4 — сапоги диэлектрические; 5 — диэлектрический ковер; 6 — диэлектрическая дорожка; 7 — изолирующая подставка  

Структура электротехнического персонала на предприятии

Ответственный за электрохозяйство и его заместитель
Электротехнологический персонал
Электротехнический персонал
Неэлектрический персонал
Административно-технический персонал
Оперативный персонал
Оперативно-ремонтный персонал
Ремонтный персонал




Поделиться с друзьями:


Дата добавления: 2014-12-08; Просмотров: 489; Нарушение авторских прав?; Мы поможем в написании вашей работы!


Нам важно ваше мнение! Был ли полезен опубликованный материал? Да | Нет



studopedia.su - Студопедия (2013 - 2026) год. Все материалы представленные на сайте исключительно с целью ознакомления читателями и не преследуют коммерческих целей или нарушение авторских прав! Последнее добавление




Генерация страницы за: 0.012 сек.